МФУ Brother MFC-8840D - инструкция пользователя по применению, эксплуатации и установке на русском языке. Мы надеемся, она поможет вам решить возникшие у вас вопросы при эксплуатации техники.
Если остались вопросы, задайте их в комментариях после инструкции.
"Загружаем инструкцию", означает, что нужно подождать пока файл загрузится и можно будет его читать онлайн. Некоторые инструкции очень большие и время их появления зависит от вашей скорости интернета.

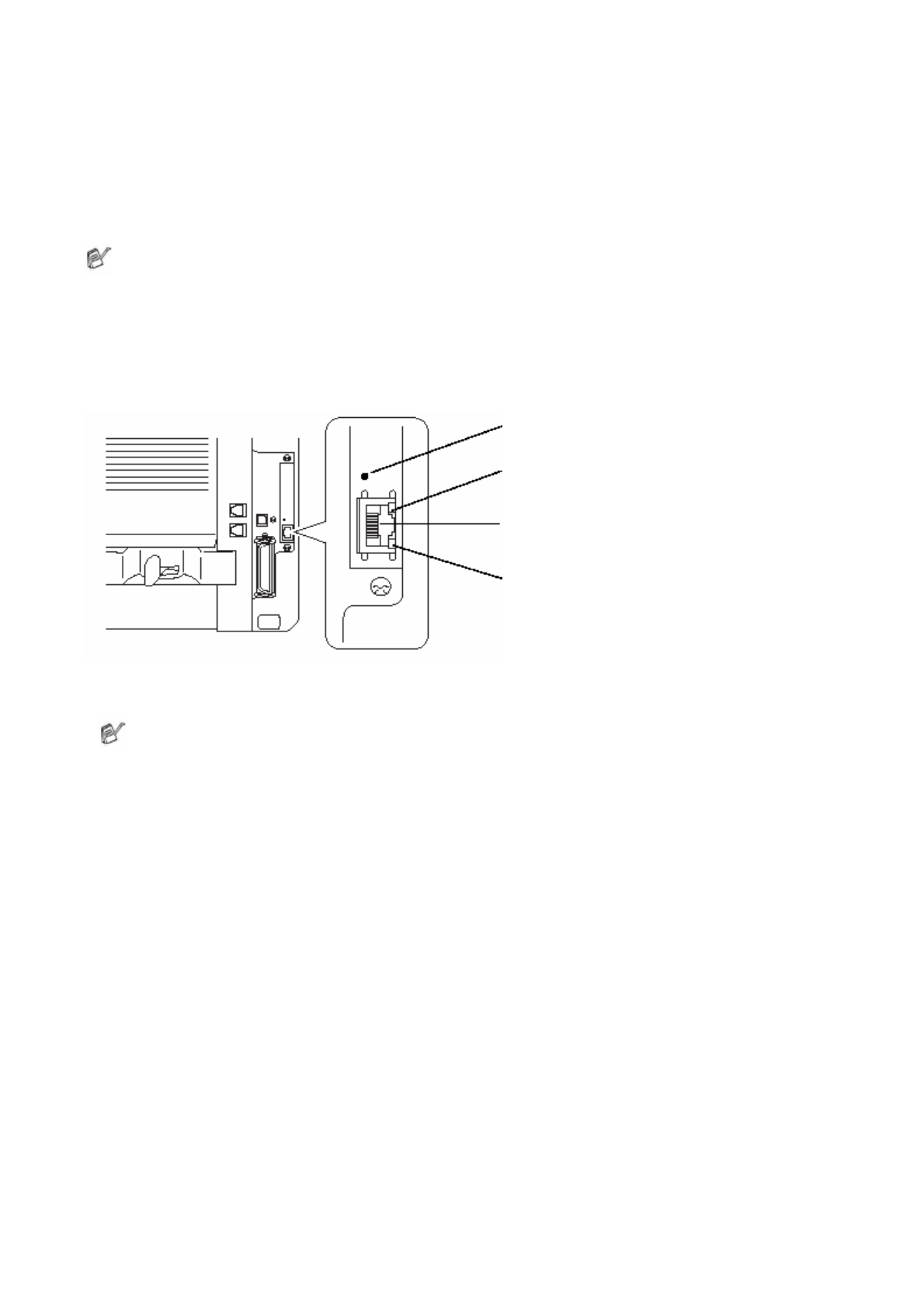
Светодиод
Link/Speed (
Связь
/
Скорость
)
светится
зеленым
светом
: Fast Ethernet
Этот
светодиод
Link/Speed
будет
светиться
зеленым
светом
,
если
сервер
печати
соединен
с
сетью
10BASE-TX
Ethernet.
Светодиод
Active (
Активность
)
светится
желтым
цветом
:
Светодиод
Active
будет
мигать
,
если
сервер
печати
принимает
или
передает
данные
.
Если
имеется
действительное
соединение
с
сетью
,
светодиод
будет
мигать
оранжевым
или
зеленым
цветом
.
ТЕСТОВАЯ
КНОПКА
Кратковременное
нажатие
:
распечатывает
страницу
сетевой
конфигурации
.
Длительное
нажатие
(
более
5
секунд
):
Сброс
сетевой
конфигурации
к
заводским
настройкам
,
используемым
по
умолчанию
.
Тестовая
кнопка
Светодиод
Соединитель
Ethernet RJ-45
Светодиод
Чтобы
настроить
МФЦ
для
работы
в
сети
,
обратитесь
к
Руководству
Пользователя
Сети
(NC-9100h)
на
прилагаемом
компакт
-
диске
.
23-10
ДОПОЛНИТЕЛЬНЫЕ
ПРИНАДЛЕЖНОСТИ