МФУ Brother MFC-425CN - инструкция пользователя по применению, эксплуатации и установке на русском языке. Мы надеемся, она поможет вам решить возникшие у вас вопросы при эксплуатации техники.
Если остались вопросы, задайте их в комментариях после инструкции.
"Загружаем инструкцию", означает, что нужно подождать пока файл загрузится и можно будет его читать онлайн. Некоторые инструкции очень большие и время их появления зависит от вашей скорости интернета.

ПЕЧАТЬ
ИЗ
WALK-UP PHOTOCAPTURE CENTER
™
9 - 3
Подготовка
к
работе
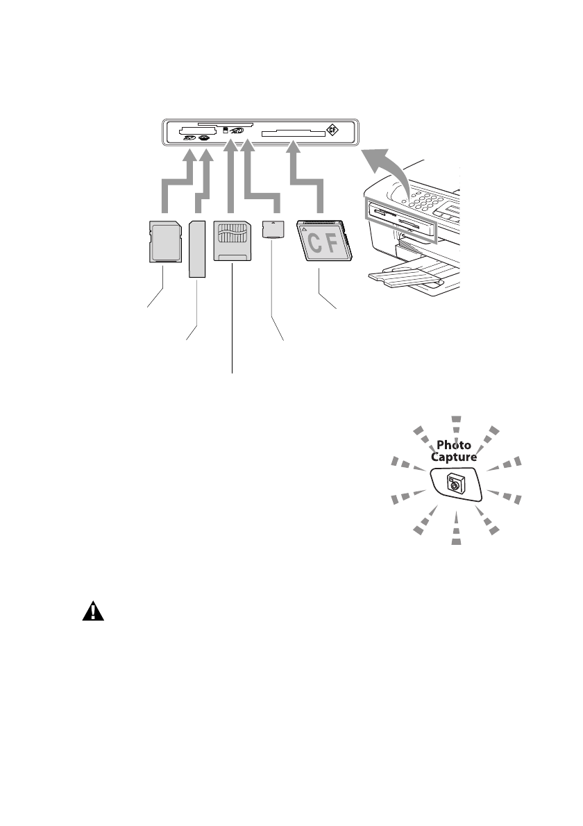
Вставьте
карту
памяти
в
кард
-
ридер
до
упора
.
Сигналы
кнопки
PhotoCapture
:
■
Подсветка
кнопки
PhotoCapture
ГОРИТ
,
карта
памяти
вставлена
правильно
.
■
Подсветка
кнопки
PhotoCapture
НЕ
ГОРИТ
,
карта
памяти
вставлена
неправильно
.
■
Подсветка
кнопки
PhotoCapture
МИГАЕТ
,
идет
считывание
или
запись
на
карту
памяти
.
Устройство
может
считывать
только
одну
карту
памяти
за
один
раз
.
Не
вставляйте
больше
одной
карты
.
Не
отсоединяйте
кабель
питания
и
не
вынимайте
карту
памяти
из
кард
-
ридера
(
слота
),
когда
устройство
читает
карту
памяти
или
записывает
данные
на
нее
(
подсветка
кнопки
PhotoCapture
мигает
).
Это
приведет
к
потере
данных
или
повреждению
карты
.
xD-Picture Card
™
SecureDigital
™
MultiMediaCard
™
Memory Stick
®
Memory Stick Pro
™
CompactFlash
®
SmartMedia
®
Содержание
- 5 iii; Меры; Безопасное; ВНИМАНИЕ
- 6 iv; ВАЖНЫЕ
- 7 Осторожно
- 8 Отправка; Fax; Запись
- 9 vii; Операции
- 10 viii; Просмотр; XXXX –
- 11 ix; Инструкции; PaperPort
- 12 PageManager
- 13 xi; Содержание; Введение; Call Minder; Подготовка
- 14 xii; Настройка
- 16 xiv; Печать
- 17 xv; Walk-Up PhotoCapture Center; PhotoCapture Center
- 18 xvi; Приложение
- 19 xvii
- 20 Как; Жирный; Курсив
- 21 Обзор
- 23 Переключение; Shutting Down
- 24 Power Save; Off; Для
- 25 Загрузка; Использование
- 28 Рекомендуемая; Бумага
- 29 Хранение
- 31 Legal
- 35 НЕ
- 37 факсимильных; Дополнительные
- 38 Тональные; Mono Start; Получение
- 39 Режим
- 40 Начальная; Pulse
- 41 Установка; Ввод
- 42 Выбор; PBX; Мини; Сохранение
- 43 Общая
- 44 Letter; ИЛИ
- 46 Набор
- 47 Mono; Нет
- 48 Real Time TX
- 49 Set Next Page
- 51 Основные; Setup Send; Auto; Next
- 52 Fax Resolution; Черно; Цветные; Сверхвысокое
- 54 Передача
- 55 No Jobs Waiting
- 56 Расширенные; Создание
- 57 Отмена; On; ВКЛ; ВЫКЛ; XXXXXXXX
- 60 Блокировка; до
- 62 Выключение
- 64 External TAD
- 66 Обнаружение; Управление
- 67 Setup Receive
- 68 Memory Receive
- 69 Стандартный
- 70 Безопасный
- 71 Последовательный
- 72 Ускоренный
- 73 Изменение
- 74 Setup Groups
- 76 Параметры
- 77 Backup; Функции; только; Fax Forward
- 78 Fax Storage; PC Fax Receive
- 79 PC Fax
- 80 ПК
- 82 Удаленное; Manual
- 83 Команды
- 85 Настройки
- 86 Report Setting
- 87 Процедура
- 88 Вход; Copy; Копирование
- 90 Кнопка
- 91 Copy Options; Set temporarily
- 92 Quality; Normal
- 93 Увеличить
- 95 Формат; Яркость
- 96 Сортировка; Складывать
- 97 Page; Если
- 98 Glossy
- 99 Книжная
- 100 Нормально
- 101 Red
- 102 Правовые
- 104 Требования
- 106 DPOF; Печатать; Colour Start
- 108 Print Images
- 109 Тип
- 110 Select
- 113 Баланс
- 114 Обрезка
- 115 Сканирование; PDF; Scan; Scan to Card
- 116 TIFF
- 118 Программные
- 120 International; International E; Важная
- 124 Сообщения; Устранение
- 128 Замятие
- 129 Сбой
- 132 Проблемы
- 138 No
- 139 Повышение; Очистка; Ink Management; Контроль; Cleaning
- 140 Проверка; Test Print; Yes
- 142 Тестовая; Да
- 143 Ink Volume
- 144 Упаковка; Замена
- 147 Текущее
- 150 Ink Empty Black
- 152 нового; Install
- 154 Услуги; BT Call Sign
- 155 Receiving; Start
- 157 Подключение; Телефон
- 158 Принцип; внешний
- 159 Не
- 161 BT, Kingston upon Hull Telecommunications,
- 163 Прием
- 164 Таблица
- 165 Кнопки; Accepted
- 176 Специальные; Ä Ë Ö Ü À Ç È É
- 177 Глоссарий
- 179 ScanSoft
- 182 Технические
- 184 Подача; Выход
- 188 Сканер; TWAIN; WIA
- 189 USB
- 192 Локальная
- 193 Алфавитный; PhotoCapture CenterTM
- 199 Карта; Сложить