МФУ Brother MFC-215C - инструкция пользователя по применению, эксплуатации и установке на русском языке. Мы надеемся, она поможет вам решить возникшие у вас вопросы при эксплуатации техники.
Если остались вопросы, задайте их в комментариях после инструкции.
"Загружаем инструкцию", означает, что нужно подождать пока файл загрузится и можно будет его читать онлайн. Некоторые инструкции очень большие и время их появления зависит от вашей скорости интернета.

WALK-UP PHOTOCAPTURE CENTER
™
8 - 3
Начало
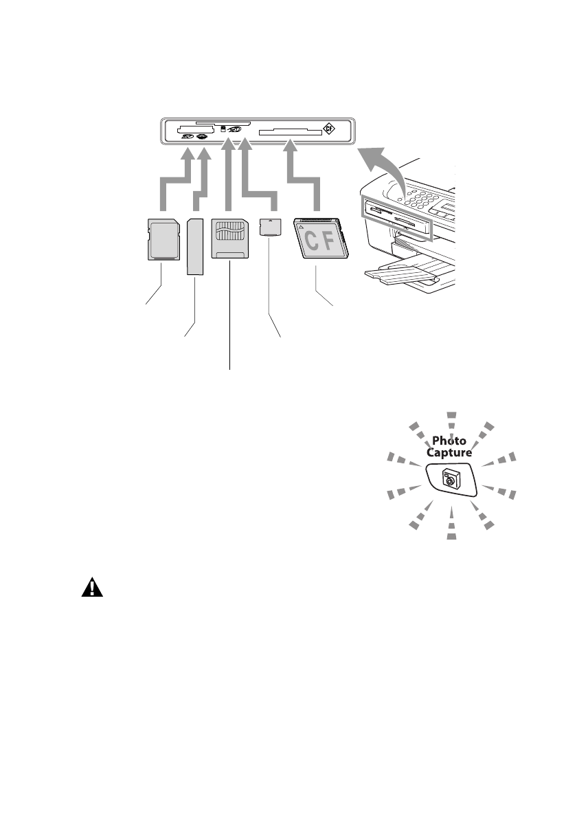
Вставьте
карту
в
соответствующий
слот
до
конца
.
Значения
индикатора
PhotoCapture
:
■
Лампочка
PhotoCapture
горит
–
карта
памяти
вставлена
верно
.
■
Лампочка
PhotoCapture
не
горит
–
карта
памяти
вставлена
неверно
.
■
Лампочка
PhotoCapture
мигает
–
аппарат
читает
карту
памяти
или
записывает
на
нее
данные
.
Аппарат
может
читать
только
одну
карту
памяти
единовременно
.
Не
вставляйте
больше
одной
карты
.
Не
отключайте
шнур
питания
и
не
вынимайте
карту
памяти
из
разъема
(
слота
),
когда
аппарат
читает
карту
памяти
или
записывает
на
нее
данные
(
лампочка
PhotoCapture
мигает
).
Это
приведет
к
потере
данных
или
повреждению
карты
.
xD-Picture Card
™
SecureDigital
™
MultiMediaCard
™
Memory Stick
®
Memory Stick Pro
™
CompactFlash
®
SmartMedia
®
Содержание
- 3 Примечание
- 4 Меры; Безопасное
- 5 ИНСТРУКЦИИ
- 6 Выбор
- 7 Сохранение
- 8 Быстрый; Копирование
- 9 Доступ; Просмотр; Пуск; ИЛИ
- 10 Поиск; PaperPort
- 11 Macintosh; Mac OS; PageManager
- 12 Содержание
- 17 Как; Полужирный
- 18 Панель
- 20 Переключение; Экономия
- 21 Fax; Нажмите; Off
- 22 Загрузка; Использование; Поднимите
- 23 Рекомендуемая; Бумага; Меню
- 24 Хранение
- 26 Legal
- 27 Область
- 30 НЕ
- 32 факсимильных; Тональные; старт; Receiving; Стоп
- 33 Режим
- 34 Начальная; Pulse; Начало
- 35 Задание; Ввод
- 36 PBX; Офисная
- 37 Общая
- 40 Вход; Факс; Набор; Ручной
- 41 Not Registered
- 42 Отправка; Передача; Real Time TX
- 44 Автоматическая; Ручная
- 45 Основные; Setup Send; Auto
- 46 Разрешение; Черно
- 47 Out of Memory
- 49 No
- 50 Расширенные
- 51 Отмена; On
- 52 Блокировка
- 53 Set TX Lock
- 57 Обнаружение
- 58 Печать
- 59 No Paper Fed; Memory Receive
- 65 Настройки; Индивидуальная
- 66 Every 50 Faxes
- 67 Порядок
- 68 Переход
- 70 Опции; Клавиша
- 71 Set temporarily
- 73 LTR
- 74 Paper Type
- 75 Paper Size
- 76 Normal
- 77 Red
- 78 Ограничения
- 79 Walk-Up PhotoCapture
- 80 Требования
- 82 DPOF
- 83 Print Index
- 84 Print Images
- 91 Программные
- 93 Для; International E; Важная
- 96 Торговые
- 97 Сообщения; Solutions Center; Устранение
- 100 Сбой; Замятие
- 103 При; Brother Solutions Center
- 108 Установка
- 109 Улучшение; Чистка; Cleaning
- 110 Test Print; Проверка; Yes
- 113 Ink Volume
- 114 Упаковка; Замена
- 117 Очистка
- 120 Ink Empty Black
- 122 Near Empty; Ink
- 124 Старт; Тел; Приложение
- 126 Подключение; Telephone
- 127 Последовательность; внешний
- 128 Подключения; External TAD
- 129 Запись
- 130 Manual
- 131 Программирование; Таблица; Fine
- 132 Клавиши; Accepted
- 139 Специальные
- 140 Глоссарий
- 141 RX
- 142 Повтор
- 144 Технические
- 150 Сканер
- 154 Указатель