Метеостанции Oregon Scientific BAR628HG/HGU - инструкция пользователя по применению, эксплуатации и установке на русском языке. Мы надеемся, она поможет вам решить возникшие у вас вопросы при эксплуатации техники.
Если остались вопросы, задайте их в комментариях после инструкции.
"Загружаем инструкцию", означает, что нужно подождать пока файл загрузится и можно будет его читать онлайн. Некоторые инструкции очень большие и время их появления зависит от вашей скорости интернета.

10
БУДИЛЬНИК
Конструкция
устройства
включает
в
себя
будильник
с
двухминутным
сигналом
возрастающей
громкости
.
ПРОСМОТР
ДАННЫХ
БУДИЛЬНИКА
Для
отображения
в
Окне
часов
статуса
будильника
(
вкл
/
выкл
)
и
времени
его
срабатывания
нажмите
кнопку
.
УСТАНОВКА
БУДИЛЬНИКА
1.
Нажатием
кнопки
отобразите
на
дисплее
устройства
данные
будильника
.
2.
Вновь
нажмите
кнопку
и
удерживайте
ее
в
течение
двух
секунд
.
В
результате
будут
мигать
цифры
часа
срабатывания
будильника
.
3.
При
помощи
кнопок
▲
и
▼
установите
часы
и
минуты
срабатывания
будильника
.
Для
подтверждения
каждой
из
сделанных
установок
воспользуйтесь
кнопкой
.
ВКЛЮЧЕНИЕ
БУДИЛЬНИКА
Для
включения
или
выключения
будильника
нажмите
кнопку
.
При
включенном
будильнике
на
дисплее
устройства
в
Окне
часов
и
будильника
присутствует
индикатор
.
ВЫКЛЮЧЕНИЕ
СИГНАЛА
БУДИЛЬНИКА
По
наступлении
установленного
времени
срабатывания
будильника
раздастся
звуковой
сигнал
с
нарастающим
уровнем
громкости
.
Продолжительность
сигнала
– 2
минуты
.
Для
его
выключения
:
•
Нажмите
кнопку
СПЯЩИЙ
РЕЖИМ
(SNOOZE)
.
Сигнал
повторится
через
8
минут
.
ИЛИ
•
Нажмите
любую
кнопку
за
исключением
кнопки
СПЯЩИЙ
РЕЖИМ
(SNOOZE)
.
Сигнал
повторится
на
следующий
день
в
установленное
время
.
Если
в
процессе
звучания
сигнала
будильника
не
будет
нажата
ни
одна
из
кнопок
,
сигнал
автоматически
выключится
по
прошествии
двух
минут
и
вновь
повторится
через
восемь
минут
.
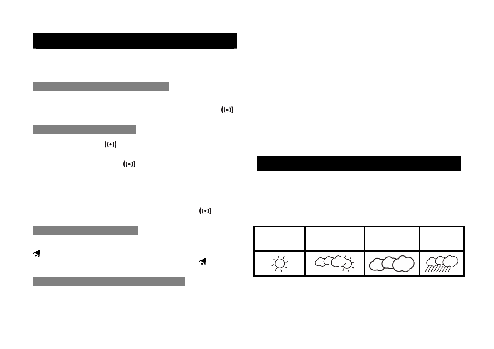
ПРОГНОЗ
ПОГОДЫ
Устройство
прогнозирует
погоду
на
ближайшие
12-24
часа
на
территории
в
радиусе
30-50
км
(19-31
мили
)
от
своего
местонахождения
.
Точность
прогноза
составляет
70-75%.
Пиктограммы
прогноза
погоды
постоянно
присутствуют
на
дисплея
прибора
.
СОЛНЕЧНО
ПЕРЕМЕННАЯ
ОБЛАЧНОСТЬ
ОБЛАЧНО
ОСАДКИ




