Материнские платы GIGABYTE GA 8GNXP D - инструкция пользователя по применению, эксплуатации и установке на русском языке. Мы надеемся, она поможет вам решить возникшие у вас вопросы при эксплуатации техники.
Если остались вопросы, задайте их в комментариях после инструкции.
"Загружаем инструкцию", означает, что нужно подождать пока файл загрузится и можно будет его читать онлайн. Некоторые инструкции очень большие и время их появления зависит от вашей скорости интернета.

ПРИМЕЧАНИЕПРИМЕЧАНИЕПРИМЕЧАНИЕПРИМЕЧАНИЕПРИМЕЧАНИЕ
20
Как
работают
параметры
Ниже
описаны
параметры,
установки
которых
можно
менять
в
режиме
редак%
тирования
параметров.
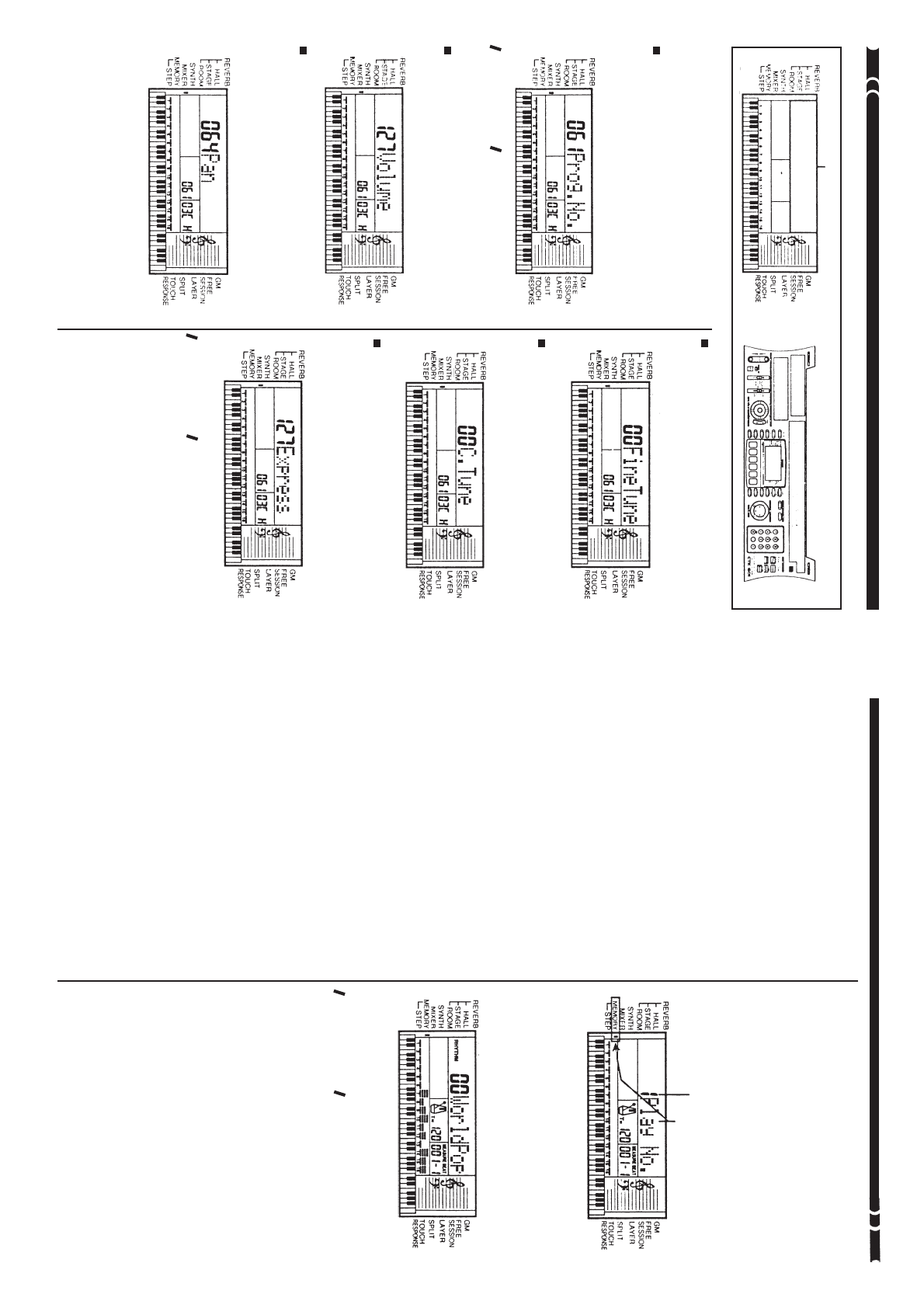
Номер
изменения
программы
(от
“000”
до
“199”)
Этот
параметр
контролирует
тон,
присвоенный
определенному
каналу.
Дисплей
2
Для
канала
1
0
можно
выбирать
только
тона,
имеющие
номера
с
160%го
(“DRUM
SET
1”
[Комплект
барабанов
1])
по
167%й
“DRUM
SET
8”
[Комплект
барабанов
8].
Громкость
(от
“000”
до
“127”)
Этот
параметр
контролирует
громкость
выбранного
канала.
Дисплей
2
Панорама
(от
“000”
до
“127”)
Этот
параметр
контролирует
стерео
позицию,
являющуюся
центральной
точ%
кой
левого
и
правого
стерео
каналов.
Установка
значения
“64”
задает
централь%
ную
стерео
позицию.
Установка
меньших
значений
перемещает
стерео
пози%
цию
влево,
а
установка
больших
значений
%
вправо.
Дисплей
2
Дисплей
2
ПРИМЕЧАНИЕПРИМЕЧАНИЕПРИМЕЧАНИЕПРИМЕЧАНИЕПРИМЕЧАНИЕ
Тонкая
настройка
(от
“,50”
до
“+50”)
Этот
параметр
контролирует
тонкую
настройку
высоты
тона
выбранного
кана%
ла.
Шаг
изменения
составляет
1
цент.
Дисплей
2
Грубая
настройка
(от
“,12”
до
“+12”)
Этот
параметр
контролирует
грубую
настройку
высоты
тона
выбранного
кана%
ла.
Шаг
изменения
составляет
1
полутон.
Дисплей
2
Экспрессия
(от
“000”
до
“127”)
Этот
параметр
контролирует
громкость
выбранного
тона.
Хотя
он
работает
ана%
логично
параметру
громкости,
однако
две
установки
уровня
громкости
обеспе%
чивают
лучший
контроль
за
громкостью
каналов
для
настольных
музыкальных
систем.
Дисплей
2
Смена
установок
микшера
приводит
к
тому,
что
на
выходное
гнездо
системы
“MIDI”
подаются
соответствующие
сигналы
системы
“MIDI”.
29
Хранение
данных,
содержащихся
в
памяти
●●●●●
Всякий
раз,
когда
вы
делаете
запись,
старые
звуковые
данные
заменяются
новыми.
●●●●●
Данные
будут
сохраняться
в
памяти
до
тех
пор,
пока
музыкальный
инстру%
мент будет подключен к источнику питания. Если адаптер переменного тока
будет
отсоединен
от
электрической
розетки,
а
музыкальный
инструмент
ока%
жется
без
установленных
в
нем
батарей,
или
батареи
будут
разряженными,
то
все
данные,
хранящиеся
в
памяти,
будут
потеряны.
Прежде
чем
выпол%
нять
замену
батарей,
убедитесь,
что
подача
энергии
на
инструмент
осуще%
ствляется
через
адаптер
переменного
тока.
●●●●●
Если
вы
отключите
питание
инструмента
во
время
записи,
то
данные,
хра%
нящиеся
на
дорожке,
на
которую
вы
в
данный
момент
производите
запись,
будут
потеряны.
●●●●●
Помните,
что
вы
можете
сбросить
содержимое
памяти
на
другое
устрой%
ство
системы
“MIDI”,
воспользовавшись
процедурой,
описанной
в
разделе
“Передача
и
прием
всех
внутренних
данных
в
целом”
на
стр.
46.
Вариации
записи
на
дорожку
1
в
реальном
времени
Ниже
приведен
ряд
вариаций,
которыми
вы
можете
воспользоваться
при
запи%
си
на
дорожку
1
в
реальном
времени.
Все
эти
вариации
основаны
на
процеду%
ре,
описанной
в
разделе
“Как
вести
запись
в
реальном
времени”
на
стр.
27.
1)
Как
выполнить
запись
без
ритма
Пропустите
операцию,
описанную
в
пункте
5.
Запись
в
реальном
времени
без
ритма
начнется
после
того,
как
вы
нажмете
какую%нибудь
клавишу
на
клавиатуре.
2)
Как
начать
запись,
используя
синхронный
старт
Вместо
выполнения
операции,
описанной
в
пункте
5,
нажмите
кнопку
“SYNCHRO/
ENDING”
[Синхронизация
/
Концовка].
Когда
вы
исполните
аккорд
на
клавиату%
ре
аккомпанемента,
начнется
запись
и
исполнение
авто%аккомпанемента.
3
)
Как
выполнить
запись
с
использованием
модели
вступления,
кон,
цовки
или
вставки
В
процессе
записи
вы
можете
использовать
кнопки
“INTRO”
[Вступление],
“SYNCHRO/ENDING”
[Синхронизация
/
Концовка],
“NORMAL/FILL%IN”
[Обычное
исполнение
/
Вставка]
и
“VAR/FILL%IN”
[Вариация
/
Вставка]
(стр.
15
%
16)
так
же,
как
вы
делаете
это
обычно.
4)
Как
начать
исполнение
авто,аккомпанемента
и
модели
вступле,
ния
с
помощью
синхронного
старта
Вместо
выполнения
операции,
описанной
в
пункте
5,
нажмите
кнопку
“SYNCHRO/
ENDING”
[Синхронизация
/
Концовка],
а
затем
кнопку
“INTRO”
[Вступление].
Когда
вы
исполните
аккорд
на
клавиатуре
аккомпанемента,
начнется
исполне%
ние
авто%аккомпанемента
и
модели
вступления.
5
)
Как
начать
исполнение
авто,аккомпанемента
через
некоторое
вре,
мя
после
начала
записи
Вместо
выполнения
операции,
описанной
в
пункте
5,
нажмите
кнопку
“SYNCHRO/
ENDING”
[Синхронизация
/
Концовка],
а
затем
сыграйте
что%нибудь
на
клавиа%
туре
мелодии,
чтобы
запустить
аккомпанемент.
Когда
вы
захотите
начать
ис%
полнение
авто%аккомпанемента,
исполните
аккорд
на
клавиатуре
аккомпане%
мента.
6
)
Как
осуществить
запись
во
время
использования
свободного
сеанса
После
выполнения
операции,
описанной
в
пункте
4,
нажмите
кнопку
“FREE
SESSION”
[Свободный
сеанс].
После
этого
вся
клавиатура
инструмента
станет
клавиатурой
мелодии,
вне
зависимости
от
установки
переключателя
режимов
“MODE”
[Режим].
Если
вы
нажмете
кнопку
“FREE
SESSION”
[Свободный
сеанс]
во
вре,
мя
записи
с
использованием
с
вободного
с
еанса,
то
исполнение
с
во,
бодного
сеанса
будет
прекращено,
но
будет
продолжать
исполнять,
ся
аккорд,
звучавший
в
момент
отключения
свободного
сеанса.
Вы
можете
задать
другой
аккорд,
используя
метод,
соответствующий
выбранному
в
данный
момент
режиму
(“FINGERED”
[Игра
руками],
“CASIO
CHORD”
[Система
аккордов
CASIO]
и
т.д.).
Воспроизведение
звуковых
данных,
Воспроизведение
звуковых
данных,
Воспроизведение
звуковых
данных,
Воспроизведение
звуковых
данных,
Воспроизведение
звуковых
данных,
хранящихся в памятихранящихся в памятихранящихся в памятихранящихся в памятихранящихся в памяти
Записав
звуковые
данные
на
дорожки
памяти,
вы
можете
воспроизвести
их
и
прослушать
получившиеся
музыкальные
произведения.
Как
воспроизвести
звуковые
данные,
хранящиеся
в
памяти
1.
Нажав
кнопку
“MEMORY”
[Память],
войдите
в
режим
ожидания
вос,
произведения,
а
затем
при
помощи
кнопок
[+]
и
[,]
выберите
но,
мер
песни
(0/1).
Дисплей
2
Номер
песни
остается
на
экране
в
течение
примерно
пяти
секунд.
Если
он
исчезнет
до
того,
как
вы
выберете
песню,
еще
раз
нажмите
кнопку
“MEMORY”
[Память],
чтобы
с
нова
вывести
его
на
экран.
2.
Нажмите
кнопку
“START/STOP”
[Запуск
/
Остановка],
чтобы
вос,
произвести
выбранную
вами
песню.
●●●●●
Вы можете отрегулировать темп воспроизведения песни, воспользовав%
шись
кнопкой
“TEMPO”
[Темп]
Дисплей
2
●●●●●
Нажмите
кнопку
“START/STOP”
[Запуск
/
Остановка]
еще
раз,
чтобы
остано%
вить
воспроизведение.
●●●●●
Во
время
воспроизведения
вы
можете
играть
на
клавиатуре,
используя
фун%
кцию
наложения
тонов
(стр.
38)
и
р
азделения
клавиатуры
(стр.
39).
●●●●●
После
нажатия
кнопки
“START/STOP”
[Запуск
/
Остановка]
песня
воспроиз%
водится
всегда
с
самого
начала.
●●●●●
С
помощью
микшера
вы
можете
установить
громкость
и
стерео
позицию
для
дорожек,
с
которых
ведется
воспроизведение.
Эти
установочные
д
ан%
ные
подаются
на
выходное
гнездо
“MIDI
OUT”
[Выход
системы
“MIDI”].
●●●●●
Вся
клавиатура
инструмента
функционирует
как
клавиатура
мелодии,
вне
зависимости
от
установки
переключателя.
Номер
песни
Режим
ожидания
воспроизведения
ПРИМЕЧАНИЕПРИМЕЧАНИЕПРИМЕЧАНИЕПРИМЕЧАНИЕПРИМЕЧАНИЕ