Магнитолы Supra SWD-603 - инструкция пользователя по применению, эксплуатации и установке на русском языке. Мы надеемся, она поможет вам решить возникшие у вас вопросы при эксплуатации техники.
Если остались вопросы, задайте их в комментариях после инструкции.
"Загружаем инструкцию", означает, что нужно подождать пока файл загрузится и можно будет его читать онлайн. Некоторые инструкции очень большие и время их появления зависит от вашей скорости интернета.

-7-
РУКОВОДСТВО ПО ЭКСПЛУАТАЦИИ · SWD-603
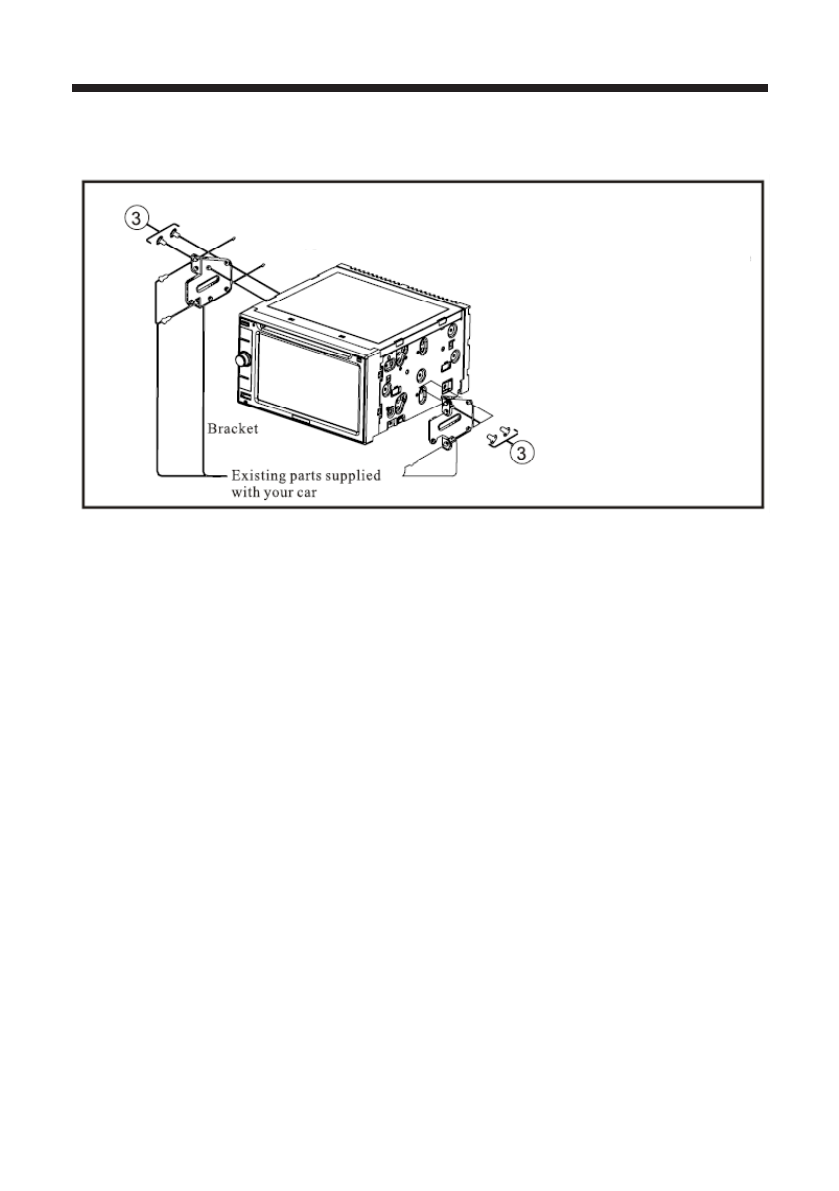
Вариант монтажа для некоторых японских марок автомобилей
Расположение монтажных отверстий может отличаться для различных автомобилей.
Примечание:
1. Храните мелкие монтажные детали в недоступном для детей месте.
2. Используйте для монтажа винты, входящие в комплект поставки.
3. Монтаж может отличаться в зависимости от типа автомобиля. Монтаж должен осу-
ществляться квалифицированными специалистами.
Содержание
- 2 СОДЕРЖАНИЕ; РУКОВОДСТВО ПО ЭКСПЛУАТАЦИИ · SWD-603
- 4 Аппарат воспроизводит следующие диски:
- 6 Комплектующие
- 7 Вариант монтажа для некоторых японских марок автомобилей
- 13 RPT
- 14 MODE; SYS
- 15 МЕНЮ НАСТРОЕК АППАРАТА; Основные настройки
- 17 Поиск альтернативных частот; Поиск станций по типу программ
- 18 КАМЕРА ЗАДНЕГО ВИДА; УПРАВЛЕНИЕ ТВ-ТЮНЕРОМ; Автоматический поиск каналов
- 20 ПУЛЬТ ДУ
- 21 Отключение звука; DU; Регулировка уровня громкости
- 25 СИСТЕМНЫЕ НАСТРОйКИ; Система цветности; Формат изображения
- 26 Восстановление заводских настроек; ЯЗЫКОВЫЕ НАСТРОйКИ; Язык экранного меню
- 27 НАСТРОйКИ АУДИО; Настройка тона звука
- 28 НАСТРОйКА ВИДЕО; Яркость
- 30 Проблема
- 31 ТЕХНИЧЕСКИЕ ХАРАКТЕРИСТИКИ; Основные характеристики
- 32 FM радио