Магнитолы Sony XAV-63 - инструкция пользователя по применению, эксплуатации и установке на русском языке. Мы надеемся, она поможет вам решить возникшие у вас вопросы при эксплуатации техники.
Если остались вопросы, задайте их в комментариях после инструкции.
"Загружаем инструкцию", означает, что нужно подождать пока файл загрузится и можно будет его читать онлайн. Некоторые инструкции очень большие и время их появления зависит от вашей скорости интернета.

11
Розташування та функції елементів керування/
терміналів
Основний пристрій
Докладну інформацію див. на сторінках,
вказаних нижче.
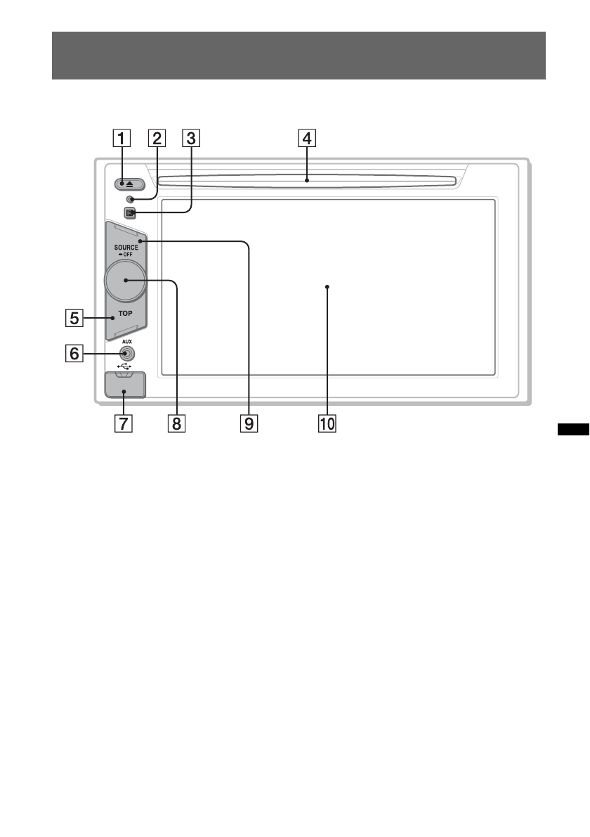
A
Кнопка
Z
(виймання)
B
Кнопка скидання
C
Приймач сигналів від пульта
дистанційного керування
D
Гніздо диска
E
Кнопка TOP
Для моделі XAV-64BT
Натисніть, щоб відкрити головне
меню.
Для моделі XAV-63
Натисніть, щоб відкрити список
джерел.
F
Передній термінал AUX
G
Термінал USB
Зніміть кришку, щоб підключити
пристрій USB.
H
Диск керування гучністю
I
Кнопка SOURCE/OFF
Натисніть, щоб увімкнути живлення
або змінити джерело: «Тюнер» (радіо),
«Диск», «iPod/USB», «AUX»
(додаткове обладнання), «BT аудио»
(аудіо Bluetooth)
*
.
Натисніть і потримайте протягом
1 секунди, щоб припинити
використання джерела.
Натисніть і потримайте більше
2 секунд для вимкнення.
J
Дисплей/сенсорна панель
*
Доступно лише для моделі XAV-64BT.
Содержание
- 4 Содержание; Начало работы
- 7 Предотвращение несчастного случая
- 8 Авторские права
- 9 Предупреждение; Управление автомобилем
- 10 Экстренные вызовы
- 11 Обозначение типа диска в
- 12 Основное устройство
- 13 Отображаемые экраны
- 14 Установка часов; Нажмите “Настройка часов”.
- 15 Радиоприемник; Элементы управления приемом
- 16 Индикация во время приема; Сохранение вручную; “Меню приема”; qa
- 17 RDS; Обзор; Индикация на дисплее; Услуги RDS; Настройка AF и TA; AF
- 18 Выбор PTY; Типы программ; Настройка CT; “Documentary”
- 19 Диски; Воспроизведение дисков; Если появляется меню DVD; Если диск содержит файлы JPEG; Извлечение диска; Нажмите кнопку
- 23 Смена аудиоканала; “Стерео”
- 25 VCD; С помощью кнопок; Работа с устройствами USB
- 26 “Дисковод”
- 28 Нажмите нужный канал.
- 29 Список каналов; Основные каналы
- 31 Действие
- 32 Операции с iPod; Воспроизведение iPod; Остановка воспроизведения
- 33 Воспроизведение аудио
- 34 Полезные функции; Нажмите нужный элемент.
- 35 Выбор типа файла; Для выбора типа файлов нажмите
- 37 Согласование
- 38 Подключение; Подключение сотового телефона; Подключение аудиоустройства; Коснитесь “Подключение”.
- 39 Отсоединение; Выполнение вызовов; Набор телефонного номера; Нажмите
- 41 Прием вызовов; Для ответа на вызов; Операции во время вызова
- 42 Завершение вызова; Предустановленный набор; Сохранение из телефонной книги
- 43 Аудиопотоки; Параметры Bluetooth; Выберите источник Bluetooth.; “Меню BT”; “Сигнал”
- 44 Настройка звучания; “Мелодия звонка”
- 48 Регулировка монитора
- 49 Настройка изображения; Нажмите нужный параметр.; “Обычный”
- 50 Настройки; “Общее”
- 51 Общие настройки; Español
- 54 Настройки звука; Элемент
- 55 CSO
- 56 RBE; Обратно
- 57 Настройки экрана; Тема экрана; Демонстрация; ВЫКЛ
- 58 Настройки DVD и прочие настройки воспроизведения; Язык меню DVD; Стерео; Прямой поиск DVD; глава
- 59 Тип монитора; Возобновление USB
- 62 Диск; qd
- 63 Камера заднего вида; Настройки камеры заднего вида
- 64 Отображение маркерных линий; bB; Дополнительная информация; Меры предосторожности; Конденсация влаги
- 66 О файлах MP3; О файлах WMA; О файлах AAC
- 67 О файлах JPEG; соответствующие следующим; О iPod; Только к модели XAV-64BT применимо; Что такое технология Bluetooth?
- 68 Прочее; Уход за устройством
- 69 Извлечение устройства; Монитор; FM
- 70 Код региона; Компьютер
- 71 Общая информация
- 72 Изображение
- 73 Воспроизведение USB