Магнитолы Sony XAV-601BT - инструкция пользователя по применению, эксплуатации и установке на русском языке. Мы надеемся, она поможет вам решить возникшие у вас вопросы при эксплуатации техники.
Если остались вопросы, задайте их в комментариях после инструкции.
"Загружаем инструкцию", означает, что нужно подождать пока файл загрузится и можно будет его читать онлайн. Некоторые инструкции очень большие и время их появления зависит от вашей скорости интернета.

12
Расположение и функции органов управления
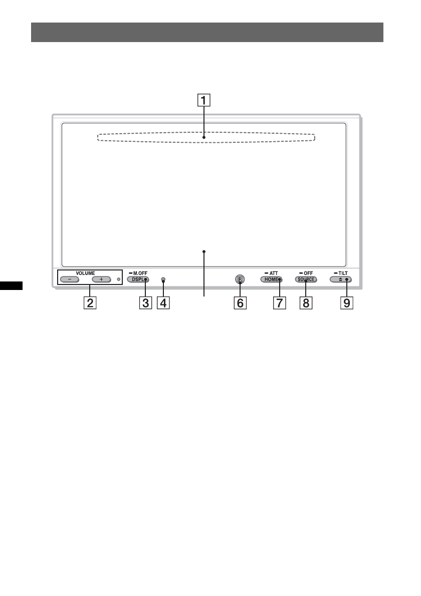
Основное устройство
XAV-741/701BT
Дополнительные сведения см. на
указанных ниже страницах.
A
Слот для дисков
(расположена за передней панель
þ)
B
Кнопки VOL (громкость) –/+
*
1
C
Кнопка DSPL/M.OFF
Нажмите для смены отображаемых
элементов.
Нажмите и удерживайте для
выключения монитора и подсветки
кнопок. Чтобы снова включить,
коснитесь любого места на дисплее.
D
Кнопка сброса
E
Дисплей/сенсорный экран
F
Приемник сигналов с пульта
дистанционного управления
G
Кнопка HOME/ATT
Нажмите для открытия главного
меню.
Нажмите и удерживайте для
приглушения звука.
H
Кнопка SOURCE/OFF
Нажмите для включения питания/
смены источника: “Тюнер”
(радиоприемник), “MirrorLink™ ”,
“iPod”, “USB Музыка”, “Видео USB”,
“Диск”, “BT аудио” (Bluetooth-
аудио)
*
2
, “AUX” (дополнительное
оборудование).
Нажмите и удерживайте в течение
1 секунды для отключения от
источника.
Нажмите и удерживайте более
2 секунд для выключения.
I
Кнопка
Z
TILT (извлечение)
Нажмите и удерживайте для
регулировки угла наклона монитора.
*1
Справа от кнопки VOL + находится
специальный выступ.
*2
Доступно только для модели XAV-701BT.
5
Содержание
- 4 Содержание; Начало работы
- 8 Авторские права
- 9 Предупреждение; Управление автомобилем
- 10 Экстренные вызовы
- 11 Обозначение типа диска в
- 12 Расположение и функции органов управления; Основное устройство; Слот для дисков
- 14 Отображаемые экраны; ZONE ×
- 15 Диск
- 17 Установка часов; Нажмите кнопку
- 18 Установка передней панели
- 19 Радиоприемник; Элементы управления приемом
- 20 Индикация во время приема; Сохранение вручную; затем; RDS; Обзор; Индикация на дисплее
- 21 Услуги RDS; Настройка AF; Настройка TA
- 22 Выбор PTY; Тип программ
- 23 Диски; Воспроизведение дисков; Если появляется меню DVD; Остановка воспроизведения
- 26 Смена аудиоканала; “стерео”
- 28 VCD; Выбор композиции/видеофайла; Коснитесь нужного элемента.
- 29 Выбор типа файла
- 30 Параметры; Для изменения меню настройки
- 32 Список каналов; Основные каналы
- 33 Для изменения настроек меню; “Альбомы” из библиотеки; Воспроизведение видео
- 34 Отображение параметров аудио; Выберите нужный элемент.; Удаление файла; Выбор видеофайлов
- 35 Для изменения настроек; Просмотр фотографий
- 36 Удаление изображения
- 37 Отсоединение устройства USB
- 38 iPod; Подсоедините iPod к Порт USB.
- 39 Коснитесь
- 40 “Группа”; Для воспроизведения аудио
- 41 Полезные функции
- 42 Zone; Отключение Zone
- 43 Действие
- 44 Сопряжение; Подключение
- 45 Поиск из устройства Bluetooth
- 46 Совершение вызовов; Набор телефонного номера
- 47 Использование телефонной книги; Использование журнала вызовов
- 48 Прием вызовов; Для ответа на вызов; Операции во время вызова; Завершение вызова
- 49 Просмотр телефонной книги; Вызов лица из списка контактов
- 50 Очистка журнала вызовов; Сохранение из телефонной книги
- 51 Аудиопотоки
- 52 Настройка звучания; коснитесь “Настройки”.
- 56 Регулировка монитора
- 57 Настройка изображения
- 58 Настройки
- 59 Общие настройки; Элемент
- 61 Лицензии открытого ПО
- 62 Настройки звука
- 63 Позиция прослушивания
- 64 Фильтр кроссовера; Обратно; Сабвуфер
- 65 Настройки изображения; Диммер
- 66 Настройки источника; Дорожные Сообщения; глава; Язык меню DVD
- 67 Язык аудио DVD
- 68 Тип монитора
- 69 Пропустить источник
- 70 Камера заднего вида; Настройки камеры заднего вида
- 71 bB; Дополнительная информация; Меры предосторожности; Конденсация влаги
- 73 О файлах WMA; О файлах MP3; Кодек для диска
- 75 О файлах Windows Media; О файлах JPEG; Кодек для MSC; О iPod; Что такое технология Bluetooth?
- 77 Уход за устройством; Извлечение устройства
- 78 FM; Проигрыватель дисков DVD/CD
- 79 Усилитель мощности; Общая информация; Код региона
- 81 Изображение; Звук
- 82 Операции с диском; Воспроизведение USB












