Магнитолы Sony WX-GT90BTE - инструкция пользователя по применению, эксплуатации и установке на русском языке. Мы надеемся, она поможет вам решить возникшие у вас вопросы при эксплуатации техники.
Если остались вопросы, задайте их в комментариях после инструкции.
"Загружаем инструкцию", означает, что нужно подождать пока файл загрузится и можно будет его читать онлайн. Некоторые инструкции очень большие и время их появления зависит от вашей скорости интернета.

37
Совет
Выбранную для каждого источника кривую
эквалайзера можно занести в память.
Настройка кривой
эквалайзера — установка
EQ7
Меню “CUSTOM”, появляющееся при
нажатии кнопки EQ7, позволяет
настроить собственные установки
эквалайзера.
1
После выбора источника нажмите
кнопку
, поворачивайте
дисковый регулятор, пока не
появится индикация “SOUND”, а
затем нажмите дисковый регулятор.
2
Поворачивайте дисковый
регулятор, пока не появится
индикация “EQ7 SETTING”, а затем
нажмите дисковый регулятор.
3
Поворачивайте дисковый
регулятор, пока не появится
индикация “BASE”, а затем нажмите
дисковый регулятор.
Можно выбрать кривую эквалайзера,
которая послужит базой для
дальнейшей настройки.
4
Поворачивая дисковый регулятор,
выберите кривую эквалайзера, а
затем нажмите дисковый регулятор.
5
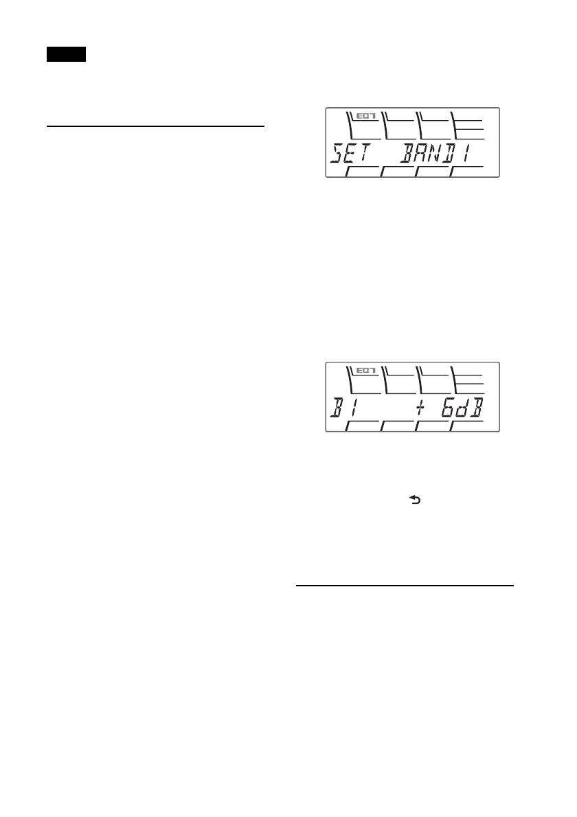
Задание кривой эквалайзера.
Поворачивая дисковый регулятор,
выберите частотный диапазон, а
затем нажмите дисковый регулятор.
BAND1: 63 Гц
BAND2: 160 Гц
BAND3: 400 Гц
BAND4: 1 кГц
BAND5: 2,5 кГц
BAND6: 6,3 кГц
BAND7: 16,0 кГц
Поворачивая дисковый регулятор,
настройте уровень громкости, а
затем нажмите дисковый регулятор.
Уровень громкости настраивается в
диапазоне от “–6 dB” до “+6 dB” с
шагом “1 dB”.
Повторно выполните шаги
и
для настройки других диапазонов
частот.
6
Нажмите кнопку
(BACK) для
возврата к предыдущему экрану.
Кривая эквалайзера сохраняется в
меню “CUSTOM”.
Оптимизация звука путем
согласования времени —
положение прослушивания
Устройство может имитировать
естественное акустическое поле путем
воспроизведения звука каждого
динамика с определенной задержкой в
соответствии с вашим
местоположением.
Содержание
- 4 Содержание
- 6 Начало работы; Предупреждение
- 7 Экстренные вызовы; Отмена режима DEMO; Установка часов; Нажмите кнопку; Начнет мигать индикация часа.
- 8 Расположение элементов управления; Основное устройство; Кнопка CALL
- 10 (во время телефонного; App Remote; Примечание; После нажатия кнопки
- 11 Возврат к предыдущему экрану.
- 12 Радиоприемник; до; Совет
- 13 RDS; Изменение индикации на дисплее; Нажимайте кнопку; Выбор
- 14 Нажмите и удерживайте кнопку
- 15 CD; Воспроизведение диска; Для извлечения диска нажмите кнопку; Устройства USB; • Можно использовать устройства USB; Примечания; Начнется воспроизведение.
- 16 iPod; Воспроизведение iPod; , пока не отобразится
- 17 в течение 1 секунды.; Предупреждение относительно iPhone; Режим возобновления; Цель; Пропуск
- 18 App Remote через; – управление источником устройства; Для разрыва соединения
- 20 Нажмите; Появится имя элемента.; Нажмите дисковый регулятор.
- 21 По нажатию кнопки; Советы
- 23 Изменение режима цвета DAY/NIGHT; Выберите “DAY” или “NIGHT”.; Цветовой режим DIMMER; DAY
- 24 дисплей; Подключение; Операции Bluetooth; Сопряжение
- 25 Установка микрофона; Отобразится меню вызовов.; Могут быть заданы следующие параметры:
- 26 ” или “
- 27 Отмена сопряжения; ” загорается при активации
- 28 ” мигает во время установки
- 29 Прием вызовов; Отклонение вызова
- 30 Начнется вызов на телефоне.; Операции во время вызова
- 31 Настройка громкости говорящего:; Коэффициент усиления микрофона; или; или путем
- 32 Индикатор SMS; Передача музыки
- 34 Отобразится список меню.
- 36 Параметры звука и
- 37 Задание кривой эквалайзера.; Повторно выполните шаги
- 38 слева
- 40 (Время воспроизведения
- 42 Установка App Remote.; HPF FREQ; (Частота фильтра высоких; HPF SLOP; – “AT”: автоматическое ослабление
- 43 Выключите переносное аудиоустройство.; Настройка уровня громкости; Уменьшите громкость на аппарате.
- 44 Меры предосторожности; Конденсация влаги; • Диски, которые это устройство НЕ
- 45 Сведения об iPod; • Обозначения “Made for iPod” (Сделано
- 46 О функции Bluetooth; Что такое технология Bluetooth?
- 47 Прочее; • Bluetooth-устройство может не; Уход за устройством; ВНИМАНИЕ
- 48 FM
- 49 Общая информация; На устройство не подается питание.; Антенна не выдвигается.; Не слышен звуковой сигнал.; Функция Auto Off не работает.
- 50 Услуги RDS не передаются.; Воспроизведение дисков CD; Не удается вставить диск.
- 51 Данные не воспроизводятся.; Функция Bluetooth; Не удается выполнить подключение.
- 52 Низкое качество звука в телефоне.