Магнитолы Sony MEX-BT4700U - инструкция пользователя по применению, эксплуатации и установке на русском языке. Мы надеемся, она поможет вам решить возникшие у вас вопросы при эксплуатации техники.
Если остались вопросы, задайте их в комментариях после инструкции.
"Загружаем инструкцию", означает, что нужно подождать пока файл загрузится и можно будет его читать онлайн. Некоторые инструкции очень большие и время их появления зависит от вашей скорости интернета.

13
Пошук композиції
Пошук композиції за назвою
— Quick-BrowZer
Дозволяє легко виконувати пошук
композиції на компакт-диску або в
пристрої USB за категорією.
1
Натисніть
(BROWSE).
Пристрій перейде в режим Quick-
BrowZer, і з’явиться список категорій
пошуку.
2
Поверніть регулятор, щоб вибрати
необхідну категорію пошуку, а потім
натисніть її для підтвердження.
3
Повторюйте крок 2, поки не буде
вибрано потрібну композицію.
Розпочнеться відтворення.
Щоб повернутися на попередній екран
Натисніть кнопку
(BACK).
Щоб вийти з режиму Quick-BrowZer
Натисніть кнопку
(BROWSE).
Примітка
Після входу в режим Quick-BrowZer настройки
повторного відтворення або відтворення у
випадковій послідовності будуть скасовані.
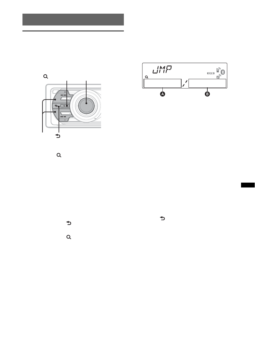
Пошук завдяки пропуску об’єктів
— режим Jump
Якщо в категорії міститься багато
об’єктів, можна швидко знайти потрібний
об’єкт.
1
Натисніть кнопку
(SEEK)
+ у режимі
Quick-BrowZer.
З’явиться такий екран.
A
Номер поточного елемента
B
Загальна кількість елементів у
поточному шарі
Потім з’явиться назва об’єкта.
2
За допомогою диска керування виберіть
потрібний об’єкт або об’єкт поруч із
ним.
Інтервал пропуску об’єктів становить
10 % від загальної кількості об’єктів.
3
Натисніть кнопку вибору.
Екран повернеться у режим Quick-
BrowZer, після чого на дисплеї з’явиться
вибраний об’єкт.
4
За допомогою диска керування виберіть
потрібний об’єкт а потім натисніть на
нього.
Якщо вибраний об’єкт є композицією,
то розпочнеться відтворення.
Скасування режиму Jump
Натисніть
(BACK) або
(SEEK)
–.
OFF
ZAP
SEEK
SEEK
SOURCE
BLUETOOTH
BT
MODE
PUSH
ENTER / SELE
CT
/
(BROWSE)
Диск керування/
кнопка вибору
(BACK)
SEEK +/–
Содержание
- 3 Bluetooth
- 4 Содержание; Начало работы
- 6 На этом устройстве предусмотрено; Предупреждение; Тип диска
- 7 Экстренные вызовы; Отмена режима DEMO
- 8 Установка часов; Снятие передней панели; Предупреждающий сигнал; Нажмите кнопку
- 9 Установка передней панели
- 10 Расположение органов управления и основные операции; Основное устройство
- 12 qa
- 13 Поиск композиции; Отмена режима перехода
- 14 Радиоприемник; Нажимайте кнопку; Сохранение вручную
- 15 Автоматическая настройка; RDS; Обзор; Индикация на дисплее; Настройка AF и TA; Выбор
- 16 Выбор PTY; Тип программ
- 17 Установка CT; Воспроизведение диска; Извлечение диска
- 18 Устройства USB; Сдвиньте крышку разъема USB.; TRACK
- 19 Извлечение устройства USB; появится нужный параметр.
- 20 iPod; Воспроизведение с iPod; Извлечение iPod; Режим возобновления
- 21 Цель
- 22 Операции Bluetooth; Сопряжение
- 23 Значки Bluetooth; Подключение; индикация “
- 24 Соединение с аудиоустройством; Завершение вызова
- 25 Выполнение вызовов; Перевод вызовов; Активация голосового набора; Музыка; Уменьшите громкость устройства.
- 26 Регулировка уровня громкости
- 27 Другие функции
- 29 Отрегулируйте уровень громкости; Регулятор PRESET/DISC; продолжение на следующей странице
- 30 Смена направления вращения; Внешний микрофон XA-MC10
- 31 Меры предосторожности; Конденсация влаги; Сведения об iPod
- 32 О функции Bluetooth; Что такое технология Bluetooth?
- 33 Прочее; Уход за устройством; При неправильном обращении
- 34 Чистка контактов; Извлечение устройства; Снимите защитную манжету.
- 35 FM
- 36 Общая информация; Воспроизведение компакт-дисков
- 37 Прием радиостанций; Воспроизведение USB; Функция Bluetooth












