Магнитолы Sony MEX-BT3807U - инструкция пользователя по применению, эксплуатации и установке на русском языке. Мы надеемся, она поможет вам решить возникшие у вас вопросы при эксплуатации техники.
Если остались вопросы, задайте их в комментариях после инструкции.
"Загружаем инструкцию", означает, что нужно подождать пока файл загрузится и можно будет его читать онлайн. Некоторые инструкции очень большие и время их появления зависит от вашей скорости интернета.

17
Пошук композиції
Пошук композиції за назвою
— Quick-BrowZer
Дозволяє легко виконувати пошук
композиції на компакт-диску або у
пристрої USB за категорією.
1
Натисніть
(BROWSE).
Пристрій перейде в режим Quick-
BrowZer, і з’явиться список категорій
пошуку.
2
Поверніть диск керування, щоб
вибрати необхідну категорію
пошуку, а потім натисніть її для
підтвердження.
3
Повторюйте крок 2, поки не буде
вибрано потрібну композицію.
Розпочнеться відтворення.
Щоб повернутися на попередній екран
Натисніть
(BACK).
Щоб вийти з режиму Quick-BrowZer
Натисніть
(BROWSE).
Прим
ітка
Після входу в режим Quick-BrowZer настройки
повторного відтворення або відтворення у
випадковій послідовності будуть скасовані.
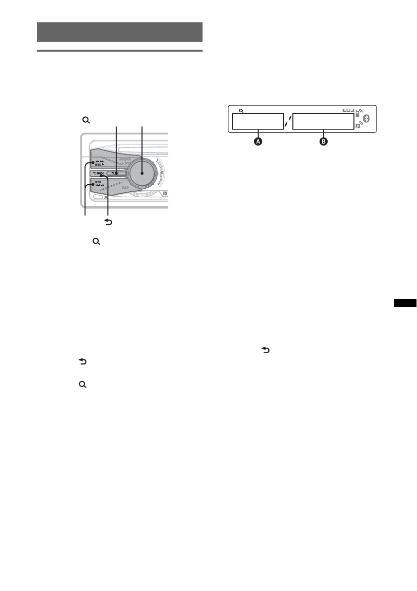
Пошук завдяки пропуску об’єктів
— режим Jump
Якщо в категорії міститься багато
об’єктів, можна швидко знайти потрібний
об’єкт.
1
Натисніть кнопку
(SEEK)
+ у режимі
Quick-BrowZer.
З’явиться такий екран.
A
Номер поточного елемента
B
Загальна кількість елементів у
поточному шарі
Потім з’явиться назва об’єкта.
2
За допомогою диска керування виберіть
потрібний об’єкт або об’єкт поруч із
ним.
Інтервал пропуску об’єктів становить
10% від загальної кількості об’єктів.
3
Натисніть кнопку вибору.
Екран повернеться в режим Quick-
BrowZer, після чого на дисплеї з’явиться
вибраний об’єкт.
4
За допомогою диска керування виберіть
потрібний об’єкт а потім натисніть на
нього.
Якщо вибраний об’єкт є композицією,
то розпочнеться відтворення.
Скасування режиму Jump
Натисніть
(BACK) або
(SEEK)
–.
(BROWSE)
Диск керування/
кнопка вибору
(BACK)
SEEK +/–
Содержание
- 4 Содержание; Начало работы
- 6 На этом устройстве предусмотрено; Предупреждение; Тип диска
- 7 Экстренные вызовы; Отмена режима DEMO
- 8 Установка часов; Снятие передней панели; Предупреждающий сигнал; Нажмите кнопку
- 9 Установка передней панели; Прикрепите часть
- 10 Краткое руководство по функции Bluetooth; устройства Bluetooth.; Сопряжение; связи и слушать музыку.
- 11 Значки и кнопки Bluetooth; Описание состояния
- 12 Действия
- 13 Разговор с использованием гарнитуры; Цель
- 14 Расположение органов управления и основные операции; Основное устройство; Снятая передняя панель
- 16 qa
- 17 Поиск композиции; Отмена режима перехода
- 19 Радиоприемник; Автоматическое сохранение; Нажимайте кнопку; Сохранение вручную; Автоматическая настройка; RDS; Обзор; Надписи на дисплее; продолжение на следующей странице
- 20 Услуги RDS; Настройка AF и TA; AF; Выбор
- 21 Выбор PTY; Тип программ; Установка CT
- 22 появится нужный параметр.; Устройства USB; TRACK
- 23 Извлечение устройства USB; Индикация на дисплее
- 24 iPod; Воспроизведение с iPod; Извлечение iPod; Режим возобновления
- 26 Операции Bluetooth
- 27 , пока не станет мигать; Значки Bluetooth
- 28 Подключение; индикация “; Соединение с аудиоустройством
- 29 Выполнение вызовов; Завершение вызова; Перевод вызовов; Нажмите и удерживайте кнопку; Активация голосового набора
- 30 Музыка; Регулировка уровня громкости
- 31 Другие функции
- 33 Отрегулируйте уровень громкости; Внешний микрофон XA-MC10
- 34 Меры предосторожности; Конденсация влаги; Сведения об iPod
- 35 О функции Bluetooth; Что такое технология Bluetooth?
- 36 Прочее; Уход за устройством
- 37 Чистка контактов; Извлечение устройства; Снимите защитную манжету.
- 38 FM
- 39 Общая информация; Прием радиостанций












