Магнитолы Sony CDX-R3300EE - инструкция пользователя по применению, эксплуатации и установке на русском языке. Мы надеемся, она поможет вам решить возникшие у вас вопросы при эксплуатации техники.
Если остались вопросы, задайте их в комментариях после инструкции.
"Загружаем инструкцию", означает, что нужно подождать пока файл загрузится и можно будет его читать онлайн. Некоторые инструкции очень большие и время их появления зависит от вашей скорости интернета.

11
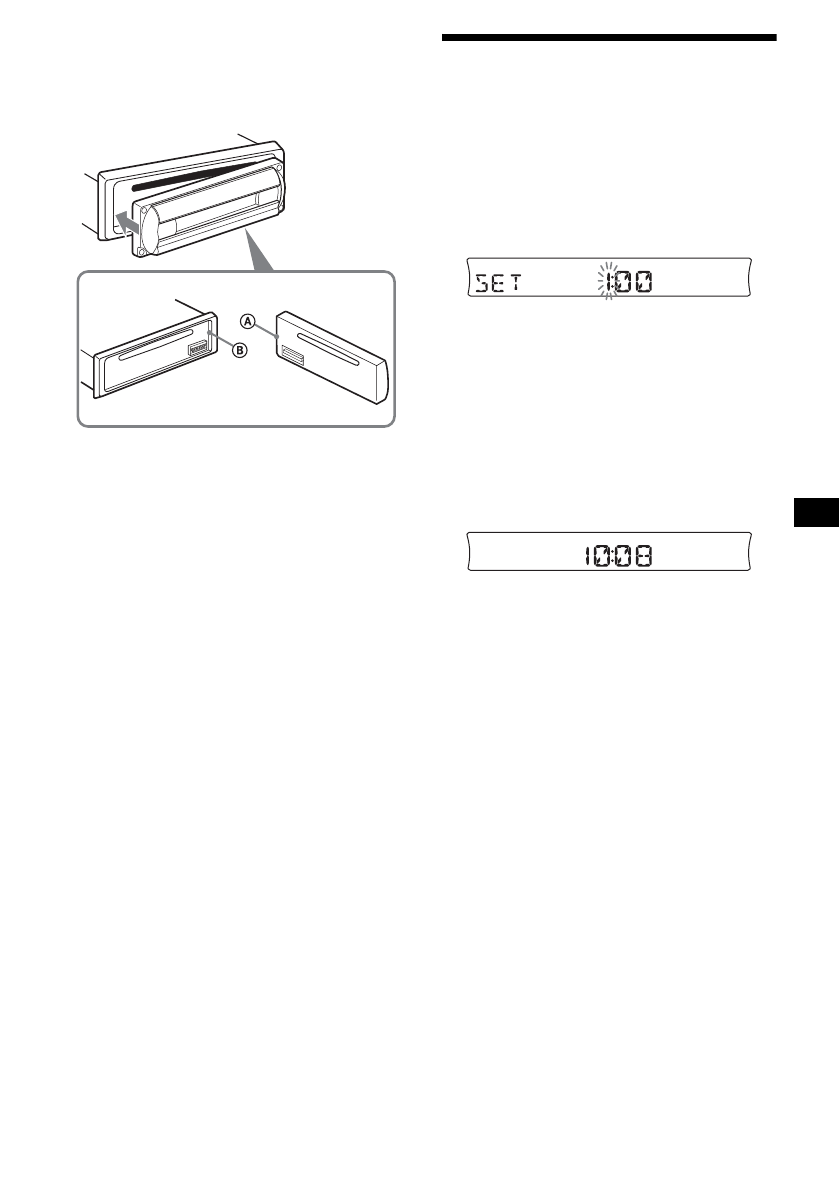
Установка передней панели
Прикрепите часть
A
передней панели к
части
B
аппарата, как показано на
рисунке, и установите левую сторону на
место до щелчка.
Примечание
Не ставьте ничего на внутреннюю поверхность
передней панели.
Установка часов
Часы данного аппарата имеют 24-часовую
индикацию.
Например: установка часов на 10:08
1
Нажмите на 2 секунды кнопку
(DSPL)
.
Начинает мигать индикатор часа.
1
Нажмите клавишу регулировки
громкости +/– для установки
значения часа.
2
Нажмите кнопку
(SEL)
.
Начинает мигать индикатор минут.
3
Нажмите клавишу регулировки
громкости +/– для установки
значения минут.
2
Нажмите кнопку
(DSPL)
.
Часы начнут отсчет времени. По
окончании установки часов дисплей
возвращается в обычный режим
индикации воспроизведения.
OP
EN/
EJE
CT
Содержание
- 25 Содержание; Начало работы
- 26 Расположение органов управления; Для выбора источника.
- 27 Непрерывный пропуск композиций; Один раз нажмите кнопку; Цель
- 28 Конденсация влаги
- 30 О файлах MP3; Примечания относительно дисков
- 32 Предупреждающий сигнал; Нажмите кнопку
- 33 Установка передней панели; Установка часов; Нажмите на 2 секунды кнопку
- 34 Извлечение диска
- 35 Надписи на дисплее; Отображаемые надписи
- 36 — Повтор воспроизведения; • SHUF-DISC — воспроизведение
- 37 Радиоприемник; Предупреждение; Автоматическая настройка; продолжение на следующей странице
- 38 Другие функции; Посредством нажатия кнопок
- 39 Посредством вращения регулятора
- 40 Смена направления вращения; параметр меняется
- 41 — Меню
- 42 Переключение REAR/SUB; Выбор нужного параметра; Одновременно нажмите; Еще раз одновременно нажмите; Выбор кривой эквалайзера; индикация изменяется.
- 43 Настройка кривой эквалайзера; диапазон частот; Уход за аппаратом; Замена предохранителя; Внимание
- 44 Чистка контактов; Замена литиевой батарейки; • Храните литиевую батарейку в месте,
- 45 Извлечение устройства; Снимите защитную манжету.
- 46 Технические характеристики; Проигрыватель компакт-дисков; Усилитель мощности
- 47 Устранение неполадок; Общие
- 49 Сообщения; ” или “