Магнитолы Sony CDX-GT440U - инструкция пользователя по применению, эксплуатации и установке на русском языке. Мы надеемся, она поможет вам решить возникшие у вас вопросы при эксплуатации техники.
Если остались вопросы, задайте их в комментариях после инструкции.
"Загружаем инструкцию", означает, что нужно подождать пока файл загрузится и можно будет его читать онлайн. Некоторые инструкции очень большие и время их появления зависит от вашей скорости интернета.

7
Від’єднання передньої
панелі
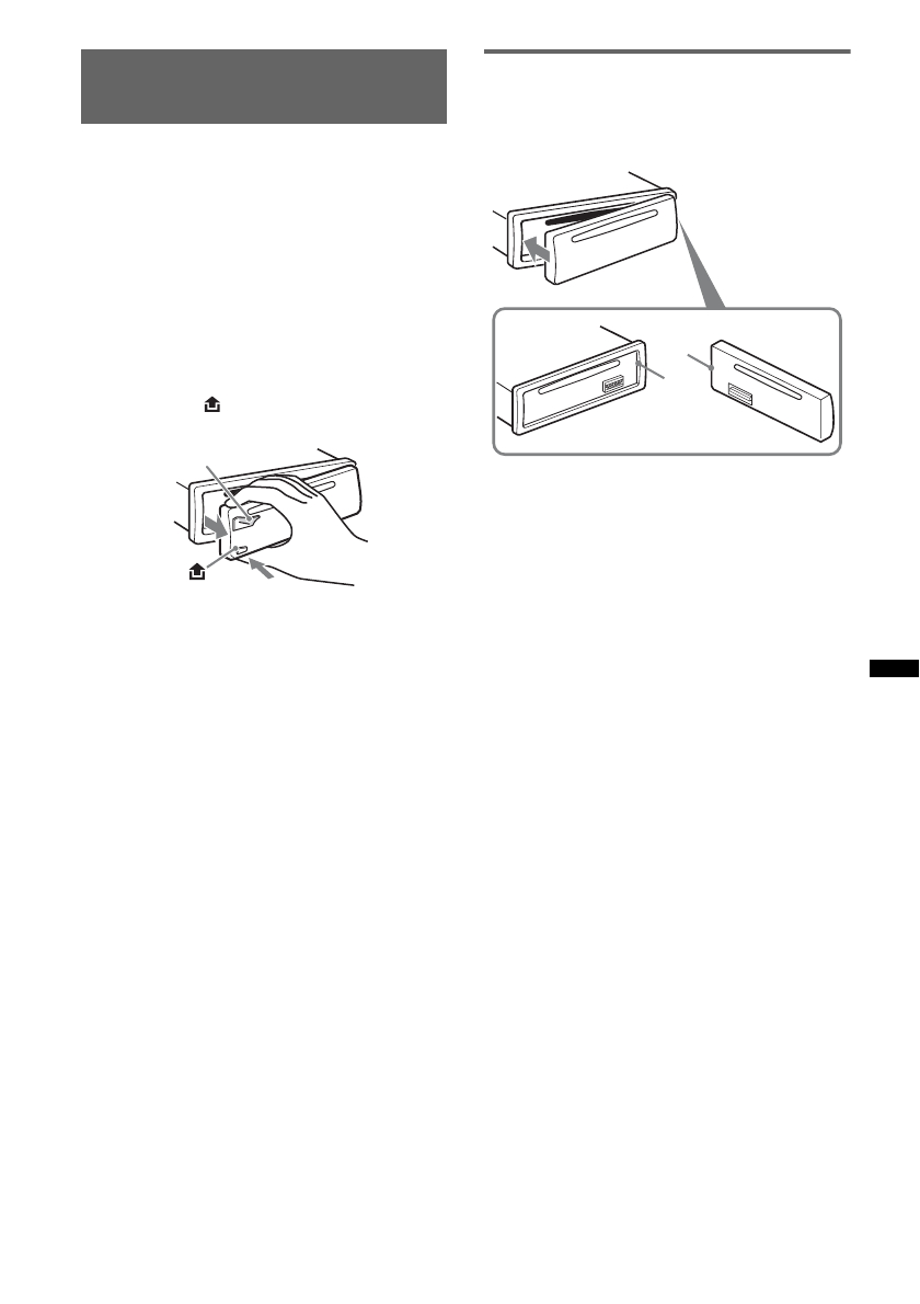
Передню панель цього апарата можна
від’єднати, щоб запобігти крадіжці.
Попереджувальний сигнал
Якщо перемикач живлення перевести в
положення OFF, не від’єднавши передню
панель, протягом кількох секунд буде
лунати попереджувальний сигнал.
Сигнал буде лунати лише за умови
використання вбудованого підсилювача.
1
Натисніть і утримуйте
(SOURCE/OFF)
.
Апарат вимкнеться.
2
Натисніть
, а потім потягніть до
себе.
Прим
ітки
•
Намагайтеся запобігти падінню передньої
панелі, а також сильному тиску на передню
панель та вікно дисплея.
•
Бережіть передню панель від впливу високої
температури або вологи. Не залишайте її у
припаркованому автомобілі або на передній чи
задній панелях автомобіля.
•
Не від’єднуйте передню панель під час
відтворення музики з пристрою USB, оскільки
інакше дані USB можуть бути пошкоджені.
Приєднання передньої панелі
Приєднайте частину
A
передньої панелі
до частини
B
апарата, як показано на
малюнку, а потім натисніть ліву сторону,
щоб вона з клацанням стала на місце.
Примітка
Не кладіть нічого на внутрішню поверхню
передньої панелі.
(SOURCE/OFF)
B
A
Содержание
- 3 до
- 4 Содержание; Начало работы
- 6 Отмена режима DEMO; Установка часов; Отобразится экран настройки.; Нажмите кнопку; Начинает мигать индикация часа.; Тип диска
- 7 Снятие передней панели; Устройство выключится.; Установка передней панели; Прикрепите часть
- 8 Расположение органов управления и основные операции; Основное устройство; Радиоприемник; Возврат к предыдущему экрану.; qs qd qf qg
- 10 Поиск композиции; Отмена режима перехода
- 12 Предупреждение; Нажимайте кнопку; Сохранение вручную; появится индикация “MEM”.; Автоматическая настройка; RDS; Обзор; Индикация на дисплее; Диапазон радиочастот, функция
- 13 Услуги RDS; Настройка AF и TA; Прием экстренных сообщений; (Сообщения о текущей ситуации на
- 14 Выбор PTY; Тип программ; Установка CT
- 15 Устройства USB; Выбор; TRACK
- 16 Извлечение устройства USB; Источник; Через 3 секунды настройка завершается.
- 17 Другие функции; Регулировка громкости сабвуфера.
- 19 Настройка уровня громкости; Уменьшите громкость на аппарате.
- 20 Меры предосторожности; Конденсация влаги
- 21 Уход за устройством; продолжение на следующей странице
- 22 Чистка контактов; Извлечение устройства; Снимите защитную манжету.
- 23 Тюнер; FM; Проигрыватель компакт-дисков; Проигрыватель USB; Общая информация
- 24 Прием радиостанций
- 25 Воспроизведение компакт-дисков












