Магнитолы Sony CDX-C7850R - инструкция пользователя по применению, эксплуатации и установке на русском языке. Мы надеемся, она поможет вам решить возникшие у вас вопросы при эксплуатации техники.
Если остались вопросы, задайте их в комментариях после инструкции.
"Загружаем инструкцию", означает, что нужно подождать пока файл загрузится и можно будет его читать онлайн. Некоторые инструкции очень большие и время их появления зависит от вашей скорости интернета.

31
Auswählen bestimmter
Titel für die Wiedergabe
— Bank (bei einem CD-Gerät mit Custom
File-Funktion)
Wenn Sie einen Namen für die CD eingeben,
können Sie das Gerät so einstellen, daß
bestimmte Titel übersprungen und nur die
gewünschten Titel wiedergegeben werden.
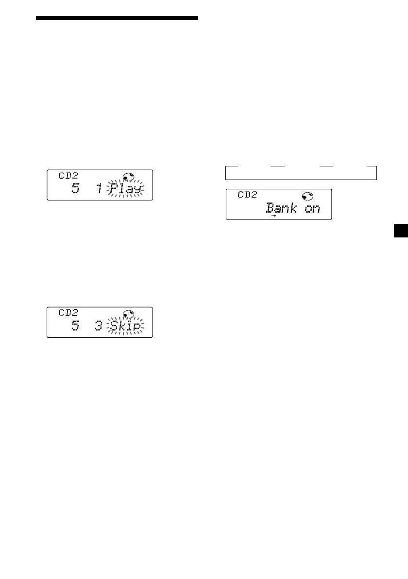
1
Drücken Sie während der CD-
Wiedergabe
(SHIFT)
und dann zwei
Sekunden lang
(4)
(PLAY MODE).
Bank-Modus
Hinweis
Hat die CD keinen Namen, erscheint statt des
Bank-Modus der
Programmbearbeitungsmodus. Wollen Sie zur
normalen Wiedergabe zurückschalten, drücken
Sie
(SHIFT)
.
2
Drücken Sie den Regler SEEK/AMS nach
oben oder unten, und wählen Sie damit
die Nummer des Titels, den Sie auslassen
wollen. Drücken Sie
(6)
(ENTER).
Statt „Play“ wird nun „Skip“ angezeigt.
Wenn Sie wieder zu „Play“ schalten wollen,
drücken Sie nochmals
(6)
(ENTER).
3
Wenn Sie den Modus „Play“ oder „Skip“
für weitere Titel festlegen wollen, gehen
Sie wie in Schritt 2 erläutert vor.
4
Drücken Sie
(4)
(PLAY MODE) zwei
Sekunden lang.
Das Gerät schaltet zum normalen CD-
Wiedergabemodus zurück.
5
Drücken Sie
(SHIFT)
.
Hinweise
• Sie können „Play“ oder „Skip“ für bis zu 24 Titel
einstellen.
• Sie können den Modus „Skip“ nicht für alle Titel
festlegen.
RLAY MODE
ENTER
D I S C
T R AC K
RLAY MODE
ENTER
D I S C
T R AC K
Wiedergeben der gewünschten
Titel
Sie haben zwei Auswahlmöglichkeiten:
• Bank on – Alle Titel mit der Einstellung
„Play“ werden wiedergegeben.
• Bank inv (umgekehrt) – Alle Titel mit der
Einstellung „Skip“ werden wiedergegeben.
1
Drücken Sie während der CD-
Wiedergabe
(SHIFT)
, und drücken Sie
dann so oft
(4)
(PLAY MODE), bis „Bank“
erscheint.
2
Wählen Sie mit
(5)
(
n
) den
gewünschten Modus.
z
Bank on
z
Bank inv
z
Bank off
Die Wiedergabe beginnt mit dem Titel, der
auf den aktuellen Titel folgt.
3
Drücken Sie
(SHIFT)
.
Wenn Sie wieder in den normalen
Wiedergabemodus schalten wollen, wählen Sie
in Schritt 2 oben „Bank off“.
RLAY MODE
BANK
Содержание
- 39 Содержание
- 40 Расположение органов управления; Кнопка SOUND 22
- 41 Если переключатель POWER SELECT находится в положении
- 42 Нажмите; Установка передней панели; Присоедините часть
- 43 Предупреждающий сигнал
- 44 Для того чтобы
- 45 Во время воспроизведения нажмите
- 46 Создание программы; — CD Память программы
- 47 Стирание всей программы; Программа полностью стерта.; Добавление дорожек к программе
- 48 Стирание дорожек из программы; Радиоприемник; При каждом нажатии Вами
- 50 Обзор функции RDS
- 51 Последовательно нажимайте; Изменение показаний дисплея
- 52 до появления
- 53 Прием экстренных сообщений; Нажимайте
- 54 Предустановка времени и станции; Загорается
- 55 Продолжение на следующей странице; Для отмены функции TIR; Нажмите клавишу
- 56 Чтобы отменить функцию СТ
- 57 • Найти определенную дорожку на; Прочие функции; При каждом нажатии Вами клавиши
- 58 Прочие операции; Многократным нажатием клавиши; Приглушение звука; Изменение рабочего направления
- 60 Смена параметров, выводимых на дисплей
- 61 В случае нажатия Вами
- 62 — Повторное воспроизведение; Начинается повторное воспроизведение.; — Перетасованное воспроизведение; • Shuf 2 – для воспроизведения дорожек на
- 65 Вывод знаков на дисплей.; Если Вы нажмете; Повторите операции; При каждом нажатии
- 67 • Bank inv (Inverse – в обратном порядке) –
- 68 Конденсация влаги; Предостережения; • Если Ваша машина была запаркована на
- 69 Уход за аппаратом; Замена плавкого предохранителя; Демонтаж аппарата; Передняя крышка снимается.; Вынуть аппарат из кожуха.
- 70 Технические данные; Проигрыватель компакт-дисков; FM; Усилитель мощности
- 71 Прием радиопрограмм; Устранение неполадок; Общие проблемы
- 72 Sony Corporation












