Магнитолы Pioneer RS-D7RII - инструкция пользователя по применению, эксплуатации и установке на русском языке. Мы надеемся, она поможет вам решить возникшие у вас вопросы при эксплуатации техники.
Если остались вопросы, задайте их в комментариях после инструкции.
"Загружаем инструкцию", означает, что нужно подождать пока файл загрузится и можно будет его читать онлайн. Некоторые инструкции очень большие и время их появления зависит от вашей скорости интернета.

44
ꇷÓÚ‡ Ò ‚ÒÚÓÂÌÌ˚Ï ÔÓË„˚‚‡ÚÂÎÂÏ ÍÓÏÔ‡ÍÚ-‰ËÒÍÓ‚
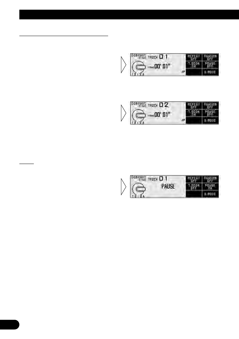
éÁ̇ÍÓÏËÚÂθÌÓ ‚ÓÒÔÓËÁ‚‰ÂÌËÂ
èË ÓÁ̇ÍÓÏËÚÂθÌÓÏ ‚ÓÒÔÓËÁ‚‰ÂÌËË ÔÓÒΉӂ‡ÚÂθÌÓ ‚ÓÒÔÓËÁ‚Ó‰flÚÒfl Ô‚˚Â
10 ÒÂÍÛ̉ ͇ʉÓÈ Á‡ÔËÒË ÍÓÏÔ‡ÍÚ-‰ËÒ͇.
èËϘ‡ÌËÂ:
• èÓÒΠÔÓıÓʉÂÌËfl ‚ÒÂı Á‡ÔËÒÂÈ Ì‡ ‰ËÒÍ ÂÊËÏ ÓÁ̇ÍÓÏËÚÂθÌÓ„Ó ‚ÓÒÔÓËÁ‚‰ÂÌËfl
‡‚ÚÓχÚ˘ÂÒÍË ÓÚÏÂÌflÂÚÒfl.
è‡ÛÁ‡
è‡ÛÁ‡ ÔËÓÒڇ̇‚ÎË‚‡ÂÚ ‚ÓÒÔÓËÁ‚‰ÂÌË ÚÂÍÛ˘ÂÈ Á‡ÔËÒË.
• èË Ì‡Ê‡ÚËË ÍÌÓÔÍË
FUNCTION 4 ̇ ˝Í‡ÌÂ
̇ÒÚÓÈÍË ‚ÒÚÓÂÌÌÓ„Ó
ÔÓË„˚‚‡ÚÂÎfl ÍÓÏÔ‡ÍÚ-
‰ËÒÍÓ‚ ÂÊËÏ Ô‡ÛÁ˚
‚Íβ˜‡ÂÚÒfl ËÎË ‚˚Íβ˜‡ÂÚÒfl.
2. äÓ„‰‡ ̇ȉÂÚ ÌÛÊÌÛ˛ Á‡ÔËÒ¸,
ÓÚÏÂÌËÚ ÓÁ̇ÍÓÏËÚÂθÌÓÂ
‚ÓÒÔÓËÁ‚‰ÂÌËÂ, ̇ʇ‚
ÍÌÓÔÍÛ FUNCTION 3.
1. èË Ì‡Ê‡ÚËË ÍÌÓÔÍË FUNC-
TION 3 ̇ ˝Í‡Ì ̇ÒÚÓÈÍË
‚ÒÚÓÂÌÌÓ„Ó ÔÓË„˚‚‡ÚÂÎfl
ÍÓÏÔ‡ÍÚ-‰ËÒÍÓ‚ ‚Íβ˜‡ÂÚÒfl
ÂÊËÏ ÓÁ̇ÍÓÏËÚÂθÌÓ„Ó
‚ÓÒÔÓËÁ‚‰ÂÌËfl.