Магнитолы Pioneer KEH-P1015 - инструкция пользователя по применению, эксплуатации и установке на русском языке. Мы надеемся, она поможет вам решить возникшие у вас вопросы при эксплуатации техники.
Если остались вопросы, задайте их в комментариях после инструкции.
"Загружаем инструкцию", означает, что нужно подождать пока файл загрузится и можно будет его читать онлайн. Некоторые инструкции очень большие и время их появления зависит от вашей скорости интернета.

"
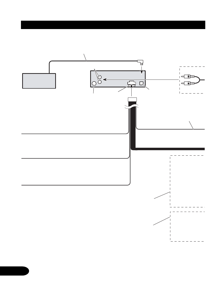
Ïðîèãðûâàòåëü
Ìàëòè ÊÄ (ïðîäà-
åòñÿ îòäåëüíî)
Ïîäêëþ÷åíèå óñòðîéñòâ
Êàáåëü IP-BUS
Òûëîâîé âûõîä
Ýòî óñòðîéñòâî
Ãíåçäî
àíòåííû
Ïðåäîõ-
ðàíèòåëü
Âõîä IP-BUS
(ñèíèé)
Ñèíèé/áåëûé
Ê ðàçúåìó óïðàâëåíèÿ óñèëèòåëÿ
ìîùíîñòè èëè àâòîíîìíîé àí-
òåííû. (Ìàêñèìóì 300 ìÀ 12 Â
ïîñòîÿííîãî òîêà.)
Æåëòûé
Ê ðàçúåìó, íà êîòîðûé ïèòàíèå ïîäàåòñÿ
ïîñòîÿííî, íåçàâèñèìî îò ïîëîæåíèÿ
êëþ÷à çàæèãàíèÿ.
Êðàñíûé
Ê ýëåêòðè÷åñêîìó ðàçúåìó, óïðàâëÿåìîìó
êëþ÷îì çàæèãàíèÿ (12  ïîñòîÿííîãî òîêà)
âêëþ÷åíèå/âûêëþ÷åíèå.
×åðíûé (çåìëÿ)
Ê ìåòàëëè÷åñêîìó êóçîâó àâòîìîáèëÿ.
Ïðè èñïîëüçîâàíèè ñèñòåìû
èç äâóõ ãðîìêîãîâîðèòåëåé íå
ïîäêëþ÷àéòå íè÷åãî ê íåèñ-
ïîëüçóåìûì ïðîâîäàì ãðîìêî-
ãîâîðèòåëåé.
Îñóùåñòâèòå ýòè ïîäêëþ÷åíèÿ
ïðè èñïîëüçîâàíèè äîïîëíè-
òåëüíîãî óñèëèòåëÿ ìîùíîñòè
(ïðîäàåòñÿ îòäåëüíî).
Ôðîíòàëüíûé
ãðîìêîãîâîðèòåëü
Ëåâûé
Òûëîâîé ãðîì-
êîãîâîðèòåëü
Òûëîâîé ãðîì-
êîãîâîðèòåëü