Магнитолы Pioneer KEH-1940R / KEH-1960R - инструкция пользователя по применению, эксплуатации и установке на русском языке. Мы надеемся, она поможет вам решить возникшие у вас вопросы при эксплуатации техники.
Если остались вопросы, задайте их в комментариях после инструкции.
"Загружаем инструкцию", означает, что нужно подождать пока файл загрузится и можно будет его читать онлайн. Некоторые инструкции очень большие и время их появления зависит от вашей скорости интернета.

5
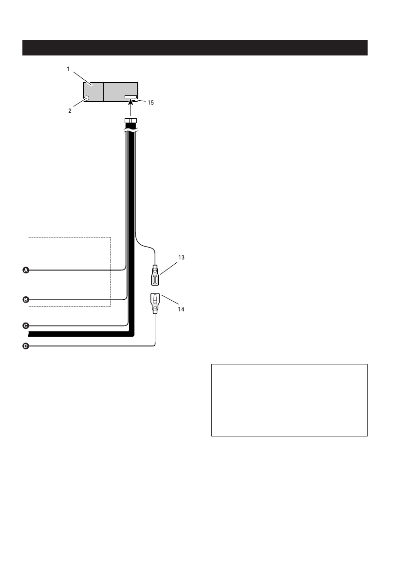
12. Ïðîâîäà äèíàìèêîâ
Áåëûé:
Ïåðåäíèé ëåâûé
3
Áåëûé/÷åðíûé:
Ïåðåäíèé ëåâûé
#
Ñåðûé:
Ïåðåäíèé ïðàâûé
3
Ñåðûé/÷åðíûé:
Ïåðåäíèé ïðàâûé
#
Çåëåíûé:
Çàäíèé ëåâûé
3
Çåëåíûé/÷åðíûé:
Çàäíèé ëåâûé
#
Ôèîëåòîâûé:
Çàäíèé ïðàâûé
3
Ôèîëåòîâûé/÷åðíûé:
Çàäíèé ïðàâûé
#
13. Ãîëóáîé/áåëûé
Ê óïðàâëÿþùèì êîíòàêòàì ðåëå àâòîìîáèëü-
íîé àâòîìàòè÷åñêîé àíòåííû.
(Ìàêñèìàëüíî 300 ìA, 12 Â ïîñòîÿííîãî
òîêà.)
Ñõåìà ñîåäèíåíèÿ
14. Ãîëóáîé/áåëûé
Íàçíà÷åíèå êîíòàêòîâ ðàçúåìà ISO ìîæåò
áûòü ðàçëè÷íûì äëÿ ðàçíûõ òèïîâ òðàíñ-
ïîðòíûõ ñðåäñòâ. Ñîåäèíèòå 13 è 14, êîãäà
êîíòàêò 5 èìååò òèï àíòåííû.  ñëó÷àå äðó-
ãèõ òèïîâ òðàíñïîðòíûõ ñðåäñòâ, íèêîãäà
íå ñîåäèíÿéòå 13 è 14.
15. Ïëàâêèé ïðåäîõðàíèòåëü