Магнитолы Pioneer DVH-P500UB - инструкция пользователя по применению, эксплуатации и установке на русском языке. Мы надеемся, она поможет вам решить возникшие у вас вопросы при эксплуатации техники.
Если остались вопросы, задайте их в комментариях после инструкции.
"Загружаем инструкцию", означает, что нужно подождать пока файл загрузится и можно будет его читать онлайн. Некоторые инструкции очень большие и время их появления зависит от вашей скорости интернета.

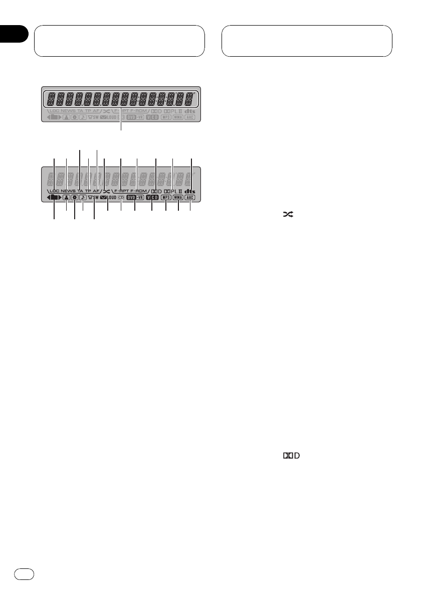
Индикация на дисплее
1
Основной сектор дисплея
Отображает диапазон
,
рабочую частоту
,
время
,
прошедшее с начала воспроиз
-
ведения
,
и информацию о других на
-
стройках
.
!
Тюнер
На дисплее отображаются диапазон и
частота
.
!
RDS
На дисплее отображается название
программы
, PTY-
информация и
текстовая информация
.
!
Встроенный проигрыватель
DVD-
дис
-
ков
,
аудиоплеер
USB
и
iPod
Отображаются текстовая информа
-
ция и время
,
прошедшее с начала
воспроизведения
.
2
Индикатор
LOC
Появляется при включении местного по
-
иска
.
3
Индикатор
NEWS
Появляется при активной функции
NEWS (
прерывание для передачи ново
-
стей
).
4
Индикатор
TA
Появляется
,
когда включена функция
TA
(
режим ожидания дорожных сводок
).
5
Индикатор
TP
Появляется
,
когда радиоприемник на
-
строен на
TP-
станцию
.
6
Индикатор
AF
Загорается при включении функции
AF
(
поиск альтернативных частот
).
7
Индикатор
(
воспроизведение в
случайной последовательности
)
Появляется при включенном режиме
воспроизведения в случайной последо
-
вательности во время использования
iPod
в качестве источника звука
.
8
Индикатор
F-RPT
Появляется при включении режима по
-
вторного воспроизведения композиций
одной папки
.
Когда повторное воспроизведение
включено
,
на дисплее появляется на
-
дпись
RPT
.
9
Индикатор
F-RDM
Появляется при включении режима вос
-
произведения в случайной последо
-
вательности композиций одной папки
.
Когда воспроизведение в случайном по
-
рядке включено
,
на дисплее появляется
только надпись
RDM
.
a
Индикатор
(Dolby Digital)
Появляется при выборе режима
Dolby Di-
gital. (
Может быть выбран
,
только если к
данному устройству подключено устрой
-
ство
DEQ-P6600.)
o
m
l
k
j i h g f
d
3
5
6
7
9 a b c
1
e
n
4
8
2
Управление данным
устройством
Ru
20
Раздел
02
Содержание
- 5 Дополнительное оборудование
- 6 Дополнительная информация
- 7 ПРЕДУПРЕЖДЕНИЕ; DVD; Сведения об этом устройстве; ВНИМАНИЕ; Перед
- 8 Примечания; Коды регионов для дисков; DVD video
- 9 Video CD; Совместимость с форматами сжатия; DivX; Совместимость с форматом
- 10 Поддержка; Воспроизведение музы; Примечание
- 12 Включение; Важно; Снятие передней панели; OPEN
- 13 Установка передней панели; RESET; ACC; Установка батарейки; При случайном проглатывании бата; Используйте одну литиевую батарейку
- 15 Основное устройство; iPod; Управление
- 18 Режим; DVH
- 19 PBC
- 20 Индикация на дисплее; RDS; j i h g f
- 21 Dolby
- 22 Основные операции; Включение устройства; Выбор источника сигнала; Регулировка громкости
- 23 Тюнер; BAND; Переключение режима; DISPLAY
- 24 PTY; PTY; FUNCTION; BSM; Знакомство с расширенными функция; Знакомство с расширенными функция
- 25 Выбор альтернативных частот; AF; PI; PI SEEK; Включение автоматического поиска
- 26 Прием дорожных сводок; TP; Использование функций
- 27 NOT FOUND
- 29 Вставляйте диск маркированной сторо
- 31 Работа с меню; MENU; Воспроизведение с функцией РВС; видео по; RENTAL EXPIRED
- 32 VOD; назад; CM BACK; Закладка
- 33 BOOKMARK; Выбор главы; Выбор дорожки
- 34 CLEAR; DIRECT; Мульти
- 35 Несколько; Настройка отображения значка; ANGLE; Покадровое воспроизведение
- 36 Возврат к указанному месту; RETURN; AUTO PLAY
- 37 CD TEXT; Выбор главы из списка глав
- 39 Повторное воспроизведение
- 40 RDM; Сканирование папок и дорожек; SCAN
- 41 Выбор аудиовыхода; MIX; Приостановка воспроизведения; ROUGH
- 42 Использование функции сжатия; Ввод названий дисков; Выбор режима воспроизведения
- 44 PLAYBACK
- 45 Выбор папки
- 46 WAV; NO XXXX; Выбор файлов из списка имен файлов; Функции и их назначение
- 47 Переключение режимов информа
- 48 Поиск композиции; Поиск композиций по категории
- 49 Поиск композиций по алфавиту
- 50 REPEAT; перемешивание; SHUFFLE; перемешать все
- 51 Управление функциями; iPod nano
- 52 Информационный дисплей; Если к данному устройству подключен ди
- 53 BALANCE; Использование эквалайзера; Вызов кривых эквалайзера из памяти
- 54 CUSTOM; Регулировка кривых эквалайзера
- 55 Регулировка тонкомпенсации; REV; Изменение настройки сабвуфера
- 56 HPF; BASS BOOST; Знакомство с регулировками аудиопа; SLA
- 57 Настройка проигрывателя; Знакомство с настройками
- 58 Установка языка субтитров; SUBTITLE LANGUAG; Выбор; OTHERS; Табли
- 59 Настройка языка меню; MENU LANGUAGE
- 60 Настройка формата изображения; LETTER BOX; letterbox; Установка блокировки доступа
- 61 Установка кода и уровня блокировки; LEVEL 8; Изменение уровня; PARENTAL
- 62 Если Вы забыли код; DIVX VOD; Настройка файла субтитров; DIVX SUBTITLE
- 63 Настойка цифрового выхода; STREAM; dual mono; PCM
- 64 Начальные настройки; Установка часов; Изменение начальных настроек
- 65 OFF CLOCK; Установка шага настройки в; AUTO PI; WARNING
- 66 Использование дополнительного ис; VIDEO; Настройка аудио; OFF
- 67 Pioneer; VIDEO IN
- 68 Выбор цвета подсветки; FULL
- 69 HIGH; Сброс аудиофункций
- 70 Чтобы отменить сброс; COMPLETE; Другие функции; Источник сигнала
- 71 Выбор цифрового; AUX
- 73 Приглушение звука
- 75 SONGS; Проигрыватель; Дополните
- 76 Прямой выбор дорожки; CD
- 77 автоматом компакт; Выберите требуемую настройку; NO COMP; ITS
- 78 EMPTY
- 79 ITS MEMO
- 80 LIST; NO DISC TITLE
- 81 Вы можете использовать данное устрой; SEARCH
- 82 Адаптер; Bluetooth
- 83 Знакомство с функциями
- 84 продается отдельно
- 85 DSP
- 86 FADER; SFC
- 87 Dolby Pro Logic II; Знакомство с регулировкой; FM; Регулировка режима Музыка
- 89 DRC; VOLUME
- 90 AUTO EQ; ON; Авто
- 91 LPF
- 92 SOURCE; Использование селектора положения
- 93 END; Расшифровка сообщений об ошибках
- 94 Настройка громкоговорителей
- 95 Выбор частоты кроссовера
- 96 TEST TONE; CENTER
- 98 Регулировка
- 99 CUSTOM 1
- 100 Устранение неисправностей; Общие
- 102 Проблемы при воспроизведении файлов на; Проблемы при подключении многоканального процессора; Сообщения об ошибках; убедитесь; Встроенный проигрыватель
- 103 USB
- 104 Значение сообщений
- 107 Совместимость
- 108 Пример иерархии
- 109 Обращение с; Сжатые аудиофайлы
- 110 WMA
- 111 AAC; Видеофайлы формата; Отображение Вашего
- 114 Термины
- 118 Технические характеристики