Магнитолы Pioneer DEH-P700BT - инструкция пользователя по применению, эксплуатации и установке на русском языке. Мы надеемся, она поможет вам решить возникшие у вас вопросы при эксплуатации техники.
Если остались вопросы, задайте их в комментариях после инструкции.
"Загружаем инструкцию", означает, что нужно подождать пока файл загрузится и можно будет его читать онлайн. Некоторые инструкции очень большие и время их появления зависит от вашей скорости интернета.

9
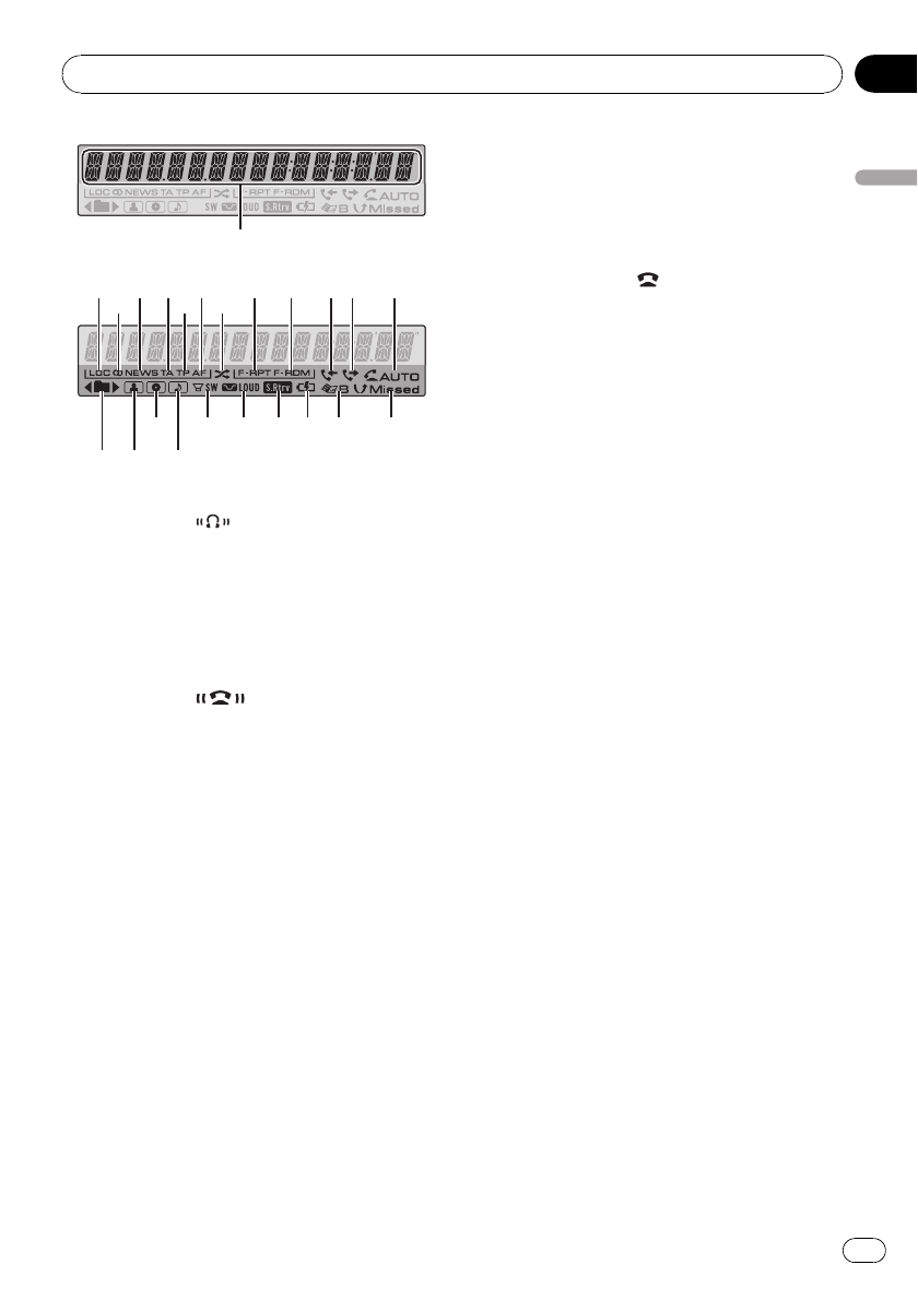
Индикатор
Загорается при подключении к системе
аудиоплеера
Bluetooth
посредством
технологии беспроводной связи
Blue-
tooth.
!
При выполнении соединения этот
индикатор мигает
.
a
Индикатор
Загорается при установлении соедине
-
ния с сотовым телефоном посредством
беспроводной технологии
Bluetooth.
!
При выполнении соединения этот
индикатор мигает
.
!
Индикатор также мигает
,
если
соединение не завершено
.
b
Кнопка
MUTE
/
HOLD
Нажмите
,
чтобы выключить звук
.
На
-
жмите повторно для включения звука
.
Нажмите
,
чтобы поставить абонента в
режим ожидания
.
c
MULTI-CONTROL
Сдвиньте
,
чтобы произвести ручнуюна
-
стройку с поиском
,
ускореннуюперемот
-
ку вперед
,
назад и использовать
функции поиска дорожки
.
Также исполь
-
зуется для управления функциями
.
Поверните
,
чтобы увеличить или умень
-
шить громкость
.
d
Кнопка
BAND/ESC
Нажмите
,
чтобы выбрать из трех
FM-
диапазонов и
MW/LW-
диапазонов
.
При работе с менюнажмите для возвра
-
та к обычному экрану
.
e
Кнопка
PHONE
/
/
CONNECT
Нажмите
,
чтобы выбрать телефон в
качестве источника сигнала
.
При исполь
-
зовании телефона в качестве источника
сигнала нажмите эту кнопку
,
чтобы заве
-
ршить вызов
,
отклонить входящий вызов
или отменить исходящий вызов
.
Нажмите и удерживайте для создания
соединения
Bluetooth.
Пульт дистанционного
управления
Функционирует так же
,
как кнопки на основ
-
ном устройстве
.
f
Кнопки
VOLUME
Нажмите
,
чтобы увеличить или умень
-
шить громкость
.
g
Кнопка
FUNCTION
Нажмите для выбора функций
.
h
Многофункциональный переклю
-
чатель
Сдвиньте
,
чтобы произвести ручнуюна
-
стройку с поиском
,
ускореннуюперемот
-
ку вперед
,
назад и использовать
функции поиска дорожки
.
Также исполь
-
зуется для управления функциями
.
Функционирует так же
,
как
MULTI-CONTROL
,
кроме управления
громкостью
.
i
Кнопка
DIRECT
Нажмите для прямого выбора нужной
дорожки
.
j
Кнопка
CLEAR
Нажмите для отмены номера
,
введенно
-
го с помощьюкнопок с
0
по
9
.
1
e f
g
h
i j k l m
n
2
3
4 5
6
7
8
9 a bc d
Управление данным устройством
Ru
13
Раздел
02
Управление
данным
устройством
Содержание
- 7 Сведения об этом устройстве; ВНИМАНИЕ; О формате; Перед
- 8 Совместимость; Поддержка; Воспроизведение музы
- 9 Условия эксплуатации; Посетите нашсайт; Pioneer
- 10 Снятие передней панели; OPEN; Установка передней панели; RESET
- 11 Установка батарейки; ПРЕДУПРЕЖДЕНИЕ
- 12 Основное устройство; iPod; d c; Управление данным устройством
- 13 Bluetooth; e f; Управление
- 14 Индикация на дисплее; RDS
- 15 RDM; Настройка; USB
- 16 Основные операции; Включение устройства; Выключение устройства; OFF; Выбор источника сигнала; SRC; BT AUDIO; Регулировка громкости
- 17 Тюнер
- 18 PTY; Переключение режима; PTY; Знакомство с расширенными функция
- 19 Настройка на мощные сигналы; Выбор альтернативных частот; PI
- 20 AF; REGIONAL; Прием дорожных сводок; TP; Использование функций
- 21 Список
- 22 дисков
- 23 Прямой выбор дорожки; DIRECT
- 26 Сканирование папок и дорожек; Приостановка воспроизведения; Ввод названий дисков
- 27 Подробнуюинформациюо поддерживае
- 28 Функции и их назначение
- 30 Поиск композиции; Поиск композиций по категории
- 31 Поиск композиций по алфавиту
- 32 перемешивание; SHUFFLE; перемешать все
- 33 Управление функциями; iPod nano
- 34 аудио; Подключение; Ввод; CONNECTION; BT AUDIO DEVICE; NOKIA
- 35 Отключение
- 36 аудиоплеере
- 37 DEVICE INFO; Телефон с функцией; Настройки для громкой связи
- 39 Установление соединения и регистра
- 41 Отсоединение сотового телефона
- 42 Выполнение вызовов; Наберите номер
- 43 VOICE DIAL; Прием вызовов; MUTE; Управление ожиданием вызова
- 44 Использование списка вызовов; Использование списка номеров
- 45 Изменение телефонных номеров
- 46 Вызов по
- 49 RECENT CALLS; ON HOOK
- 52 Настройка автоответчика; Включение сигнала вызова
- 53 Очистка памяти
- 54 Выбор языка меню; tooth
- 55 Знакомство с регулировками аудиопа; Регулировки аудиопараметров; Регулировки
- 56 Использование эквалайзера; Регулировка кривых эквалайзера; Вызов кривых эквалайзера из
- 57 Регулировка тонкомпенсации
- 58 Изменение настройки сабвуфера; HPF
- 59 SLA
- 60 Установка даты; Установка часов; Изменение начальных настроек; Начальные настройки
- 61 OFF CLOCK; диапазоне; FM STEP; AUTO PI; Начальны
- 62 AUX; Использование дополнительного ис
- 63 ослабления уровня сигнала; Настройка языка
- 64 Регулировка цвета подсветки
- 65 PIONEER RGB BT; EDIT DEVICE NAME; BT INFO
- 66 SOFTWARE UPDATE
- 67 Другие функции; Другие
- 69 Функции кнопки; BSM
- 70 Дополнительное оборудование
- 71 Проигрыватель; Нажмите; Дополните
- 73 автоматом компакт; ITS
- 76 DVD; Выбор диска
- 78 ТВ; Вы можете использовать данное устрой; Выбор диапазона
- 80 Сообщения об ошибках; Когда Вы обращаетесь к торговому пред
- 81 Дополнительная
- 83 Двойные диски; CD
- 84 Сжатые аудиофайлы; WMA
- 85 Пример иерархии
- 87 Обращение с; Профили
- 88 Технические характеристики
- 89 тюнер