Магнитолы Pioneer DEH-P5900MP - инструкция пользователя по применению, эксплуатации и установке на русском языке. Мы надеемся, она поможет вам решить возникшие у вас вопросы при эксплуатации техники.
Если остались вопросы, задайте их в комментариях после инструкции.
"Загружаем инструкцию", означает, что нужно подождать пока файл загрузится и можно будет его читать онлайн. Некоторые инструкции очень большие и время их появления зависит от вашей скорости интернета.

!
Ongeacht de lengte van de lege ruimte tus-
sen de fragmenten op de originele opname,
wordt er bij het afspelen van WMA/MP3/
WAV-discs altijd een korte pauze ingelast
tussen de fragmenten.
!
Bestandsextenties zoals .wma, .mp3 of
.wav moeten correct gebruikt worden.
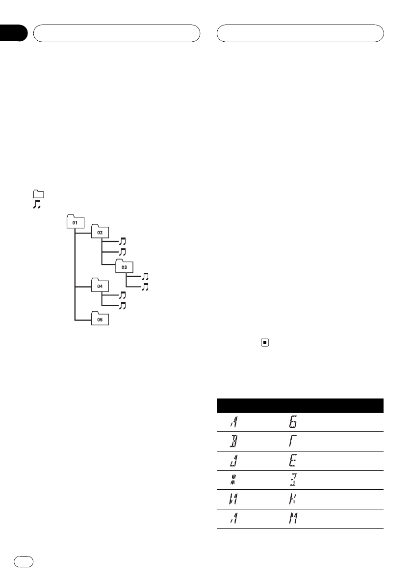
Voorbeeld van een boomstructuur
: Map
: Bestand
1
2
3
4
5
6
Niveau 1 Niveau 2
Niveau 3 Niveau 4
!
Mapnummers worden door dit toestel toe-
gewezen. Als gebruiker kunt u geen map-
nummers toewijzen.
!
De mappenstructuur kan uit maximaal
acht niveaus bestaan. Voor praktisch ge-
bruik kunt u beter niet meer dan twee ni-
veaus gebruiken.
!
Er kunnen bestanden uit maximaal 99 map-
pen worden afgespeeld.
Compatibiliteit met
gecomprimeerde audio
WMA
!
Compatibel formaat: WMA gecodeerd met
Windows Media Player versie 7, 7.1, 8, 9 of
10
!
Bitsnelheid: 48 kbps tot 320 kbps (CBR), 48
kbps tot 384 kbps (VBR)
!
Bemonsteringsfrequentie: 32 kHz tot 48
kHz
!
Windows Media Audio 9 Professional, Los-
sless, Voice: Nee
MP3
!
Bitsnelheid: 8 kbps tot 320 kbps
!
Bemonsteringsfrequentie: 16 kHz tot 48
kHz (32, 44.1, 48 kHz voor de beste kwali-
teit)
!
Compatibele ID3-tag-versie: 1.0, 1.1, 2.2,
2.3, 2.4 (ID3-tag versie 2.x krijgt prioriteit
boven versie 1.x.)
!
M3u speellijst: Nee
!
MP3i (MP3 interactive), mp3 PRO: Nee
WAV
!
Compatibel formaat: Lineair PCM (LPCM),
MS ADPCM
!
Quantisatiebits: 8 en 16 (LPCM), 4 (MS
ADPCM)
!
Bemonsteringsfrequentie: 16 kHz tot 48
kHz (LPCM), 22.05 kHz tot 44.1 kHz (MS
ADPCM)
Lijst met Russische tekens
Display
Teken
Display
Teken
А
Б
В
Г
Д
Е
,
Ё
Ж
З
И
,
Й
К
Л
М
Aanvullende informatie
Nl
100
Aanhangsel
Содержание
- 107 Сведения об этом устройстве; ВНИМАНИЕ
- 108 О формате
- 109 Снятие передней панели; OPEN; Установка передней панели; ПРЕДУПРЕЖДЕНИЕ
- 110 Направьте пульт дистанционного управле
- 111 Основное устройство; Основные операции
- 113 Регулировка громкости; VOLUME; Выключение устройства
- 114 FM; Тюнер
- 115 BSM
- 116 AF; Переключение режима
- 117 PI; PI SEEK; Включение автоматического поиска
- 118 Прием дорожных сводок
- 120 EQ; дисков
- 121 Повторное воспроизведение
- 122 диска; BMX
- 123 Ввод названий дисков
- 124 Просмотр названий дисков; Использование функций; текст
- 125 Воспроизведение файлов; Проигрыватель компакт
- 126 FUNCTION
- 127 WAV
- 128 Поиск каждой
- 134 COMP; ITS; ITS; ITS; Проигрыватель
- 135 Воспроизведение из списка
- 137 автоматом компакт
- 139 Поиск композиции
- 141 перемешивание
- 143 Использование эквалайзера; Регулировка кривых эквалайзера
- 144 Регулировка тонкомпенсации; AUDIO
- 145 Изменение настройки сабвуфера
- 148 Установка часов
- 149 диапазоне; Использование вспомогательного; Другие функции
- 151 Регулировка цвета подсветки; Стереокабель с мини
- 154 Приглушение звука
- 155 Двойные диски
- 156 Пример иерархии
- 158 Технические характеристики; Общие; Аудио