Магнитолы Pioneer DEH-2900MP (MPB) / DEH-2920MP - инструкция пользователя по применению, эксплуатации и установке на русском языке. Мы надеемся, она поможет вам решить возникшие у вас вопросы при эксплуатации техники.
Если остались вопросы, задайте их в комментариях после инструкции.
"Загружаем инструкцию", означает, что нужно подождать пока файл загрузится и можно будет его читать онлайн. Некоторые инструкции очень большие и время их появления зависит от вашей скорости интернета.

!
Quelle que soit la durée du silence entre
les plages musicales de l
’
enregistrement
original, la lecture des disques WMA/MP3/
WAV s
’
effectuera avec une courte pause
entre les plages musicales.
!
Les extensions de fichier telles que .wma,
.mp3 ou .wav doivent être utilisées correc-
tement.
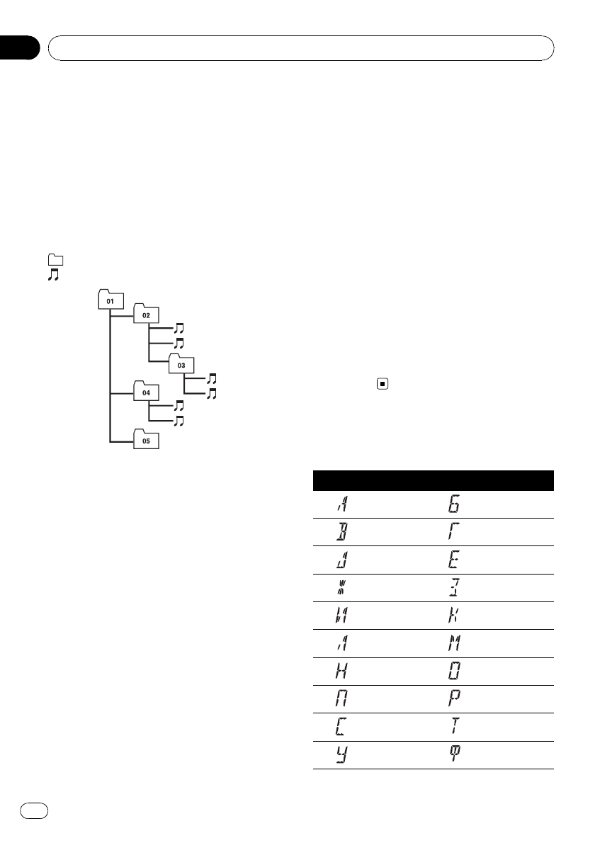
Exemple de hiérarchie
: Dossier
: Fichier
1
2
3
4
5
6
Niveau 1 Niveau 2 Niveau 3 Niveau 4
!
Cet appareil attribue les numéros de dos-
sier. L
’
utilisateur ne peut pas attribuer les
numéros de dossier.
!
Huit niveaux maximum sont autorisés pour
la hiérarchie des dossiers. Toutefois, la hié-
rarchie des dossiers est dans la pratique in-
férieure à deux niveaux.
!
L
’
appareil peut lire un maximum de 99 dos-
siers sur un disque.
Compatibilité des formats
audio compressés
WMA
!
Format compatible : WMA encodé par
Windows Media Player Ver. 7, 7.1, 8, 9 ou 10
!
Débit binaire : 48 kbit/s à 320 kbit/s (CBR),
48 kbit/s à 384 kbit/s (VBR)
!
Fréquence d
’
échantillonnage : 32 kHz à 48
kHz
!
Windows Media Audio 9 Professional, Loss-
less, Voice : Non
MP3
!
Débit binaire : 8 kbit/s à 320 kbit/s
!
Fréquence d
’
échantillonnage : 16 kHz à 48
kHz (32, 44,1, 48 kHz pour accentuation)
!
Compatible étiquette ID3 version : 1.0, 1.1,
2.2, 2.3, 2.4 (la Version 2.x de l
’
étiquette ID3
a priorité sur la Version 1.x.)
!
Liste de lecture M3u : Non
!
MP3i (MP3 interactif), mp3 PRO : Non
WAV
!
Format compatible : PCM Linéaire (LPCM),
MS ADPCM
!
Bits de quantification : 8 et 16 (LPCM), 4
(MS ADPCM)
!
Fréquence d
’
échantillonnage : 16 kHz à 48
kHz (LPCM), 22,05 kHz à 44,1 kHz (MS
ADPCM)
Tableau des caractères
cyrilliques
Affichage
Caractère
Affichage
Caractère
А
Б
В
Г
Д
Е
,
Ё
Ж
З
И
,
Й
К
Л
М
Н
О
П
Р
С
Т
У
Ф
Informations complémentaires
Fr
20
Annexe
Содержание
- 65 Сведения об этом устройстве; ВНИМАНИЕ
- 66 Снятие передней панели; Нажмите кнопку
- 67 Установка передней панели; Передняя панель и основное устройство
- 68 Основное устройство; AUX; Эксплуатация данного устройства
- 69 можно использовать до; ATT; Жидкокристаллический дисплей
- 70 AF; Основные операции; Включение устройства и; Регулировка громкости; Тюнер; Прослушивание радиоприемника
- 71 FM; Запоминание и повторный; BSM
- 72 DISPLAY; PTY; Использование функции Поиск
- 73 Прием дорожных сводок
- 74 Список; Встроенный проигрыватель; Воспроизведение диска; Воспроизведение начнется автоматически; Поиск каждой; Сообщения об ошибках
- 75 Воспроизведение дорожек в; Повторное воспроизведение; Сканирование дорожек и папок; Повторное воспроизведение
- 76 BMX
- 77 Регулировки; Использование регулировки; Использование эквалайзера
- 78 Регулировка кривых эквалайзера; Регулировка нижних; Регулировка тонкомпенсации; Регулировка уровней входных; Другие функции; Изменение начальных настроек
- 79 PI; Эту функцию можно использовать с
- 80 Экономия энергии аккумулятора; Приглушение звука
- 81 Устранение неисправностей; Рекомендации по обращению
- 82 Двойные диски; CD; Файлы; Дополнительная информация
- 83 Romeo; Пример иерархии
- 85 Технические характеристики












