Магнитолы Panasonic CQ-VD7003W - инструкция пользователя по применению, эксплуатации и установке на русском языке. Мы надеемся, она поможет вам решить возникшие у вас вопросы при эксплуатации техники.
Если остались вопросы, задайте их в комментариях после инструкции.
"Загружаем инструкцию", означает, что нужно подождать пока файл загрузится и можно будет его читать онлайн. Некоторые инструкции очень большие и время их появления зависит от вашей скорости интернета.

123
CQ-VD7003W
22
êê
ÛÛÒÒ
ÒÒÍÍ
ËË
ÈÈ
¡
êÂÍÓÏẨÛÂÚÒfl ÔÓ ‚ÓÁÏÓÊÌÓÒÚË ËÁ·Âʇڸ Á‡ÔËÒË
Ù‡ÈÎÓ‚ CD-DA Ë MP3/WMA ̇ Ó‰ÌÓÏ ‰ËÒÍÂ.
¡
èË Ì‡Î˘ËË Ù‡ÈÎÓ‚ CD-DA Ë Ù‡ÈÎÓ‚ MP3 ËÎË WMA ̇
Ó‰ÌÓÏ ‰ËÒÍ ÔÓÒΉӂ‡ÚÂθÌÓÒÚ¸ ‚ÓÒÔÓËÁ‚‰ÂÌËfl
ÔÂÒÂÌ ËÎË ÏÛÁ˚͇θÌ˚ı ÔÓËÁ‚‰ÂÌËÈ ÏÓÊÂÚ ·˚Ú¸
̇ۯÂ̇, ÎË·Ó ÌÂÍÓÚÓ˚ ËÁ ÌËı ÏÓ„ÛÚ ÒÓ‚ÒÂÏ ÌÂ
‚ÓÒÔÓËÁ-‚Ó‰ËÚ¸Òfl.
¡
èË ÒÓı‡ÌÂÌËË ‰‡ÌÌ˚ı MP3 Ë ‰‡ÌÌ˚ı WMA ̇ Ó‰ÌÓÏ
‰ËÒÍÂ, Ëı ÒΉÛÂÚ ÔÓÏÂÒÚËÚ¸ ‚ ‡ÁÌ˚ı ÙÓΉ‡ı.
¡
çÂθÁfl Á‡ÔËÒ˚‚‡Ú¸ Ù‡ÈÎ˚, ËÌ˚ ˜ÂÏ MP3/WMA, Ë
ÌÂÌÛÊÌ˚È ÙÓΉ ̇ ‰ËÒÍÂ.
¡
ç‡Á‚‡ÌË هÈ· MP3/WMA ‰ÓÎÊÌÓ ·˚Ú¸ ̇ÔËÒ‡ÌÓ ‚
ÒÓÓÚ‚ÂÚÒÚ‚ËË Ò ÌËÊÂÛ͇Á‡ÌÌ˚ÏË Ô‡‚Ë·ÏË Ë Ô‡‚Ë·ÏË,
ÛÒÚ‡ÌÓ‚ÎÂÌÌ˚ÏË ‰Îfl ͇ʉÓÈ Ù‡ÈÎÓ‚ÓÈ ÒËÒÚÂÏ˚.
¡
Ç Á‡‚ËÒËÏÓÒÚË ÓÚ ÙÓχڇ هȷ ‡Ò¯ËÂÌË “.mp3” ËÎË
“.wma” ‰ÓÎÊÌÓ ·˚Ú¸ ÔËÒ‚ÓÂÌÓ Í‡Ê‰ÓÏÛ Ù‡ÈÎÛ.
¡
î‡ÈÎ˚ MP3/WMA, Á‡ÔËÒ‡ÌÌ˚Â Ò ÔÓÏÓ˘¸˛ ÓÔ‰ÂÎÂÌÌ˚ı
ÍÓÏÔ¸˛ÚÂÌ˚ı ÔÓ„‡ÏÏ, ÏÓ„ÛÚ Ô‰ÒÚ‡‚ÎflÚ¸ ÔÓ·ÎÂÏÛ ÔË
‚ÓÒÔÓËÁ‚‰ÂÌËË ËÎË Ô‰ÒÚ‡‚ÎÂÌËË ËÌÙÓχˆËË Ì‡
‰ËÒÔÎÂÂ.
¡
чÌÌ˚È ‡ÔÔ‡‡Ú Ì ÓÒ̇˘ÂÌ ÙÛÌ͈ËÂÈ ÒÔËÒ͇ ‚ÓÒÔÓËÁ-
‚‰ÂÌËfl (play list).
¡
ïÓÚfl ‡ÔÔ‡‡Ú ÔÓ‰‰ÂÊË‚‡ÂÚ ÏÌÓ„ÓÒ‡ÌÒÓ‚Û˛ (Multi-session)
Á‡ÔËÒ¸, ÂÍÓÏẨÛÂÚÒfl ÔËÏÂÌflÚ¸ ÂÊËÏ ‰ËÒÍ Á‡ Ó‰ËÌ ‡Á
(Disc-at-once) ÔË Á‡ÔËÒË.
èÓ‰‰ÂÊË‚‡ÂÏ˚ هÈÎÓ‚˚ ÒËÒÚÂÏ˚
ISO 9660 ìÓ‚Â̸ 1/ìÓ‚Â̸ 2, ê‡Ò¯ËÂÌË Apple ÔÓ ISO 9660,
Joliet, Romeo
èËϘ‡ÌËÂ:
¡
Apple HFS, UDF 1,50, Mix CD Ë CD Extra Ì ÔÓ‰‰ÂÊË‚‡˛ÚÒfl.
Recording MP3/WMA files on a CD-media
èÓfl‰ÓÍ ‚˚·Ó‡ ÙÓΉÂÓ‚/‚ÓÒÔÓËÁ‚‰ÂÌËfl Ù‡ÈÎÓ‚
å‡ÍÒ. ˜ËÒÎÓ Ù‡ÈÎÓ‚/ÙÓΉÂÓ‚
¡
å‡ÍÒ. ˜ËÒÎÓ Ù‡ÈÎÓ‚:511 (Ù‡ÈÎ˚ + ÙÓΉÂ˚)
¡
å‡ÍÒ. ˜ËÒÎÓ Ù‡ÈÎÓ‚ ‚ Ó‰ÌÓÏ ÙÓΉÂÂ: 255
¡
å‡ÍÒ. „ÎÛ·ËÌ˚ ‰Â‚ӂˉÌÓÈ ÒÚÛÍÚÛ˚: 8
¡
å‡ÍÒ. ˜ËÒÎÓ ÙÓΉÂÓ‚: 255 (‚Íβ˜‡fl ÍÓÌ‚ÓÈ ÙÓΉÂ)
èËϘ‡ÌËÂ:
¡
åÓÊÌÓ ÒÓ͇ÚËÚ¸ ‚ÂÏfl ÏÂÊ‰Û Ò˜ËÚ˚‚‡ÌËÂÏ ‰‡ÌÌ˚ı Ë
‚ÓÒÔÓËÁ‚‰ÂÌËÂÏ ÔÛÚÂÏ ÛÏÂ̸¯ÂÌËfl ÍÓ΢ÂÒÚ‚‡ Ù‡ÈÎÓ‚
ËÎË ÙÓΉÂÓ‚, ËÎË „ÎÛ·ËÌ˚ ˇıËË.
¡
ç‡ÒÚÓfl˘ËÈ ‡ÔÔ‡‡Ú Ò˜ËÚ‡ÂÚ ˜ËÒÎÓ ÙÓΉÂÓ‚ ÌÂÁ‡‚ËÒËÏÓ
ÓÚ ÚÓ„Ó, ËÏÂÂÚÒfl ÎË Ù‡ÈÎ MP3/WMA.
¡
ÖÒÎË ‚˚·‡ÌÌ˚È ÙÓΉ Ì ÒÓ‰ÂÊËÚ Ù‡È· MP3/WMA, ÚÓ
·ÎËʇȯË ÔÓ ÔÓÒΉӂ‡ÚÂθÌÓÒÚË ‚ÓÒÔÓËÁ‚‰ÂÌËfl
Ù‡ÈÎ˚ MP3/WMA ‚ÓÒÔÓËÁ‚Ó‰flÚÒfl.
¡
èÓÒΉӂ‡ÚÂθÌÓÒÚ¸ ‚ÓÒÔÓËÁ‚‰ÂÌËfl Ó‰ÌÓ„Ó Ë ÚÓ„Ó ÊÂ
‰ËÒ͇ ÏÓÊÂÚ ÏÂÌflÚ¸Òfl ‚ Á‡‚ËÒËÏÓÒÚË ÓÚ ÚËÔ‡ Ô·
MP3/WMA.
¡
à̉Ë͇ˆËfl “ROOT” ÔÓfl‚ÎflÂÚÒfl ÔË Ô‰ÒÚ‡‚ÎÂÌËË
̇Á‚‡ÌËfl ÍÓÌÂ‚Ó„Ó Ù‡È·.
Ä‚ÚÓÒÍÓ ԇ‚Ó
á‡ÍÓ̇ÏË Ó· ‡‚ÚÓÒÍÓÏ Ô‡‚ ‚ÓÒÔ¢ÂÌ˚ ÍÓÔËÓ‚‡ÌËÂ,
‡ÒÔÓÒÚ‡ÌÂÌËÂ Ë ÔÓÒÚ‡‚͇ χÚ¡ÎÓ‚, Á‡˘Ë˘ÂÌÌ˚ı
‡‚ÚÓÒÍËÏ Ô‡‚ÓÏ, Ú‡ÍËı, Í‡Í ÏÛÁ˚͇θÌÓ ÔÓËÁ‚Â-
‰ÂÌËÂ, ·ÂÁ ‡Á¯ÂÌËfl ‚·‰Âθˆ‡ ‡‚ÚÓÒÍÓ„Ó Ô‡‚‡, Á‡
ËÒÍβ˜ÂÌËÂÏ ÒÎÛ˜‡fl Ë̉˂ˉۇθÌÓ„Ó ÔÓθÁÓ‚‡ÌËfl.
çÂÚ „‡‡ÌÚËË
Ç˚¯ÂÛ͇Á‡ÌÌÓ ÓÔËÒ‡ÌË ÒÓÓÚ‚ÂÚÒÚ‚ÛÂÚ ÂÁÛθڇڇÏ
̇¯Ëı ËÒÒΉӂ‡ÌËÈ ÔÓ ÒÓÒÚÓflÌ˲ ̇ ‰Â͇·¸ 2005 „.
éÌÓ Ì ‰‡ÂÚ „‡‡ÌÚ˲ ̇ ‚ÓÁÏÓÊÌÓÒÚ¸ ‚ÓÒÔÓËÁ‚‰ÂÌËfl
Ù‡ÈÎÓ‚ MP3/WMA Ë Ô‰ÒÚ‡‚ÎÂÌËfl ̇ ‰ËÒÔÎÂÂ
ÒÓ‰ÂÊËÏÓÈ ‚ ÌËı ËÌÙÓχˆËË.
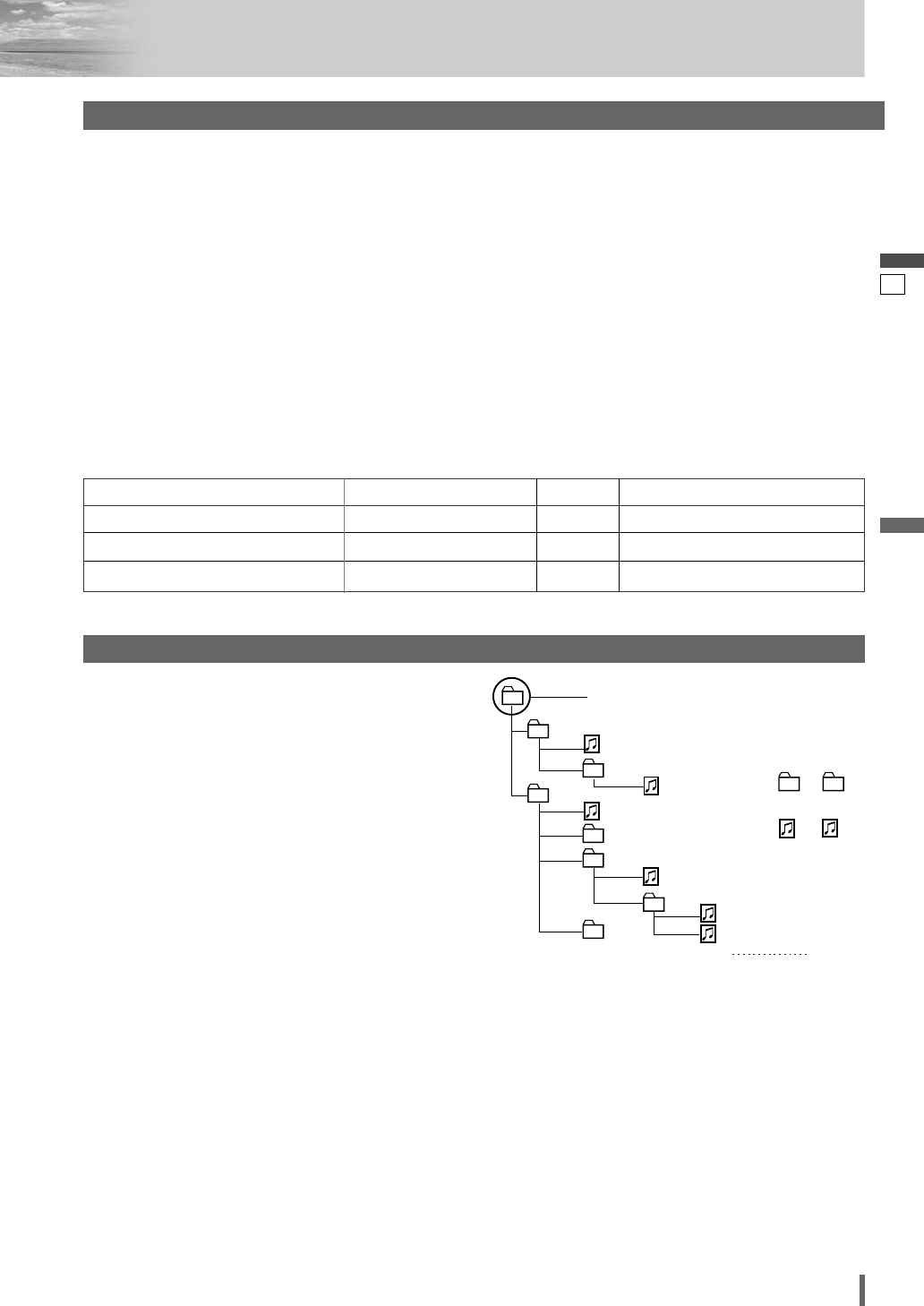
á‡ÔËÒ¸ Ù‡ÈÎÓ‚ MP3/WMA ̇ CD
Root Folder
(Root Directory)
Folder Selection
File Selection
Tree 1
Tree 2
Tree 3
Tree 4
Tree 8
(Max.)
2
1
4
3
q
q
e
w
r
t
y
y
5
6
7
1
8
8
–
In the order
–
In the order
äÓÌ‚ÓÈ ÙÓΉÂ
(ÍÓÌ‚ÓÈ Í‡Ú‡ÎÓ„)
Ç˚·Ó ÙÓΉ‡
ÑÂÂ‚Ó 8
(χÍÒ.)
ÑÂÂ‚Ó 1 ÑÂÂ‚Ó 2 ÑÂÂ‚Ó 3 ÑÂÂ‚Ó 4
Ç ÔÓfl‰ÍÂ
Ç ÔÓfl‰ÍÂ
Ç˚·Ó هȷ
* ç ÔÓ‰‰ÂÊË‚‡ÂÚÒfl WMA 9 Professional/LossLess/Voice.
32, 44,1, 48 kHz {ÍɈ}
ч
32 Í – 192 Í·ËÚÓ‚/ÒÂÍ
Windows Media Audio Ver. 2, 7, 8, 9*
16, 22,05, 24 kHz {ÍɈ}
ч
8 Í – 160 Í·ËÚÓ‚/ÒÂÍ
MPEG 2 audio layer 3 (MP3)
32, 44,1, 48 kHz {ÍɈ}
ч
32 Í – 320 Í·ËÚÓ‚/ÒÂÍ
MPEG 1 audio layer 3 (MP3)
ó‡ÒÚÓÚ‡ ÒÚÓ·ËÓ‚‡ÌËfl
VBR
ëÍÓÓÒÚ¸ Ô‰‡˜Ë ·ËÚÓ‚
åÂÚÓ‰ ÒʇÚËfl
îÓχÚ˚ ÒʇÚËfl
(
êÂÍÓÏẨ‡ˆËfl:
“äβ˜Â‚˚ ÏÓÏÂÌÚ˚ ÔË ÒÓÁ‰‡ÌËË Ù‡ÈÎÓ‚ MP3/WMA” ̇ Ô‰˚‰Û˘ÂÈ ÒÚ‡ÌˈÂ)