Магнитолы Mystery MMD-4303S - инструкция пользователя по применению, эксплуатации и установке на русском языке. Мы надеемся, она поможет вам решить возникшие у вас вопросы при эксплуатации техники.
Если остались вопросы, задайте их в комментариях после инструкции.
"Загружаем инструкцию", означает, что нужно подождать пока файл загрузится и можно будет его читать онлайн. Некоторые инструкции очень большие и время их появления зависит от вашей скорости интернета.

-15-
РУКОВОДСТВО ПО ЭКСПЛУАТАЦИИ
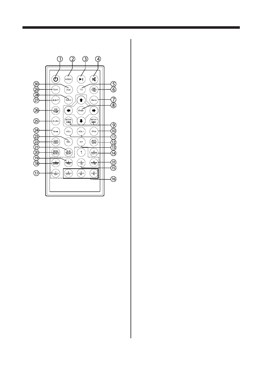
ПУЛЬТ ДУ
1. [
o
] Кнопка включения/выключения ре-
сивера/ Кнопка отключения дисплея при
движении ночью.
2. MODE Кнопка выбора режима работы
ресивера
3. [
B
] Кнопка начала/временной приоста-
новки воспроизведения
4. [
j
] Кнопка мгновенного выключения/
включения звука
5. TILT Кнопка изменения угла наклона мо-
нитора
6. TITLE Кнопка вывода на дисплей меню
названий/заголовков диска
7. MENU Кнопка входа в главное меню
8. ENTER Кнопка подтверждения выбора
9. SEEK-[
P
]/SEEK-[
O
] Кнопка поиска
радиостанции в обратном/прямом на-
правлении /Кнопка перехода к предыду-
щему/последующему треку
10. STOP Кнопка остановки воспроизведе-
ния
11. VOL+/- Кнопки увеличения/уменьшения
уровня громкости.
12. RPT/APS Кнопка включения режима по-
вторного воспроизведения/кнопка ска-
нирования запомненных станций
13. INT Кнопка включения режима сканиро-
вания звуковых дорожек
14. .2/GOTO Кнопка выбора радиостанции
из памяти, записанной под номером «2»/
кнопка воспроизведения с заданного
момента
15. 5/-10 Кнопка выбора радиостанции из
памяти, записанной под номером»5»/
кнопка перехода на 10 дорожек назад
16. Кнопки управления системой RDS.
17. 7/10+ Кнопка выбора радиостанции из
памяти, записанной под номером»7»/
кнопка перехода на 10 дорожек вперед
18. 3/STEP Кнопка выбора радиостанции из
памяти, записанной под номером»3»/
кнопка включения режима пошагового
воспроизведения
19. 4/P/N Кнопка выбора радиостанции из
памяти, записанной под номером «4»/
кнопка выбора системы цветности (PAL/
NTSC/AUTO)
20. RDM/BD/LD Кнопка включения режима
воспроизведения в случайном порядке/
кнопка выбора частотного диапазона/
кнопка включения/выключения тонком-
пенсации
21. A-B/ZOOM Кнопка воспроизведения вы-
бранного фрагмента/кнопка изменения
масштаба изображения












