Магнитолы Mystery MMD-3009S - инструкция пользователя по применению, эксплуатации и установке на русском языке. Мы надеемся, она поможет вам решить возникшие у вас вопросы при эксплуатации техники.
Если остались вопросы, задайте их в комментариях после инструкции.
"Загружаем инструкцию", означает, что нужно подождать пока файл загрузится и можно будет его читать онлайн. Некоторые инструкции очень большие и время их появления зависит от вашей скорости интернета.

-19-
РУКОВОДСТВО ПО ЭКСПЛУАТАЦИИ
-19-
8.
P O
Кнопки поиска станции/дорож-
ки / ускоренного воспроизведения в
прямом/обратном направлении
9. ST/PROG Кнопка воспроизведения в
заданном порядке / переключения ре-
жимов приема станций моно/стерео
10. OSD Кнопка вывода на дисплей инфор-
мации о диске
11. SEL Кнопка управления звуком
12. AMS/RPT Кнопка повторного воспро-
изведения / автоматической настройки
на станции
13. RDM Кнопка воспроизведения в произ-
вольном порядке
14. 1 - +10 Кнопки с цифрами
15. AUDIO Кнопка настройки звукового ка-
нала
16. PBC Кнопка вывода меню диска
17. SUB-T Кнопка выбора языка субтитров
18. GOTO Кнопка воспроизведения с за-
данного момента
19. MODE Кнопка переключения режимов
работы аппарата
20.
H
Кнопка остановки воспроизведения
21. ANGLE Кнопка выбора ракурса изобра-
жения
22. SLOW Кнопка замедленного воспроиз-
ведения
23. SETUP Кнопка вывода меню Настроек
24. TITLE Кнопка вывода меню Названий
25. ZOOM Кнопка изменения масштаба
изображения
26. EQ Кнопка выбора характеристик тем-
бра
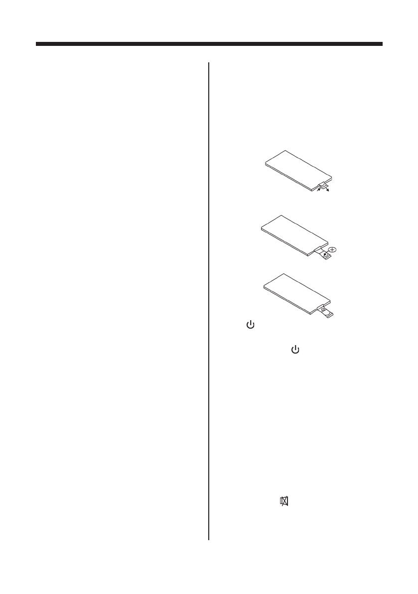
Замена элементов питания
При снижении уровня работоспособности
пульта ДУ или при невозможности выпол-
нения каких-либо операций при помощи
пульта ДУ произведите замену элементов
питания (батарея CR-2025).
1. Выдвиньте пенал для батареи, нажав на
замок к центру.
2. Установите литиевую батарею CR-2025 в
пенал.
3. Задвиньте пенал для батареи обратно.
Кнопка (Включение/выключения про-
игрывателя)
Нажатие на кнопку включает/выключает
проигрыватель.
Кнопка
B
(Кнопка временной приоста-
новки воспроизведения)
Чтобы приостановить воспроизведение CD/
MP3/WMA/VCD/DVD диска нажмите кнопку
B
(2) пульта ДУ. Для продолжения воспроиз-
ведения нажмите эту кнопку еще раз.
Кнопка MUTE (Мгновенное выключение
звука)
Нажмите кнопку (3) пульта ДУ для мгно-
венного выключения звука. Для включения
звука повторно нажмите эту же кнопку.