Магнитолы Mystery MDVD-500 - инструкция пользователя по применению, эксплуатации и установке на русском языке. Мы надеемся, она поможет вам решить возникшие у вас вопросы при эксплуатации техники.
Если остались вопросы, задайте их в комментариях после инструкции.
"Загружаем инструкцию", означает, что нужно подождать пока файл загрузится и можно будет его читать онлайн. Некоторые инструкции очень большие и время их появления зависит от вашей скорости интернета.

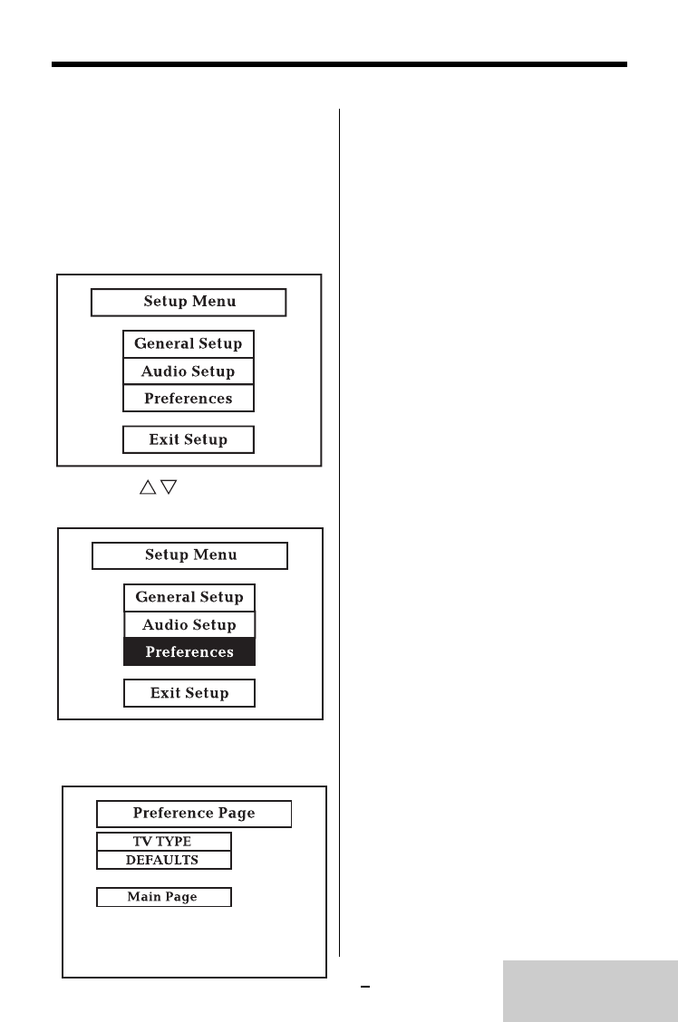
В режиме остановки нажмите
кнопку SETUP (9), на дисплей бу-
дет выведена главная страница
меню настройки.
Примечание:
Для настройки предпочтений про-
игрыватель должен находится в
режиме остановки.
(Нажмите а затем нажмите
кнопку ENTER)
На дисплей будет выведено меню на-
стройки предпочтений (Preferences)
19
Н А С Т Р О Й К А П Р О И Г Р Ы В А Т Е Л Я
M D V D – 5 0 0
Содержание
- 3 С О Д Е Р Ж А Н И Е
- 4 И Н Ф О Р М А Ц И Я П О У С Т А Н О В К Е
- 5 М Е Р Ы П Р Е Д О С Т О Р О Ж Н О С Т И
- 8 П У Л Ь Т Д И С Т А Н Ц И О Н Н О Г О У П Р А В Л Е Н И Я
- 10 О С Н О В Н Ы Е О П Е Р А Ц И И
- 13 Нажмите; Автоматическая настройка:; У П Р А В Л Е Н И Е Р А Д И О П Р И Е М Н И К О М
- 14 Р у ч н а я н а с т р о й к а
- 15 У П Р А В Л Е Н И Е D V D П Р О И Г Р Ы В А Т Е Л Е М
- 16 П о в т о р н о е в о с п р о и з в е д е н и е
- 17 В ы б о р я з ы к а с у б т и т р о в; Функция РВС активирована. Во; М е н ю н а с т р о й к и
- 20 PIC Mode
- 21 Angle Mark; OSD Lang
- 22 Captions; SCR Saver
- 23 AUDIO OUT; OP MODE
- 27 Индикатор номера названия; Для извлечения диска из отвер-; У П Р А В Л Е Н И Е М Р 3 П Р О И Г Р Ы В А Т Е Л Е М
- 29 Нажмите кнопку OPEN на пере-; У П Р А В Л Е Н И Е V C D / C D П Р О И Г Р Ы В А Т Е Л Е М
- 32 Т Е Х Н И Ч Е С К О Е О Б С Л У Ж И В А Н И Е
- 33 О ч и с т к а к о н н е к т о р а
- 34 Для снятия передней панели на-; У С Т А Н О В К А И С Н Я Т И Е П Е Р Е Д Н Е Й П А Н Е Л И
- 35 Ты л о в о й м о н т а ж ( М е т о д 2 ); Отсоедините винты защелок по; ПОРЯДОК УСТАНОВКИ И ИЗВЛЕЧЕНИЯ ПРОИГРЫВАТЕЛЯ
- 36 П о р я д о к и з в л е ч е н и я
- 37 Т Е Х Н И Ч Е С К И Е Х А Р А К Т Е Р И С Т И К И