Магнитолы Mystery MDD-7900DS - инструкция пользователя по применению, эксплуатации и установке на русском языке. Мы надеемся, она поможет вам решить возникшие у вас вопросы при эксплуатации техники.
Если остались вопросы, задайте их в комментариях после инструкции.
"Загружаем инструкцию", означает, что нужно подождать пока файл загрузится и можно будет его читать онлайн. Некоторые инструкции очень большие и время их появления зависит от вашей скорости интернета.

-15-
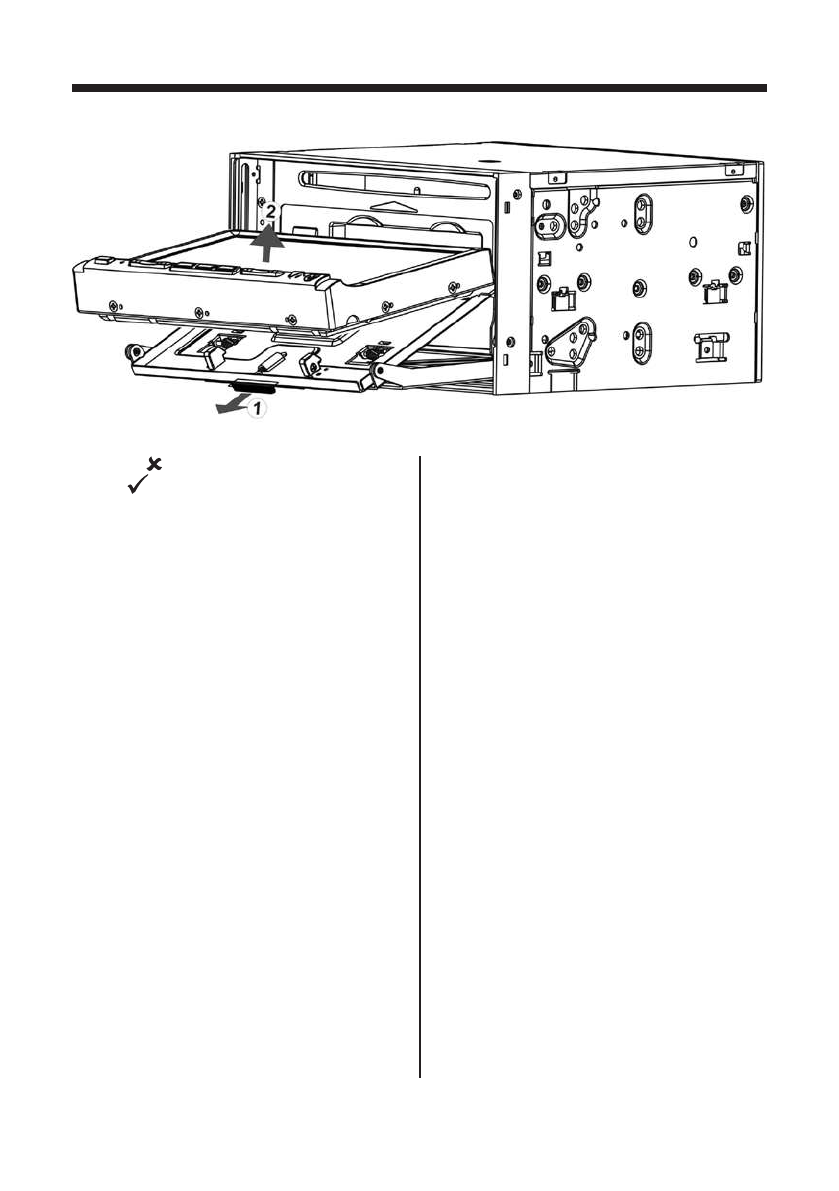
УсТаноВКа и снЯТие ПереднеЙ ПанеЛи
нажмите для отмены операции. или на-
жмите
и передняя панель отодвинется
ниже. Потяните защелку (1) на себя, как
изображено на рисунке, затем снимите пе-
реднюю панель, потянув ее вверх (2).
После снятия передней панели, металли-
ческая основа передней панели автомати-
чески вернется на место и начнет мигать
диод.
если панель не снята в течение 10 секунд,
то она автоматически задвинется на место,
и аппарат выключится.
Содержание
- 2 содержание
- 3 МерЫ ПредосТорожносТи
- 5 инФорМаЦиЯ о дисКаХ
- 9 УПраВЛение Мр3 ВосПроиЗВедениеМ
- 11 УсТаноВКа
- 12 ПодсоединениЯ
- 14 УсТаноВКа и снЯТие ПереднеЙ ПанеЛи
- 18 сенсорное МенЮ
- 19 МенЮ насТроеК сисТеМЫ
- 21 УПраВЛение радиоПриеМниКоМ
- 22 УПраВЛение ВосПроиЗВедениеМ дисКоВ/USB/SD
- 23 УПраВЛение ТВ-ПриеМниКоМ
- 24 насТроЙКа дВд-ПроиГрЫВаТеЛЯ
- 26 ПУЛЬТ дисТанЦионноГо УПраВЛениЯ
- 28 осноВнЫе неПоЛадКи и сПосоБЫ иХ УсТранениЯ
- 29 ТеХничесКие ХараКТерисТиКи