Магнитолы Kenwood KVC-1000 - инструкция пользователя по применению, эксплуатации и установке на русском языке. Мы надеемся, она поможет вам решить возникшие у вас вопросы при эксплуатации техники.
Если остались вопросы, задайте их в комментариях после инструкции.
"Загружаем инструкцию", означает, что нужно подождать пока файл загрузится и можно будет его читать онлайн. Некоторые инструкции очень большие и время их появления зависит от вашей скорости интернета.

30
Óñòàíîâêà
Êîìïëåêò ïîñòàâêè
Ïîðÿäîê óñòàíîâêè
Âíåøíèé âèä
.......... Êîëè÷åñòâî
1. Âî èçáåæàíèè êîðîòêîãî çàìûêàíèÿ íåîáõîäèìî âûíóòü êëþ÷
ç à æ è ãà í è ÿ è îòñ î åä è í è ò ü îò ð è ö àòåë ü í û é ê î í òà ê ò
àêêóìóëÿòîðà.
2. Ïîäñîåäèíèòå âñå íåîáõîäèìûå øíóðû ê âõîäíûì è âûõîäíûì
ãíåçäàì äàííîãî àïïàðàòà è ñ îîòâåòñòâóþùèì ãíåçäàì
ïîäêëþ÷àåìûõ âíåøíèõ àïïàðàòîâ.
3. Ïîäñîåäèíèòå øíóð çàçåìëåíèÿ, øíóð ïèòàíèÿ è øíóð
çàæèãàíèÿ ìîíòàæíîãî æãóòà ê ýëåêòðîïðîâîäíîé ñèñòåìå
àâòîìîáèëÿ â ïåðå÷èñëåííîé ïîñëåäîâàòåëüíîñòè.
4. Ïîäñîåäèíèòå øòåêåð ìîíòàæíîãî æãóòà ê äàííîìó àïïàðàòó.
5. Óñòàíîâèòå àïïàðàò â àâòîìîáèëü.
6. Ïîäñîåäèíèòå îòðèöàòåëüíûé êîíòàêò àêêóìóëÿòîðà.
7. Íàæìèòå ê ëàâèøó
R E S E T (
Ïåðåóñòàíîâê à). (Ñìîòðèòå
ñòðàíèöó 4).
ÂÍÈÌÀÍÈÅ
▲
!
·
Åñ ë è â ñ è ñ òå ì å ç à æ è ãà í è ÿ Â à ø å ãî à âòî ì î á è ë ÿ í å
ïðåäóñìîòðåíî ïîë îæåíèå âêëþ÷åíèÿ / âûêëþ÷åíèÿ
àêêóìóëÿòîðà, òî øíóðû çàæèãàíèÿ ñëåäóåò ïîäêëþ÷àòü ê
è ñ òî÷ í è ê ó ï è òà í è ÿ , ê îòî ð û é ì îæ åò â ê ë þ÷ àò ü ñ ÿ è
âûê ëþ÷àòüñÿ ïîâîðîòîì ê ë þ÷à çàæèãàíèÿ. Åñëè Âû
ïîäê ëþ÷èòå øíóð çàæèãàíèÿ ê ñòàáèëèçèðîâàííîì ó
(ïîñòîÿííîìó) èñòî÷íèêó íàïðÿæåíèÿ, íàïðèìåð, íàïðÿìóþ
ê øíóðà àêêóìóëÿòîðà, òî Âàø àêêóìóëÿòîð î÷åíü áûñòðî
ñÿäåò.
·
Åñ ë è ñ ãî ð åë ï ð åä î õ ð à í è òåë ü , ñ í à÷ à ë à í å î áõîä è ì î
ïðîâåðèòü âñå øíóðû íà ïðåäìåò çàìûêàíèÿ êîíòàêòîâ, à
çàòåì âñòàâèòü íîâûé ïðåäîõðàíèòåëü ñ àíàëîãè÷íûì
ïîòåíöèàëîì.
·
Óáåä è òå ñ ü â òî ì , ÷ òî í è îä è í è ç ê î í òà ê ò î â è ë è
íåïîäêëþ÷åííûõ øíóðîâ íå êàñàåòñÿ êîðïóñà àâòîìîáèëÿ
èëè äðóãèõ ïðåäìåòîâ, ïðîâîäÿùèõ ýëåêòðè÷åñòâî. Íå
ñíèìàéòå çàùèòíûå êîëïà÷êè ñ íåïîäêëþ÷åííûõ øíóðîâ
èëè êîíòàêòîâ âî èçáåæàíèè êîðîòêîãî çàìûêàíèÿ.
·
Ïîñëå óñòàíîâêè àïïàðàòà óáåäèòåñü â òîì, ÷òî ëàìïî÷êè
ñòîï-ñèãíàëîâ, ïîâîðîòíèêè, äâîðíèêè è ò.ä. ðàáîòàþò
íàäëåæàùèì îáðàçîì.
·
Èçîëèðóéòå êîíòàêòû íåïîäêëþ÷åííûõ øíóðîâ ïðè ïîìîùè
èçîëÿöèîííîé ëåíòû èëè åé ïîäîáíîãî ìàòåðèàëà.
·
Êðåïëåíèå àïïàðàòà ñëåäóåò âûïîëíÿòü ïîä óãëîì íàêëîíà
ê ãîðèçîíòàëüíîé ïëîñêîñòè íå áîëåå 30
°
.
ÂÍÈÌÀÍÈÅ
▲
!
Äëÿ êðåïëåíèÿ àïïàðàòà íåîáõîäèìî èñïîëüçîâàòü òîëüêî âõîäÿùèå â êîìïëåêò ïîñòàâêè êðåïåæíûå ïðèíàäëåæíîñòè (óêàçàíû âûøå).
Èñïîëüçîâàíèå äðóãèõ êðåïåæíûõ ïðèíàäëåæíîñòåé ìîæåò ïðèâåñòè ê ïîâðåæäåíèþ àïïàðàòà.
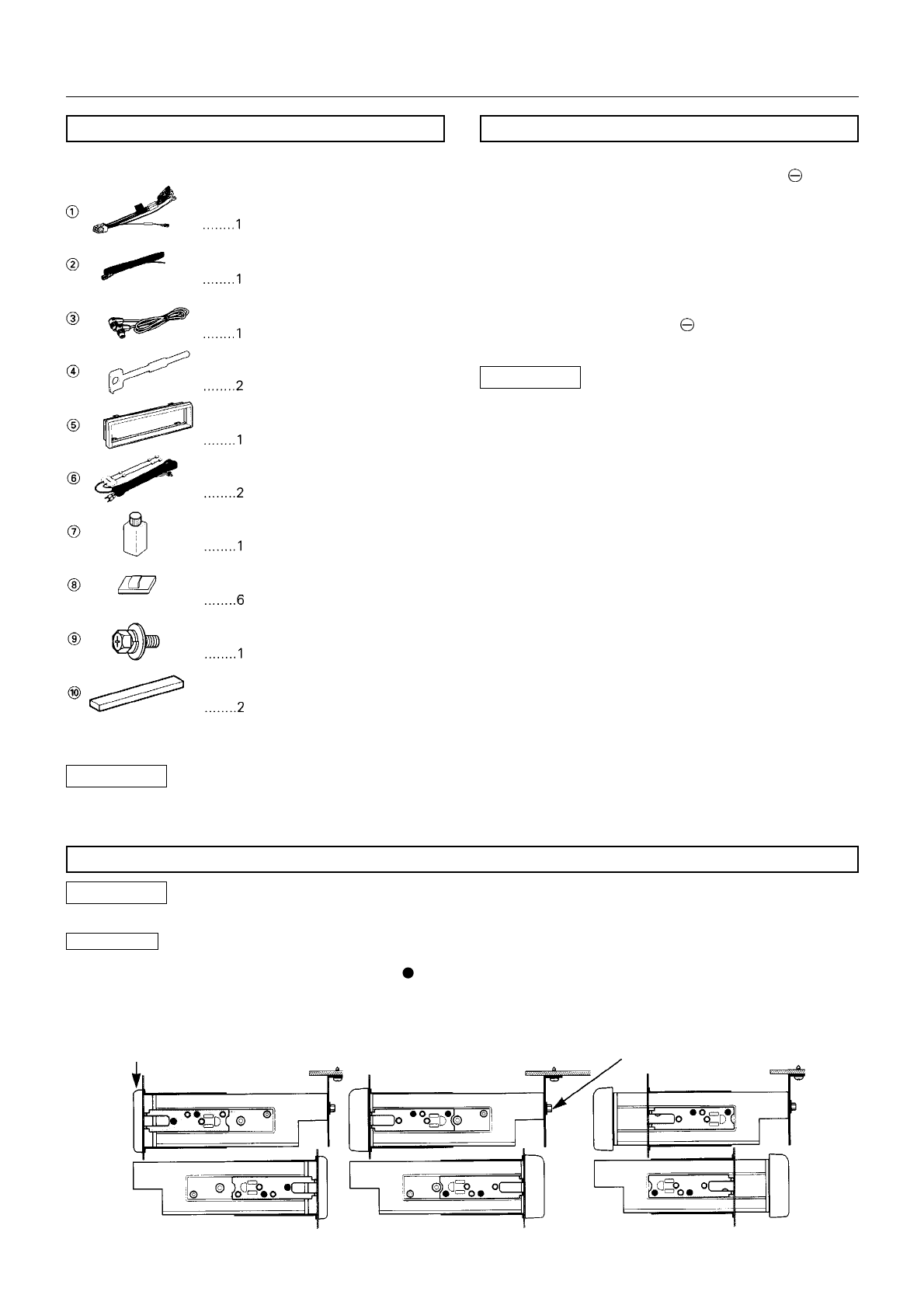
Óñòàíîâêà ìîíèòîðà
ÂÍÈÌÀÍÈÅ
▲
!
Ïðè óñòàíîâêå îñíîâíîãî àïïàðàòà ïîñëå ïðîâåðêè åãî ðàáîòîñïîñîáíîñòè ïðåæäå âñåãî çàêðîéòå ìîíèòîð.
·
Ïîäãîíèòå àðìàòóðó âûäâèæíîãî ìåõàíèçìà ñ îáåèõ ñòîðîí òàê, ÷òîáû àïïàðàò ìîæíî áûëî âñòàâèòü â ìîíòàæíóþ ðàìó, âñòàâüòå
àïïàðàò è âûáåðèòå îäíî èç 3 ïîëîæåíèé óñòàíîâêè. ( : Êðåïåæíûé âèíò).
·
Åñëè Âû âûáðàëè ïîëîæåíèå, êîãäà àðìàòóðà âûäâèæíîãî ìåõàíèçìà ðàñïîëîæåíà ìàêñèìàëüíî áëèçêî ê ïåðåäíåé ïàíåëè (ò.å.
êîãäà àïïàðàò âñòàâëåí âãëóáü äî êîíöà), òî â ýòîì ñëó÷àå ñëåäóåò èñïîëüçîâàòü æåñòêóþ ðåçèíîâóþ ëèöåâóþ ðàìêó (ïðèíàäëåæíîñòü
êîìïëåêòà ïîñòàâêè).
ÏÐÈÌÅ×ÀÍÈÅ
Ïðèíàäëåæíîñòü
Ïðèíàäëåæíîñòü












