Магнитолы Kenwood KMD-PS970R - инструкция пользователя по применению, эксплуатации и установке на русском языке. Мы надеемся, она поможет вам решить возникшие у вас вопросы при эксплуатации техники.
Если остались вопросы, задайте их в комментариях после инструкции.
"Загружаем инструкцию", означает, что нужно подождать пока файл загрузится и можно будет его читать онлайн. Некоторые инструкции очень большие и время их появления зависит от вашей скорости интернета.

42
2
Íàæèìàéòå êëàâèøó äî òåõ ïîð, ïîêà íà äèñïëåå íå ïîÿâèòñÿ èíäèêàòîð ôóíêöèè
óïðàâëåíèÿ âíåøíèì óñèëèòåëåì.
Äëÿ ïîèñêà â îáðàòíîì íàïðàâëåíèè íàæèìàéòå êëàâèøó
"
.
Èíäèêàòîð ôóíêöèè óïðàâëåíèÿ âíåøíèì óñèëèòåëåì
AMP BASS Flat”, “AMP BASS
+6
èëè
AMP BASS +12
îçíà÷àåò, ÷òî óñòàíîâëåí íîðìàëüíûé ðàñøèðåíèÿ íèæíèõ
÷àñòîò, óðîâåíü +6 èëè óðîâåíü +12 ñîîòâåòñòâåííî.
3
Âûáîð ïàðàìåòðîâ
.
Íàæìèòå ëèáî êëàâèøó ÀÌ, ëèáî êëàâèøó
FM.
Ðåæèìû äèñïëåÿ è ïàðàìåòðû èçìåíÿþòñÿ.
4
Äëÿ îòêëþ÷åíèÿ ðåæèìà ìåíþ íàæìèòå êëàâèøó
MENU
åùå ðàç.
"
ÏÐÈÌÅ×ÀÍÈÅ
Ïî ñîñòîÿíèþ íà äåêàáðü 1998 ãîäà ïðè ïîìîùè äàííîãî àïïàðàòà ìîæíî óïðàâëÿòü
ñëåäóþùèìè óñèëèòåëÿìè ìîùíîñòè:
KAC-X501F/PS501F/X401M/PS401M/X301T/PS301T/X201T/PS201T
Ôóíêöèÿ îòêëþ÷åíèÿ íàâèãàöèîííîé ñèñòåìû
Ïðè ïîäêëþ÷åíèè íàâèãàöèîííîé ñèñòåìû
KENWOOD
ïðåðûâàíèå óïðàâëåíèÿ ðàáîòîé
àóäèîñèñòåìû ïðèâîäèò ê âðåìåííîãî îñëàáëåíèþ óðîâíÿ çâóêîâîãî ñèãíàëà.
ÏÐÈÌÅ×ÀÍÈÅ
Ôóíêöèÿ îòê ëþ÷åíèÿ íàâèãàöèîííîé ñèñòåìû ìîæåò èñïîëüçîâàòüñÿ òîëüêî ïðè
ïîäêëþ÷åíèè ê íàâèãàöèîííîé ñèñòåìå
KENWOOD
ñïåöèàëüíîãî êàáåëÿ ïðèãëóøåíèÿ
çâóêà
.
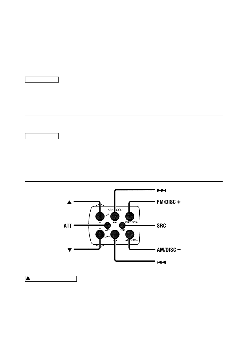
Îñíîâíûå îïåðàöèè ïóëüòà äèñòàíöèîííîãî óïðàâëåíèÿ
ÏÐÅÄÓÏÐÅÆÄÅÍÈÅ
!
Äëÿ ïðåäîòâðàùåíèÿ äîðîæíî-òðàíñïîðòíûõ ïðîèñøåñòâèé âîäèòåëþ âî âðåìÿ äâèæåíèÿ
àâòîìîáèëÿ íå ñëåäóåò èñïîëüçîâàòü ïóëüò äèñòàíöèîííîãî óïðàâëåíèÿ.
Âñòàâêà è çàìåíà ëèòèåâûõ ýëåìåíòîâ ïèòàíèÿ
:
Èñïîëüçóéòå îäèí ëèòèåâûé ýëåìåíò ïèòàíèÿ (
CR2025).
Ýëåìåíòû ïèòàíèÿ ñëåäóåò âñòàâëÿòü, êàê ïîêàçàíî íà ðèñóíêå, ñòðîãî ñîáëþäàÿ
óêàçàííóþ ïîëÿðíîñòü (+ è -).