Магнитолы JVC KW-AVX836 - инструкция пользователя по применению, эксплуатации и установке на русском языке. Мы надеемся, она поможет вам решить возникшие у вас вопросы при эксплуатации техники.
Если остались вопросы, задайте их в комментариях после инструкции.
"Загружаем инструкцию", означает, что нужно подождать пока файл загрузится и можно будет его читать онлайн. Некоторые инструкции очень большие и время их появления зависит от вашей скорости интернета.

37
TÜRKÇE
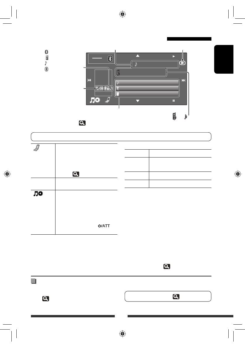
Cihazın durumu
• Sinyal gücü/Kalan pil bilgisi
(yalnızca bilgi aygıttan
geldiğinde).
Bağlanan aygıt adı
• Bağlanan aygıta bağlı olarak
veya görüntülenir.
• Herhangi bir ses cihazı bağlı değilse, “No Audio Device”
ibaresi görüntülenir.
Bluetooth simgesi
•
(Mavi): Bluetooth cihazı
( : cep telefonu*
2
/
: müzik çalar) bağlı.
•
(Beyaz): Bağlı değil.
Ekran kapalıysa, bir arama yapıldığında/SMS alındığında tekrar açılır.
[
]
• <
Dial Menu
> (Arama Menüsü)
ekranını görüntüler.
• Bağlantıyı, <
Phone Connect
>
(Telefon Bağlantısı) ile bağlanmış
olan diğer kayıtlı cep telefonuna*
4
geçirir (
42). (Basılı tutun)
[
SOURCE
]
<
Source Menu
> ekranını
görüntüler.
[
]
• <
AV Menu
> ekranını görüntüler.
• <
Voice Dialing
> (Sesli Arama)
işlevini etkinleştirir. (Basılı tutun)
− <
Voice Dialing
> (Sesli Arama)
özelliğini iptal etmek için,
monitör panelindeki herhangi bir
düğmeyi basılı tutun (
ya
de VOL +/– hariç).
Bluetooth müzik çaları kullanmak için:
[
3
]
Çalmayı başlatın.
[
4
¢
]
• Bir parça seçer.
• Geri/ileri arama. (Basılı tutun)*
5
[
8
]
Duraklar.
[
5
∞
]
Grubu seçer.*
5
*
1
Yalnızca bağlı cihaz bu işlevi destekliyorsa görüntülenir.
*
2
Sayı, <
Device Menu
>’de yer alan <
Phone Connect
> öğesindeki liste konumunu gösterir.
*
3
Etiket verisi kaydedilmemişse veya cihaz bu fonksiyonu desteklemiyorsa “No Name” (İsimsiz) ibaresi görüntülenir.
*
4
2 cep telefonu arasında geçiş yapabilirsiniz. (Üç veya daha fazla telefon bulunursa en son bağlanan cep telefonu
önceliğe sahip olur.) 3 veya daha fazla cep telefonunu kaydettirdiyseniz ve kullanmak istediğiniz telefona geçiş
yapamıyorsanız, bu telefonu <
Phone Connect
> (Telefon Bağlantısı) ile bağlayın (
42).
*
5
Cihaz işlevi desteklemiyorsa, bu özellik çalışmaz.
Bluetooth cep telefonunun/müzik çaların kullanımı
Verileri kaydedin*
1
*
3
(mevcut parça adı/sanatçı adı/albüm adı)
• Bir bilgi çubuğuna dokunulması, tüm metin gösterilmiyorsa
metni kaydırır. (Bkz. “
Scroll
”,
28.)
Parça no./Çalma süresi*
1
Çalma durumu —
3
: oynat/
8
: duraklat*
1
FLAT
Connected Device Name
Current Track Title
Artist Name
Album Title
01
0 : 01 : 20
15:45
SOURCE
Bluetooth
Bluetooth müzik çaların kullanılması
~
Kaynak için “
Bluetooth
” seçeneğini seçin.
(
10)
Ÿ
Çalmayı başlatın.
Yeni bir aygıt bağlamak için,
35.
TR_KW-AVX830[EU]_3.indb 37
TR_KW-AVX830[EU]_3.indb 37
1/27/10 5:44:10 PM
1/27/10 5:44:10 PM
Содержание
- 63 РУCCKИЙ; Как перенастроить Ваше; CОДЕРЖАНИЕ; ВВЕДЕНИЕ
- 64 Отмена демонстрации функций дисплея и установка часов; Отмена демонстрации
- 65 Отсоединение; Основные операции; Отключение или подключение панели монитора; Подключение
- 66 Основные операции на панели монитора
- 67 Основные операции на сенсорной панели
- 68 Настройка датчика подсветки
- 69 Изменение настроек в; Присвоение названий
- 70 Выбор источника воспроизведения
- 71 Прослушивание радио; ОПЕРАЦИИ С ИСТОЧНИКАМИ АУДИО/ВИДЕО
- 72 Аuto; Автоматическое; Поиск программы FM Radio
- 73 Настройка уровня громкости сообщений TA; Сохранение любимых программ; Drama; Включение или; Резервный прием TA
- 74 Отслеживание той же; PTY Резервный прием; Оff
- 75 Автоматический выбор; Активация поиска программы; Для деактивации
- 76 Операции с дисками/устройствами USB; Воспроизведение диска; Открытие панели монитора.; Принудительное; Для отмены запрещения
- 77 Тип воспроизводимых дисков; Тип диска; Dual Disc; Предостережение для воспроизведения дисков DualDisc
- 78 Воспроизведение устройства USB
- 79 Операции управления воспроизведением диска/файла
- 80 Кнопки операций на экране; Чтобы завершить операции,
- 81 Выбор папки/дорожки в; Выбор режима воспроизведения.
- 82 Прослушивание устройства iPod/iPhone; Подготовка; Подключение iPod/iPhone; Для прослушивания музыки:; Настройка режима управления iPod; Настройка для просмотра видеозаписей
- 83 Операции управления воспроизведением iPod/iPhone
- 84 Выбор дорожки или
- 85 Использование других внешних устройств; Подсоедините внешнее устройство к разъемам LINE IN/VIDEO IN.; Использование внешнего блока навигации; Просмотр экрана навигации
- 86 Используя сенсорную панель,; Операции в режиме “Dual Zone”; Отображение; Отображение изображения; Изменение форматного соотношения,
- 87 Звуковой эквалайзер; Выберите режим звучания.; Сохранение пользовательских настроек; настройте уровень громкости (; Использование камеры заднего вида; Camera; Отображение экрана заднего вида
- 94 Информация относительно использования устройств Bluetooth®; Профили Bluetooth; Информация о Bluetooth:; ОПЕРАЦИИ BLUETOOTH; Ошибка; Значки типов телефонов; Операции Bluetooth
- 95 Установка адаптера; Первое подключение
- 96 Подключение и отключение; Чтобы подсоединить; Удаление
- 97 Использование аудиопроигрывателя Bluetooth; Выберите “
- 98 Проверка приема SMS; Прием вызова; Завершение вызова; Переключение устройства
- 99 Выполнение вызова
- 100 Программирование; Выберите запрограммированный номер.; Initialize; AV; Копирование телефонной
- 101 Выбор телефонной книги/; Удаление телефонных
- 102 Настройки устройства Bluetooth
- 103 Ус
- 104 Использование пульта дистанционного управления; СПРАВОЧНАЯ ИНФОРМАЦИЯ; Операции с помощью пульта дистанционного управления (RM-RK252); Кнопка; Источник звука
- 106 Кнопки; Использование нумерованных кнопок
- 107 Разнообразные операции с; Использование меню диска; Прямой поиск элемента
- 108 Использование-экранной строки состояния; Чтобы скрыть экранную строку состояния:
- 109 Рекомендуемый способ чистки:; Чтобы поместить диск в футляр,; Чтобы удалить такие пятна,; Не используйте следующие диски:; Обслуживание
- 110 Дополнительная информация о приемнике; Воспроизведение файла; Воспроизведение файлов MPEG1/MPEG2; Диск; Общие сведения
- 111 Символу, доступные для
- 112 Звуковые сигналы, передаваемые задними терминалами
- 114 Устранение проблем; Симптомы
- 115 Общие
- 119 Технические характеристики; УСИЛИТЕЛЬ
- 121 ПРЕДУПРЕЖДЕНИЕ; ОБЩИЕ ТРЕБОВАНИЯ; Затруднения при эксплуатации?; Пожалуйста, перезагрузите Ваше устройство; соответствующую страницу











