Магнитолы JVC KW-AVX735 - инструкция пользователя по применению, эксплуатации и установке на русском языке. Мы надеемся, она поможет вам решить возникшие у вас вопросы при эксплуатации техники.
Если остались вопросы, задайте их в комментариях после инструкции.
"Загружаем инструкцию", означает, что нужно подождать пока файл загрузится и можно будет его читать онлайн. Некоторые инструкции очень большие и время их появления зависит от вашей скорости интернета.

37
РУCCKИЙ
FLAT
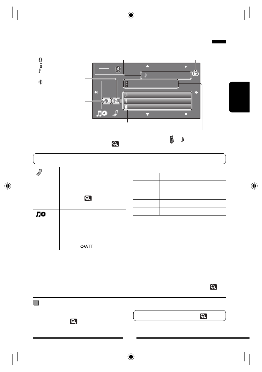
Connected Device Name
Current Track Title
Artist Name
Album Title
01
0 : 01 : 20
15:45
SOURCE
Bluetooth
Состояние устройства
• Уровень сигнала/зарядка
аккумуляторной батареи (только
если информация поступает с
устройства).
Имя подключенного устройства
• В зависимости от подключенного устройства,
отображается
или .
• Когда никакое аудиоустройство не подсоединено,
отображается “No Audio Device”.
При подключении
•
(Синий): Устройство Bluetooth
( : мобильный телефон*
2
/
: аудиопроигрыватель)
подсоединено.
•
(Белый): Нет соединения.
Когда экран выключен, он снова включается при поступлении входящего вызова или SMS.
[
]
• Отображение экрана <
Dial Menu
>.
• Переключение соединения на
другой зарегистрированный
мобильный телефон
*
4
,
подключенный с помощью <
Phone
Connect
> (
42). (Удерживать)
[
SOURCE
]
Отображение экрана <
Source Menu
>.
[
]
• Отображение экрана <
AV Menu
>.
• Включение функции <
Voice
Dialing
>. (Удерживать)
− Чтобы отменить функцию <
Voice
Dialing
>, удерживайте нажатой
любую кнопку на панели монитора
(кроме
или VOL +/–).
Для управления аудиопроигрывателем Bluetooth:
[
3
]
Начало воспроизведения.
[
4
¢
]
• Выбор дорожки.
• Поиск назад или вперед.
(Удерживание)
*
5
[
8
]
Пауза.
[
5
∞
]
Выбор группы.
*
5
*
1
Отображается, только когда подсоединенное устройство поддерживает функцию.
*
2
Число указывает позицию в списке в <
Phone Connect
> в <
Device Menu
>.
*
3
Когда отсутствуют записанные данные метки или когда устройство не поддерживает эту функцию,
отображается сообщение “No Name”.
*
4
Возможно переключение между 2 мобильными телефонами. (При обнаружении трех или более телефонов приоритет
имеет мобильный телефон, подключенный последним.) Если было зарегистрировано 3 или более мобильных
телефонов и не удается переключить на нужный телефон, подключите его с помощью <
Phone Connect
> (
42).
*
5
Не работает, если устройство не поддерживает функцию.
Использование мобильного телефона/аудиопроигрывателя Bluetooth
Данные метки*
1
*
3
(название текущей дорожки/имя исполнителя/
название альбома)
• При касании строки состояния выполняется прокрутка текста,
если весь текст не отображается. (См. “
Scroll
”,
28.)
№ дорожки/время воспроизведения*
1
Состояние воспроизведения —
3
: воспроизведение/
8
: пауза*
1
Использование аудиопроигрывателя Bluetooth
~
Выберите “
Bluetooth
” в качестве
источника.
(
10)
Ÿ
Начало воспроизведения.
Подсоединение нового устройства,
35.
RU_KW-AVX830[EU]_3.indb 37
RU_KW-AVX830[EU]_3.indb 37
10.1.26 5:29:55 PM
10.1.26 5:29:55 PM
Содержание
- 63 РУCCKИЙ; Как перенастроить Ваше; CОДЕРЖАНИЕ; ВВЕДЕНИЕ
- 64 Отмена демонстрации функций дисплея и установка часов; Отмена демонстрации
- 65 Отсоединение; Основные операции; Отключение или подключение панели монитора; Подключение
- 66 Основные операции на панели монитора
- 67 Основные операции на сенсорной панели
- 68 Настройка датчика подсветки
- 69 Изменение настроек в; Присвоение названий
- 70 Выбор источника воспроизведения
- 71 Прослушивание радио; ОПЕРАЦИИ С ИСТОЧНИКАМИ АУДИО/ВИДЕО
- 72 Аuto; Автоматическое; Поиск программы FM Radio
- 73 Настройка уровня громкости сообщений TA; Сохранение любимых программ; Drama; Включение или; Резервный прием TA
- 74 Отслеживание той же; PTY Резервный прием; Оff
- 75 Автоматический выбор; Активация поиска программы; Для деактивации
- 76 Операции с дисками/устройствами USB; Воспроизведение диска; Открытие панели монитора.; Принудительное; Для отмены запрещения
- 77 Тип воспроизводимых дисков; Тип диска; Dual Disc; Предостережение для воспроизведения дисков DualDisc
- 78 Воспроизведение устройства USB
- 79 Операции управления воспроизведением диска/файла
- 80 Кнопки операций на экране; Чтобы завершить операции,
- 81 Выбор папки/дорожки в; Выбор режима воспроизведения.
- 82 Прослушивание устройства iPod/iPhone; Подготовка; Подключение iPod/iPhone; Для прослушивания музыки:; Настройка режима управления iPod; Настройка для просмотра видеозаписей
- 83 Операции управления воспроизведением iPod/iPhone
- 84 Выбор дорожки или
- 85 Использование других внешних устройств; Подсоедините внешнее устройство к разъемам LINE IN/VIDEO IN.; Использование внешнего блока навигации; Просмотр экрана навигации
- 86 Используя сенсорную панель,; Операции в режиме “Dual Zone”; Отображение; Отображение изображения; Изменение форматного соотношения,
- 87 Звуковой эквалайзер; Выберите режим звучания.; Сохранение пользовательских настроек; настройте уровень громкости (; Использование камеры заднего вида; Camera; Отображение экрана заднего вида
- 94 Информация относительно использования устройств Bluetooth®; Профили Bluetooth; Информация о Bluetooth:; ОПЕРАЦИИ BLUETOOTH; Ошибка; Значки типов телефонов; Операции Bluetooth
- 95 Установка адаптера; Первое подключение
- 96 Подключение и отключение; Чтобы подсоединить; Удаление
- 97 Использование аудиопроигрывателя Bluetooth; Выберите “
- 98 Проверка приема SMS; Прием вызова; Завершение вызова; Переключение устройства
- 99 Выполнение вызова
- 100 Программирование; Выберите запрограммированный номер.; Initialize; AV; Копирование телефонной
- 101 Выбор телефонной книги/; Удаление телефонных
- 102 Настройки устройства Bluetooth
- 103 Ус
- 104 Использование пульта дистанционного управления; СПРАВОЧНАЯ ИНФОРМАЦИЯ; Операции с помощью пульта дистанционного управления (RM-RK252); Кнопка; Источник звука
- 106 Кнопки; Использование нумерованных кнопок
- 107 Разнообразные операции с; Использование меню диска; Прямой поиск элемента
- 108 Использование-экранной строки состояния; Чтобы скрыть экранную строку состояния:
- 109 Рекомендуемый способ чистки:; Чтобы поместить диск в футляр,; Чтобы удалить такие пятна,; Не используйте следующие диски:; Обслуживание
- 110 Дополнительная информация о приемнике; Воспроизведение файла; Воспроизведение файлов MPEG1/MPEG2; Диск; Общие сведения
- 111 Символу, доступные для
- 112 Звуковые сигналы, передаваемые задними терминалами
- 114 Устранение проблем; Симптомы
- 115 Общие
- 119 Технические характеристики; УСИЛИТЕЛЬ
- 121 ПРЕДУПРЕЖДЕНИЕ; ОБЩИЕ ТРЕБОВАНИЯ; Затруднения при эксплуатации?; Пожалуйста, перезагрузите Ваше устройство; соответствующую страницу