Магнитолы JVC KD-SX924R - инструкция пользователя по применению, эксплуатации и установке на русском языке. Мы надеемся, она поможет вам решить возникшие у вас вопросы при эксплуатации техники.
Если остались вопросы, задайте их в комментариях после инструкции.
"Загружаем инструкцию", означает, что нужно подождать пока файл загрузится и можно будет его читать онлайн. Некоторые инструкции очень большие и время их появления зависит от вашей скорости интернета.

Снижение громкости при использовании сотового телефона
Этот режим используется при подключении сотового телефона. В зависимости от системы
используемого телефона выберите либо "MUTING 1", либо "MUTING 2", и проверьте, какое
из значений приводит к отключению звука.
При поставке с фабрики этот режим отключен.
• MUTING 1: Выберите этот режим, если он приводит к отключению звука.
• MUTING 2: Выберите этот режим, если он приводит к отключению звука.
• OFF: Отключение функции снижения громкости при использовании сотового телефона.
Нажмите кнопку SEL (выбор) и удерживайте в течение двух секунд до тех пор, пока на
дисплее не появится один из пунктов PSM.
Выберите "TEL" (телефон) при помощи кнопок или
Выберите желаемый режим при помощи диска управления.
Режим снижения громкости при использовании сотового телефона переключается
следующим образом:
MUTING 1
MUTING 2
OFF
Включение/выключение звукового сигнала при нажатии кнопок
(ТОЛЬКО ДЛЯ KD-SX979R)
Вы можете отключить звуковой сигнал при нажатии кнопок, если Вы не хотите, чтобы он
звучал при нажатии. При поставке устройства с фабрики звуковой сигнал включен.
• ON: Включение звукового сигнала при нажатии кнопки.
• OFF: Отключение звукового сигнала при нажатии кнопки.
1 Нажмите кнопку SEL (выбор) и удерживайте в течение двух секунд до тех пор, пока на
дисплее не появится один из пунктов PSM.
2 При помощи кнопок или выберите "ВЕЕР".
3 Выберите желаемый режим при помощи диска управления.
Звуковой сигнал при нажатии кнопок попеременно включается и выключается.
ON «-> OFF
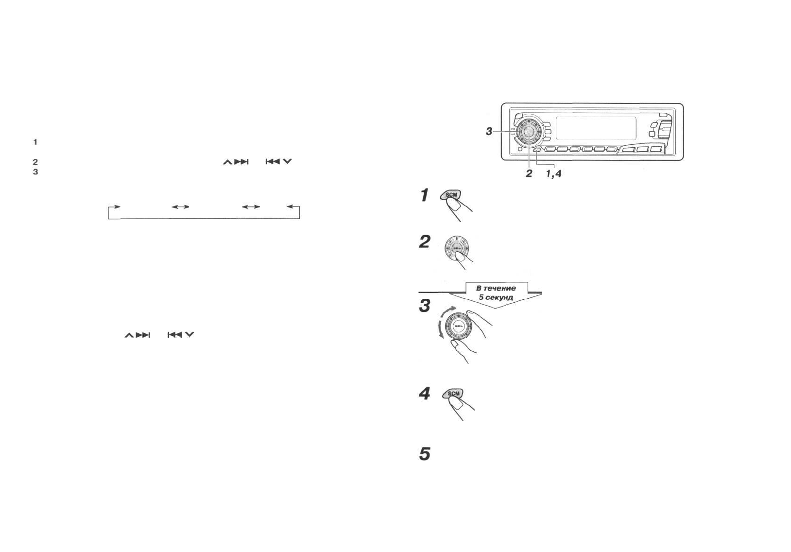
Сохранения Ваших настроек звучания
Вы можете настроить режим звучания (BEAT, SOFT, POP: см. страницу 23) в соответствии с
Вашими вкусами и сохранить настройки в памяти.
Вызовите режим звучания, который Вы желаете на-
страивать.
Для получения более подробной информации обратитесь на страницу 23.
Выберите "ВАЗ" (низкие частоты), "TRE" (высокие
частоты) или "LOUD" (компенсация тона).
Настройте уровень высоких или низких частот,
или включите/выключите функцию компенсации
тона.
Для получения более подробной информации обратитесь на стра-
ницу 22.
Нажмите и удерживайте кнопку SCM (Память управ-
ления звучанием) до тех пор, пока выбранный Вами
в пункте 1 режим звучания не замигает на дисплее.
Ваши настройки сохранены в памяти.
32
25
Повторите те же процедуры для сохранения других настроек.
Для восстановления фабричных значений
Повторите те же процедуры и установите значения согласно списка фабричных значений,
приведенных на странице 23.











