Магнитолы JVC KD-R406 - инструкция пользователя по применению, эксплуатации и установке на русском языке. Мы надеемся, она поможет вам решить возникшие у вас вопросы при эксплуатации техники.
Если остались вопросы, задайте их в комментариях после инструкции.
"Загружаем инструкцию", означает, что нужно подождать пока файл загрузится и можно будет его читать онлайн. Некоторые инструкции очень большие и время их появления зависит от вашей скорости интернета.

19
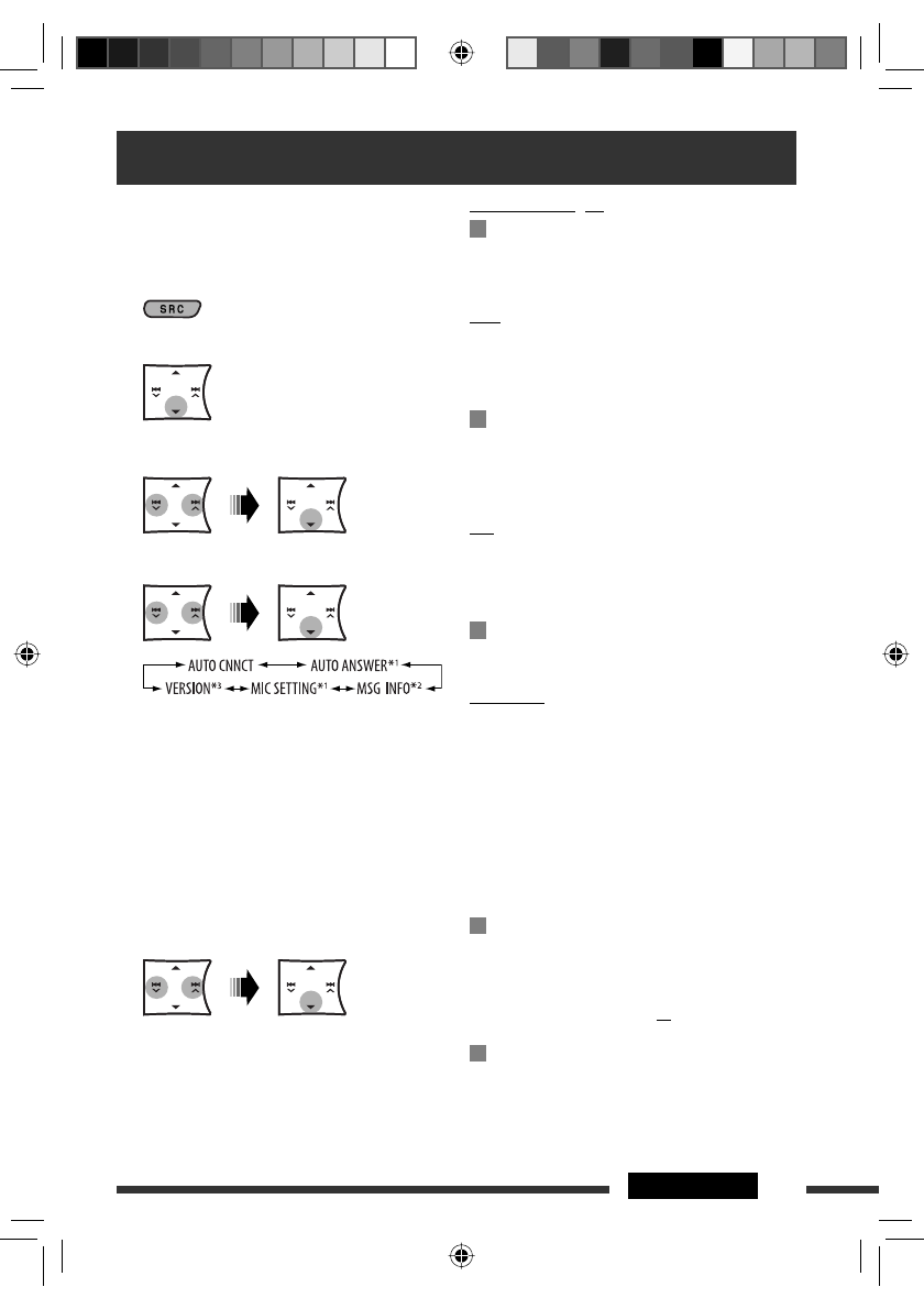
НАСТРОЙКИ
Меню настроек
( : По умолчанию)
AUTO CNNCT
(подключение)
При включении устройства автоматически
устанавливается соединение с...
OFF
:
Ни с одним из устройств Bluetooth.
LAST
: Устройством
Bluetooth,
подключенным
последним.
ORDER
: Найденное первым зарегистрированное
устройство Bluetooth.
AUTO ANSWER
Только для устройства, подключаемого в режиме
“BT-PHONE”.
ON
:
Устройство автоматически отвечает на
входящие вызовы.
OFF
:
Устройство не отвечает автоматически на
вызовы. Ответ необходимо выполнять
вручную.
REJECT
: Все входящие вызовы отклоняются.
MSG INFO
(информация о сообщении)
Только для устройства, подключаемого в режиме
“BT-PHONE”.
AUTOMATIC
: Приемник информирует пользователя
о получении сообщения с помощью
звукового сигнала и отображения
сообщения “RCV MESSAGE” (прием
сообщения).
• Подсветка дисплея становится
синей (см. “
RING COLOR
” на
стр. 21).
MANUAL
:
Приемник не информирует
пользователя о принятии сообщения.
MIC SETTING
(настройка микрофона)
Только для устройства, подключаемого в режиме
“BT-PHONE”.
Настройка громкости микрофона, подключенного к
адаптеру Bluetooth, [LEVEL 01/02/03].
VERSION
Отображаются версии программного и аппаратного
обеспечения Bluetooth.
Приведенные в правом столбце настройки можно
изменить в соответствии с предпочтениями
пользователя.
1
Выберите “BT-PHONE” или “BT-AUDIO”.
2
Выберите меню “Bluetooth”.
3
Выберите “SETTINGS”.
4
Выберите элемент настройки.
*
1
Отображается, только если подключен
телефон с Bluetooth.
*
2
Отображается, только если подключен
телефон с Bluetooth, поддерживающий
передачу текстовых сообщений (через
адаптер JVC Bluetooth).
*
3
Bluetooth аудио: Отображает только
“Version” (Версию).
5
Измените настройку.
Настройки Bluetooth
RU16-21_KD-R406[U]f.indd 19
RU16-21_KD-R406[U]f.indd 19
9/3/08 2:57:21 PM
9/3/08 2:57:21 PM
Содержание
- 2 ВАЖНО ДЛЯ ЛАЗЕРНОЙ АППАРАТУРЫ
- 3 CОДЕРЖАНИЕ; ОПЕРАЦИИ; ВНЕШНИЕ УСТРОЙСТВА; Использование устройств Bluetooth; Прослушивание с устройства автоматической; НАСТРОЙКИ; Выбор запрограммированного режима; СПРАВОЧНАЯ ИНФОРМАЦИЯ; Дополнительная информация о
- 4 Основные операции; Использование панели управления
- 7 Подготовка; Отмена демонстрации функций дисплея и настройка часов; Отмена демонстрации функций дисплея
- 8 Прослушивание радио; Bыберите “FM” или “AM”.; При слабом стереофоническом; Автоматическое программирование
- 9 Запоминание станций в ручном; Операции с дисками; Запрещение извлечения диска; Выбор дорожки или папки
- 10 ОПЕРАЦИИ И ВНЕШНИЕ УСТРОЙСТВА; Выбор режимов; REPEAT; Регистрация устройства
- 11 Подключение устройства
- 12 Выполнение вызова; Использование сотового телефона Bluetooth; Выберите меню “Bluetooth”.
- 14 Перейдите в режим списка.
- 15 Прослушивание проигрывателя iPod; Выбор дорожки из меню; Выбор режимов воспроизведения
- 16 Прослушивание с других внешних устройств; Выберите “EXT INPUT” или “AUX IN”.
- 17 Выбор запрограммированного режима звучания; Сохранение собственного
- 18 Присвоение названия; Удаление названия полностью
- 19 Настройки Bluetooth
- 20 Операции с меню
- 23 Создание собственного цвета; Настройки цветов
- 24 Включение питания; Операции с тюнером; Сохранение радиостанций; Общие сведения; Дополнительная информация о приемнике
- 25 Извлечение диска; Операции Bluetooth; Воспроизведение диска MP3/WMA
- 26 iPod
- 27 Устранение проблем
- 31 Очистка разъемов; Хранение дисков в чистом виде; Обслуживание
- 32 Технические характеристики
- 34 Затруднения при эксплуатации?; Пожалуйста, перезагрузите Ваше устройство; Для получения информации о перезагрузке Вашего устройства