Магнитолы JVC KD-AVX77 - инструкция пользователя по применению, эксплуатации и установке на русском языке. Мы надеемся, она поможет вам решить возникшие у вас вопросы при эксплуатации техники.
Если остались вопросы, задайте их в комментариях после инструкции.
"Загружаем инструкцию", означает, что нужно подождать пока файл загрузится и можно будет его читать онлайн. Некоторые инструкции очень большие и время их появления зависит от вашей скорости интернета.

17
AV MENU
УКРАЇНА
Продовження на наступній сторінці
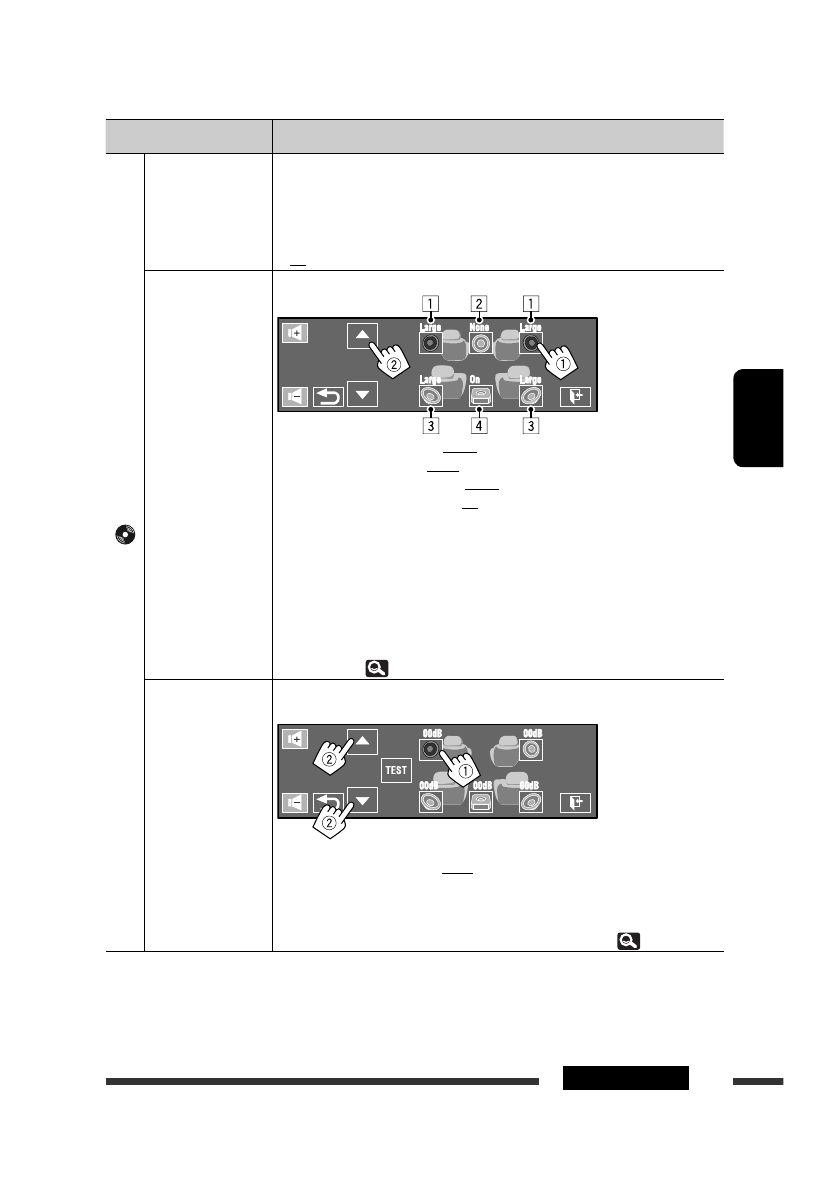
Пункт меню
Параметр/елемент, що доступні для налаштування
Диск
D.
(Dynamic)
Range Compres.
(Compression)
*
7
При відтворенні програм Dolby Digital з диску можна насолоджуватись
потужним звуком навіть при невеликому рівні гучності.
♦
Auto
♦
On
: При виборі даного параметру ефект буде використовуватись
при відтворенні з використанням програмного
забезпечення для багатоканального кодованого звуку.
: Виберіть для постійного застосування цієї функції.
Speaker Size
*
6,
*
7
Можна регулювати розмір колонки.
♦
Передні колонки: Small, Large
♦
Центральна колонка: None, Small, Large
♦
Задні колонки: None, Small, Large
♦
Низькочастотний динамік: On, Off
• Розмір колонки: <
Large
> для діаметру 13 см або більше; <
Small
> для
13 см або менше.
• Передні колонки та задні колонки: ліві та праві колонки не можна
регулювати окремо.
Незважаючи на налаштування, що вказані вище...
• Звук не виходить з низькочастотного динаміка при відтворенні кінопрограм
або музики Dolby Pro Logic
II
, якщо колонка налаштована на <
Large
>.
• Звук не виходить з центральної колонки, якщо функція об’ємного звучання
відключена. (
21)
Speaker Level
*
6
Можна регулювати рівень вихідного сигналу активних колонок (вище),
відстежуючи випробний тональний сигнал.
Регулювання рівня вихідного сигналу кожної колонки в межах від
–10dB
до
+10dB
; Початкове значення
00dB
• Торкніться [
TEST
], щоб увімкнути випробний тональний сигнал. Щоб
зупинити, торкніться [
CANCEL
].
• Зміни у налаштуваннях рівня низькочастотного динаміка вступлять у дію
лише тоді, коли активована функція об’ємного звучання. (
21)
*
6
Вибір можна здійснювати тільки для “
DISC/USB
”.
*
7
Відтворення зупиняється у разі зміни цього параметру.
*
8
Для відтворення зображень Artwork потрібно 5 секунд або більше, і під час завантаження жодні операції
недоступні.
*
9
Вибір можна здійснювати тільки для “
iPod USB
”.
1
Передні
колонки
2
Центральна
колонка
3
Задні колонки
4
Низькочастотний
динамік
Содержание
- 75 РУCCKИЙ; Как перенастроить Ваше; Как пользоваться данным руководством:; Указатель операций; CОДЕРЖАНИЕ; ВВЕДЕНИЕ; Использование устройств Bluetooth®; СПРАВОЧНАЯ ИНФОРМАЦИЯ
- 76 Тип воспроизводимых дисков; Тип диска; Предостережение для воспроизведения дисков DualDisc
- 77 Использование панели монитора/сенсорной панели; Основные операции; Подсоединение панели монитора
- 78 Предостережение, касающееся
- 79 Меню источника; Быстрое меню
- 83 Завершите процедуру.; Подготовка; Отмена демонстрации функций дисплея и установка часов
- 84 Общее представление о меню AV; Отображение меню AV.
- 85 Элемент меню; Установки
- 87 Часы
- 93 Включение функции объемного звучания; Выберите режим объемного звучания.
- 94 На пульте дистанционного управления:; Изменение настройки
- 95 Запрограммированные настройки эквалайзера; Сохранение пользовательских настроек; Эквалайзер
- 96 Звук
- 97 Режим
- 99 Сохранение запрограммированной радиостанции/службы вручную; Список
- 100 Двойная Зона
- 105 Прослушивание радио
- 106 Поиск программы FM Radio Data System—поиск PTY
- 108 Принудительное извлечение; Операции с дисками; Открытие панели монитора.; Запрещение извлечения диска; Для отмены запрещения
- 109 Кнопки управления и информация на сенсорной панели
- 111 Кнопка
- 112 Прямой поиск элемента
- 113 Операции с; Ввод времени и чисел; VCD
- 114 Строки состояния
- 115 Использование разделенных экранов—“Dual Display”; Включите функцию “Dual Zone”.; Операции в режиме “Dual Zone”
- 117 Выберите необходимый параметр.; Выбор дорожки
- 118 Использование функции; Dual Display; Операции с помощью; Откройте экран списка.
- 119 Операции с устройством USB
- 120 Подключение нового устройства Bluetooth; Первое подключение устройства Bluetooth; Информация о Bluetooth:
- 121 Использование сотового телефона Bluetooth; Завершение вызова; Ответ на ожидающий вызов
- 122 Программирование телефонных номеров
- 123 Чтобы; При подключении с помощью кабеля USB; Прослушивание устройств iPod/iPhone; выбрать дорожку или видеозапись.
- 124 При подключении с помощью интерфейсного адаптера; Выбор дорожки из меню; необходимого элемента.
- 125 External Input; Выберите диск для воспроизведения.
- 126 Прослушивание тюнера DAB
- 127 Активация или деактивация; Отслеживание той же
- 128 Экран навигации; Включите подключенное устройство; Использование других внешних устройств
- 130 Чтобы удалить такие пятна,; Обслуживание
- 131 Дополнительная информация о приемнике; Диск; Оригинальная программа
- 132 Воспроизведение файла; Воспроизведение файлов DivX
- 134 Операции iPod/iPhone; Операции Bluetooth (только для; Общие сведения
- 135 Устройство автоматической
- 138 Устранение проблем; Симптомы
- 139 Тюнер
- 142 устройство автоматической смены компакт-дисков
- 143 Технические характеристики; УСИЛИТЕЛЬ
- 218 Having TROUBLE with operation?; Please reset your unit; Refer to page of How to reset your unit; Затруднения при эксплуатации?; Пожалуйста, перезагрузите Ваше; Для получения информации о перезагрузке Вашего; Маєте ПРОБЛЕМУ з; Повторно налаштуйте систему; Див. сторінку “Як повторно налаштувати пристрій”