Alpine CDM-7854 - Инструкция по эксплуатации - Страница 18

Магнитолы Alpine CDM-7854 - инструкция пользователя по применению, эксплуатации и установке на русском языке. Мы надеемся, она поможет вам решить возникшие у вас вопросы при эксплуатации техники.

Если остались вопросы, задайте их в комментариях после инструкции.

"Загружаем инструкцию", означает, что нужно подождать пока файл загрузится и можно будет его читать онлайн. Некоторые инструкции очень большие и время их появления зависит от вашей скорости интернета.
Страница:
/ 19
Загружаем инструкцию
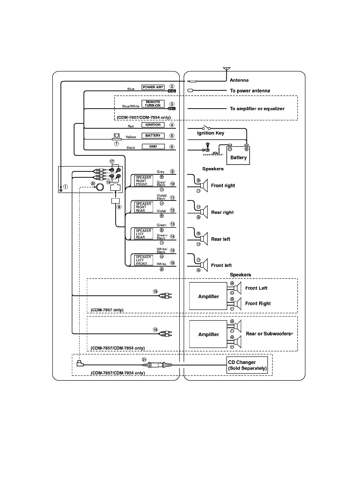
background image

Установка

 

и

 

подключения

 

Подключения

 

 

*   

Когда

 

сабвуфер

 

установлен

  

в

  OFF: 

Выход

 

с

 

тыловых

 

динамиков

Когда

  

сабвуфер

  

установлен

 

в

 ON: 

Выход

 

на

 

сабвуфер

.

 

Для

 

деталей

 

по

 

сабвуферу

  ON/OFF, 

смотри

 

стр

. 5.

 

Полезные видео

Характеристики

Оцените статью
tehnopanorama.ru
Остались вопросы?

Не нашли свой ответ в руководстве или возникли другие проблемы? Задайте свой вопрос в форме ниже с подробным описанием вашей ситуации, чтобы другие люди и специалисты смогли дать на него ответ. Если вы знаете как решить проблему другого человека, пожалуйста, подскажите ему :)

Задать вопрос

Часто задаваемые вопросы
Как посмотреть инструкцию к Alpine CDM-7854?
Необходимо подождать полной загрузки инструкции в сером окне на данной странице
Руководство на русском языке?
Все наши руководства представлены на русском языке или схематично, поэтому вы без труда сможете разобраться с вашей моделью
Как скопировать текст из PDF?
Чтобы скопировать текст со страницы инструкции воспользуйтесь вкладкой "HTML"