Магнитолы Alpine CDE-195BT - инструкция пользователя по применению, эксплуатации и установке на русском языке. Мы надеемся, она поможет вам решить возникшие у вас вопросы при эксплуатации техники.
Если остались вопросы, задайте их в комментариях после инструкции.
"Загружаем инструкцию", означает, что нужно подождать пока файл загрузится и можно будет его читать онлайн. Некоторые инструкции очень большие и время их появления зависит от вашей скорости интернета.

36
-RU
Настройка уровня громкости TTS
(речевого воспроизведения текстов)
Эта функция позволяет считывать комментарии и т. п. на
смартфоне и выводить звук через динамики устройства.
Элемент настройки:
TTS VOLUME
Значения:
0 ~ 35
Примечание
• Начальный уровень громкости – 12.
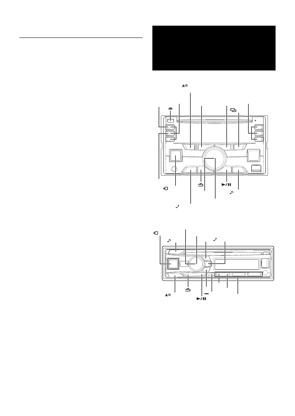
CDE-W296BT
CDE-195BT
Вызовы с помощью
функции “Свободные
руки” BT
VIEW
/SOURCE
/ENTER
BAND
ABC SEARCH
/SETUP
/VOICE CTRL.
1
2
Поворотный регулятор
Кнопки пре
д
варительной
настройки (от 4
д
о 6)
Кнопки пре
д
варительной
настройки (от 1
д
о 3)
BAND
ABC SEARCH
/ENTER
/SETUP
/VOICE CTRL.
1
2
/SOURCE
VIEW
Поворотный регулятор
Кнопки пре
д
варительной
настройки (от 1
д
о 6)
Содержание
- 4 Другие функции
- 5 Информация; Установка и соединения
- 7 RESET
- 8 О носителях, которые можно воспроизводить; ОСТОРОЖНО
- 10 Список компонентов; Нажмите кнопку; Нажмите и удерживайте кнопку; Функция демонстрации; Выбор источника; Нажмите кнопку; Приступая к работе
- 11 Первоначальный запуск системы; Настройка уровня громкости; Поворачивая; Настройка регулировки подсветки; Снятие
- 12 Установка времени; Примечания
- 13 Прослушивание радио; Радио
- 14 Функция поиска частоты; RDS
- 15 Режим PI SEEK; Прием информации о трафике
- 16 BAND; Воспроизведение
- 17 Режим поиска имени папки
- 18 Поиск по расположению в памяти; Режим поиска имени файла
- 19 Терминология
- 20 Настройка звука
- 21 Регулировка уровня
- 22 Повторите шаги с 1 по 2 для настройки других каналов.; Включение/отключение cабвуфера
- 23 После выбора TCR поверните; Настройка сабвуфера
- 24 Функция BASS ENGINE SQ; О временной коррекции; Настройка режима Media Xpander
- 25 Таблица значений временных поправок
- 26 Информация о разделительном фильтре
- 28 Отображение текста
- 29 Использование входного разъема AUX; Настройка меню параметров; О текстовом “режиме”
- 30 Использование приложения TuneIt
- 31 Получение уведомления; Отображение списка уведомлений; Настройка звука с помощью смартфона
- 32 Настройка; Автоматическая настройка времени; Меню SETUP; Общие настройки
- 34 Изменение цвета подсветки; Регулировка подсветки; Настройка отображения
- 35 Настройка прокрутки текста; Настройка режима поиска iPod/iPhone; Дополнительные элементы настройки:; Настройка тюнера
- 37 Настройка перед использованием; Автоматическое сопряжение с iPod/iPhone; Поверните; О Bluetooth
- 38 НАСТРОЙКА Bluetooth; Настройка устройства Bluetooth
- 39 Дополнительное содержимое настройки:; Настройка Visible Mode
- 40 Функция телефона “Свободные руки”; Выбор динамика для вывода сигнала
- 41 поворотный регулятор; Набор номера из журнала входящих вызовов; Набор номера из телефонной книги; поворотный регулятор; Осуществление вызова
- 42 Использование голосового управления
- 43 Использование Bluetooth Audio
- 45 Подсоединение iPod/iPhone
- 46 Настройка управления iPod; Поиск нужной композиции
- 47 Функция прямого поиска
- 48 Функция поиска по алфавиту; Поиск по памяти
- 49 Многократное воспроизведение; Нажмите; При возникновении трудностей; Основные функции
- 50 Звук; NO SUPPORT
- 52 Технические характеристики; РАЗДЕЛ USB; CLASS 1
- 53 ВЫПОЛНЯЙТЕ ПРАВИЛЬНЫЕ ПОДКЛЮЧЕНИЯ.
- 54 МЕРЫ ПРЕДОСТОРОЖНОСТИ; Установка
- 55 Удалите съемную переднюю панель.; Удаление
- 56 Установка микрофона
- 57 Соединения
- 58 Declaration of Conformity