Магнитолы Alpine CDE-171R (RM) (RR) - инструкция пользователя по применению, эксплуатации и установке на русском языке. Мы надеемся, она поможет вам решить возникшие у вас вопросы при эксплуатации техники.
Если остались вопросы, задайте их в комментариях после инструкции.
"Загружаем инструкцию", означает, что нужно подождать пока файл загрузится и можно будет его читать онлайн. Некоторые инструкции очень большие и время их появления зависит от вашей скорости интернета.

20
-RU
Подключение к внешнему усилителю (POWER
IC)
Если подключен внешний усилитель, то качество звука можно
улучшить, отключив питание встроенного усилителя.
Элемент настройки:
POWER IC
Значения:
OFF / ON (начальная настройка)
OFF:
Используйте этот режим, когда линейный выход данного
устройства используется для подключения к внешнему
усилителю. При использовании этой настройки внутренний
усилитель главного блока отключается (OFF) и не влияет на
динамики.
ON:
Динамики подключены к встроенному усилителю.
OFF:
ON:
Примечание
• Звук от системы не поступает, если выходной сигнал
отключен (OFF).
Отображение текста
При воспроизведении компакт-диска, поддерживающего
текстовую информацию, отображается соответствующая
информация, такая как название диска или фрагмента. При
воспроизведении файлов MP3/WMA/AAC могут также
отображаться имя папки, имя файла, тег и другие данные.
Нажмите
VIEW
.
Содержимое экрана меняется при каждом нажатии данной
кнопки.
Примечание
• Если для режима TEXTSCROLL установлено значение SCR
MANUAL, нажмите и удерживайте нажатой кнопку
VIEW
не
менее 2 секунд — текущий текст будет прокручен на один кадр
(это не действует в режиме радио).
Содержимое экрана в режиме радиоприема:
Если есть PS (Сервисное название программы)
PS (сервисное название программы)
РАДИОТЕКСТ
PTY
PS (сервисное название программы)
Если нет PS (сервисного названия программы)
ЧАСТОТА
РАДИОТЕКСТ
PTY
ЧАСТОТА
Экран в режиме CD:
НОМЕР ДОРОЖКИ/ПРОШЕДШЕЕ ВРЕМЯ
ТЕКСТ (НАЗВАНИЕ ДИСКА)
*1
ТЕКСТ (НАЗВАНИЕ ДОРОЖКИ)
*1
НОМЕР ДОРОЖКИ/ПРОШЕДШЕЕ ВРЕМЯ
Экран в режиме MP3/WMA/AAC:
НОМЕР ФАЙЛА/ПРОШЕДШЕЕ ВРЕМЯ
НОМЕР ПАПКИ/НОМЕР
ФАЙЛА
ИМЯ ПАПКИ
ИМЯ ФАЙЛА
ИМЯ
ИСПОЛНИТЕЛЯ
*2
НАЗВАНИЕ АЛЬБОМА
*2
НАЗВАНИЕ
ПЕСНИ
*2
НОМЕР ФАЙЛА/ПРОШЕДШЕЕ ВРЕМЯ
Экран в режиме iPod (только CDE-171R/CDE-171RR/
CDE-171RM):
НОМЕР ДОРОЖКИ/ПРОШЕДШЕЕ ВРЕМЯ
ИМЯ ИСПОЛНИТЕЛЯ
НАЗВАНИЕ АЛЬБОМА
SONG TITLE
НОМЕР ДОРОЖКИ/
ПРОШЕДШЕЕ ВРЕМЯ
*1
Отображается при воспроизведении компакт-диска,
поддерживающего текстовую информацию.
*2
Тег ID3
Если в MP3/WMA/AAC-файле содержится тег ID3 с
информацией, то информация ID3 выводится на экран
(например, название композиции, имя исполнителя или
название альбома). Все остальные данные тега
игнорируются.
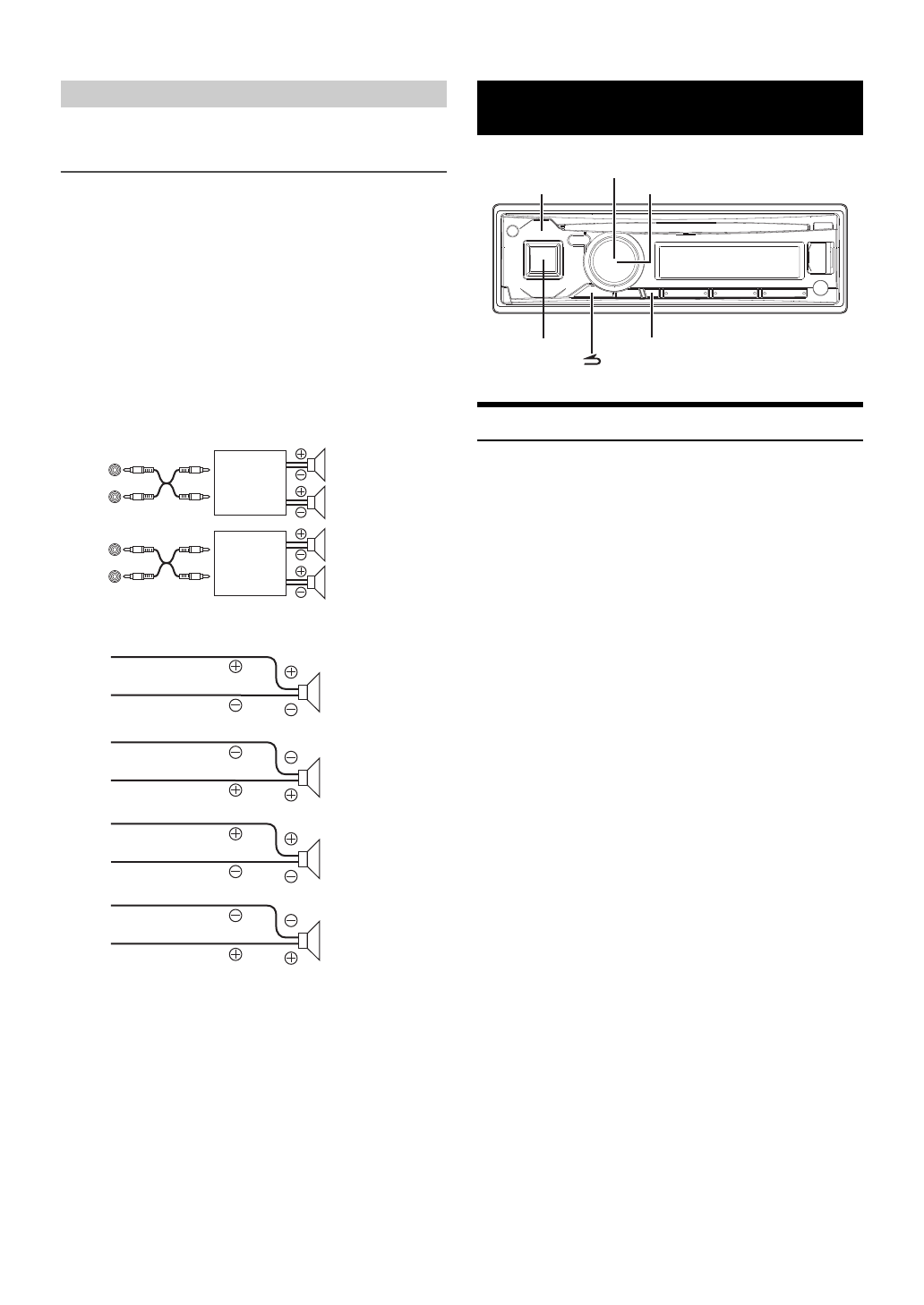
Внешнее устройство
Пере
д
ний
левый
Усилитель
Пере
д
ний
правый
За
д
ний
левый
Усилитель
За
д
ний
правый
Динамики
ДИНАМИК
ПЕРЕДНИЙ ПРАВЫЙ
Пере
д
ний
правый
ДИНАМИК
ЗАДНИЙ ПРАВЫЙ
За
д
ний
правый
ДИНАМИК
ЗАДНИЙ ЛЕВЫЙ
За
д
ний
левый
ДИНАМИК
ПЕРЕДНИЙ ЛЕВЫЙ
Пере
д
ний
левый
Другие функции
FAV
VIEW
/ENTER
SOURCE/
Поворотный регулятор
Содержание
- 4 Меню SETUP; Установка и соединения
- 5 Руководство по использованию; ПРЕДУПРЕЖДЕНИЕ
- 7 О носителях, которые можно воспроизводить; ОСТОРОЖНО
- 9 Выбор источника; Снятие и установка передней панели; Приступая к работе; Снятие
- 10 Настройка уровня громкости; Прослушивание радио; Радио
- 11 Функция поиска частоты; RDS
- 12 Режим PI SEEK; Прием информации о трафике
- 13 Воспроизведение
- 14 Многократное воспроизведение; Режим поиска имени папки
- 15 Функция прямого поиска
- 16 Терминология
- 17 Настройка звука
- 18 Настройка регулировки низких частот; Настройка средних частот
- 19 Настройка фильтра высоких частот
- 20 Отображение текста; Внешнее устройство; Другие функции
- 21 Использование входного разъема AUX; Об отображении индикаторов; О текстовом режиме
- 22 Настройка меню параметров; Вызов избранного источника
- 23 Настройка; Настройка языка меню; Настройка режима AUX SETUP; Общие настройки
- 24 Настройка режима AUX NAME; Демонстрация; Регулировка подсветки; Настройка режима поиска iPod/iPhone; Настройка отображения
- 25 Подключите USB-накопитель
- 26 Подсоединение iPod/iPhone; Настройка управления iPod
- 27 Поиск нужной композиции
- 28 Функция поиска по алфавиту
- 29 При возникновении трудностей; Информация; Основные функции
- 30 Звук; NO DEVICE
- 31 NO SUPPORT
- 32 Технические характеристики; CLASS 1
- 33 ВЫПОЛНЯЙТЕ ПРАВИЛЬНЫЕ ПОДКЛЮЧЕНИЯ.
- 34 МЕРЫ ПРЕДОСТОРОЖНОСТИ; Установка
- 35 Удаление
- 36 Соединения
Характеристики
Остались вопросы?Не нашли свой ответ в руководстве или возникли другие проблемы? Задайте свой вопрос в форме ниже с подробным описанием вашей ситуации, чтобы другие люди и специалисты смогли дать на него ответ. Если вы знаете как решить проблему другого человека, пожалуйста, подскажите ему :)