Магнитолы Alpine CDA-9884R - инструкция пользователя по применению, эксплуатации и установке на русском языке. Мы надеемся, она поможет вам решить возникшие у вас вопросы при эксплуатации техники.
Если остались вопросы, задайте их в комментариях после инструкции.
"Загружаем инструкцию", означает, что нужно подождать пока файл загрузится и можно будет его читать онлайн. Некоторые инструкции очень большие и время их появления зависит от вашей скорости интернета.

12
-RU
5
Чтобы приостановить воспроизведение, нажмите
/
.
Чтобы возобновить воспроизведение, нажмите кнопку
/ еще раз.
6
После нажатия (OPEN) для открытия передней
панели нажмите , чтобы извлечь диск.
•
Не удаляйте компакт-диск во время цикла его извлечения.
Не загружайте более одного диска за раз. Несоблюдение
этого требования может привести к неисправности.
•
Если компакт-диск не извлекается, нажмите и
удерживайте кнопку
не менее 2 секунд.
•
Индикатор “DISC IN” зажигается, когда вставлен диск.
•
CD-плеер может проигрывать диски, содержащие
звуковые данные, данные MP3, WMA и AAC.
•
Файлы формата WMA, защищенные технологией управления
правами на цифровые данные DRM (Digital Rights
Management), файлы формата AAC, приобретенные в сети
iTunes Music Store, а также файлы с защитой от копирования
не могут быть воспроизведены на этом устройстве.
•
Во время воспроизведения MP3 отображается “MP3”.
•
Во время воспроизведения WMA отображается “WMA”.
•
Во время воспроизведения AAC отображается “AAC”.
•
При воспроизведении данных MP3/WMA/AAC на экране
фрагментов отображается номера записанных на диск
файлов.
•
При воспроизведении файла, записанного с переменной
скоростью передачи битов (VBR), может отображаться
неправильное время воспроизведения.
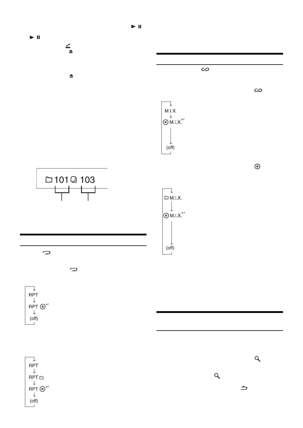
Экран при воспроизведении данных MP3/WMA/AAC
Номер папки и номер файла отображаются так, как описано ниже.
•
Нажмите кнопку
VIEW
, чтобы переключить экран. См.
“ Отображение текста” (страница 18), чтобы получить
информацию о переключении экрана.
Многократное воспроизведение
Нажмите
4, чтобы многократно воспроизводить
текущий фрагмент.
Текущий фрагмент (файл) будет постоянно воспроизводиться.
Снова нажмите кнопку
4
и выберите значение “off”,
чтобы отключить многократное воспроизведение.
Режим CD:
*
1
Только при подключенном CD-чейнджере.
•
В режиме воспроизведения M.I.X. с помощью CD-чейнджера,
если включена (ON) функция RPT, режим M.I.X. действует
только для диска, воспроизводимого в данный момент.
Режим MP3/WMA/AAC:
*
2
Только при подключенном CD-чейнджере,
поддерживающем данные MP3.
•
Если подключен CD-чейнджер или CD-чейнджер с поддержкой MP3:
После нажатия
F/SETUP
для выбора режима настройки функций
(RPT/M.I.X.) выполните эту операцию в течение 10 секунд.
M.I.X. (воспроизведение в случайном порядке)
Нажмите кнопку 5
в режиме воспроизведения
или во время паузы.
Фрагменты (файлы) на данном диске будут
воспроизводиться в случайной последовательности.
Чтобы отменить режим M.I.X., нажмите кнопку
5
еще раз.
Режим CD:
*
3
Если подключен CD-чейнджер с функцией ALL M.I.X.
•
Если в режиме повторного воспроизведения RPT
(REPEAT
ALL) с CD-чейнджера включен режим M.I.X., то он действует
только для диска, воспроизводимого в данный момент.
Режим MP3/WMA/AAC:
*
4
В режиме USB все файлы, записанные в памяти, воспроизводятся в
случайной последовательности, и загорается индикатор “M.I.X.”.
•
Если определенная песня воспроизводится в слуйчайном
порядке (M.I.X.) в режиме USB, эта же песня может быть
воспроизведена снова, даже если не были воспроизведены
все композиции, записанные на носителе USB.
•
Если подключен CD-чейнджер или CD-чейнджер с поддержкой MP3:
После нажатия
F/SETUP
для выбора режима настройки функций
(RPT/M.I.X.) выполните эту операцию в течение 10 секунд.
Поиск в текстовой информации о
компакт-диске
На дисках, поддерживающих текстовую информацию, поиск
музыкальных композиций можно выполнять по текстовым
заголовкам. На дисках, не поддерживающих текстовую
информацию, поиск выполняется по номерам фрагментов,
присвоенным каждой музыкальной композиции.
1
Во время воспроизведения нажмите
/
ENT.
В результате должен включиться режим поиска.
2
Поворотом Кругового регулятора выберите
дорожку и нажмите
/
ENT.
Будет воспроизведен выбранный фрагмент.
•
Чтобы отменить, нажмите и удерживайте
/
ESC
не менее 2
секунд в режиме поиска. Кроме того, режим поиска будет отключен,
если в течение 10 секунд не было выполнено ни одной операции.
•
При выполнении поиска текстовой информации в режиме
воспроизведения M.I.X. этот режим отключается.
Отображение
номера папки
Отображение
номера файла
: Многократно воспроизводиться только
фрагмент.
: Постоянно повторяется воспроизведение
диска.
: Многократно воспроизводиться только
файл.
: Многократно воспроизводит только файлы из
выбранной папки.
: Постоянно повторяется воспроизведение
диска.
: В случайном порядке воспроизводятся
только фрагменты.
: Дорожки на всех CD-дисках,
установленных в CD-чейнджер, будут
включены в случайную
последовательность воспроизведения.
: В случайном порядке воспроизводятся
только файлы из некоторой папки.
: В случайном порядке воспроизводятся
только файлы.
Если подключен CD-чейнджер с
поддержкой MP3, все файлы на диске
будут воспроизводиться в случайном
порядке и начнется воспроизведение
следующего диска.
Содержание
- 3 РУССКИЙ; Содержание; BLUETOOTH IN; Регулировка уровней сигналов
- 4 Работа с устройствами IMPRINT; Установка и соединения
- 5 Руководство по использованию; МЕРЫ ПРЕДОСТОРОЖНОСТИ; ПРЕДУПРЕЖДЕНИЕ
- 7 ОСТОРОЖНО
- 8 Приступая к работе
- 9 Первоначальный запуск системы; Настройка уровня громкости
- 10 Прослушивание радио; Функция поиска частоты; Радио
- 11 RDS
- 13 Воспроизведение
- 14 Многократное воспроизведение
- 15 Поиск по именам файлов/папок; Быстрый поиск
- 16 Терминология
- 17 Настройка регулировки нижних частот; Настройка звука; Настройка центральной низкой частоты
- 18 Настройка регулировки высоких; Настройка фильтра верхних частот; Настройка уровня нижних частот
- 20 Отображение текста; Другие функции
- 21 Меню SETUP
- 22 Внешнее устройство
- 23 FF SOURCE FF
- 25 Поиск нужной композиции; iPod
- 26 Функция прямого поиска
- 28 Настройка режима MultEQ
- 29 Настройка наклона кривой частотной
- 30 Настройка типа фильтра
- 32 Запись настроек акустического поля в память
- 33 Временная поправка; левое сидение
- 35 О технологии IMPRINT; ВИДЕНИЕ И РЕАЛЬНОСТЬ
- 36 Воспроизведение файлов MP3 с помощью
- 37 При возникновении трудностей; Информация; Основные функции
- 38 Звук
- 39 Индикатор USB-накопителя; DEVICE ERROR; Индикаторы в режиме iPod
- 40 Технические характеристики; CLASS 1
- 41 Предупреждение
- 42 Установка
- 44 Соединения



