Магнитолы Alpine CDA-7893R - инструкция пользователя по применению, эксплуатации и установке на русском языке. Мы надеемся, она поможет вам решить возникшие у вас вопросы при эксплуатации техники.
Если остались вопросы, задайте их в комментариях после инструкции.
"Загружаем инструкцию", означает, что нужно подождать пока файл загрузится и можно будет его читать онлайн. Некоторые инструкции очень большие и время их появления зависит от вашей скорости интернета.

ПРИМЕЧАНИЕ:
В случае установки параметра выходной мощности в «OFF» звуковой сигнал на
выходе системы отсутствует.
4
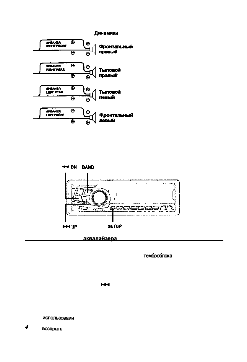
Для возврата в нормальный режим работы нажмите кнопку «SETUP».
Отключение функции
при подсоединении внешних устройств
При подключении к данной системе внешних устройств и активизации установки DEFEAT
ON, на выход будет подаваться не искаженный цепью
звук, т.е. для настроек
баса, высоких частот и MX произойдет возврат к заводским установкам.
1
Нажмите и удерживайте не менее 3-х секунд кнопку
SETUP.
2
Используя кнопку fr*H
UP
или
ON,
выберите опцию «INT».
3 С
помощью кнопки
BAND
осуществляется переключение между режимами «INT ON»
и «INT OFF».
Для использования заводских настроек звукового сигнала выберите установку ON, a
при
пользовательских настроек - установку OFF
Для
в нормальный режим работы нажмите кнопку
SETUP.
51