Кухонные комбайны Bosch MUM 48W1 - инструкция пользователя по применению, эксплуатации и установке на русском языке. Мы надеемся, она поможет вам решить возникшие у вас вопросы при эксплуатации техники.
Если остались вопросы, задайте их в комментариях после инструкции.
"Загружаем инструкцию", означает, что нужно подождать пока файл загрузится и можно будет его читать онлайн. Некоторые инструкции очень большие и время их появления зависит от вашей скорости интернета.

Robert Bosch Hausgeräte GmbH
145
5 ¥på
oª ªæø
— ò帮o
®å ¸eÿpep¾
¸o¨o
ªe¼c¹
åø
*
— co®o
¾²å¯aæ®å ªæø ýå¹pºco
¾x
*
—
μ
ep¸o
o¼ ¯e濸åý¾
*
Ecæå
¾ ¸e ÿoæ¿
μ
ºe¹ec¿ õ¹å¯å
ÿpåcÿoco¢æe¸åø¯å, ¹o
μ
a®p¾
a¼¹e
ÿpå
oª
μ
aó幸o¼ ®p¾ò®o¼.
6 ¥på
oª ªæø
— ¸acaªo® (
e¸ñå® ªæø
ÿepe¯eòå
a¸åø,
e¸ñå® ªæø
μ
¢å
a¸åø, ®p÷® ªæø ¹ec¹a)
— ¯eòaæ®å ¯opo²e¸åý¾
*
—
oÿºóe¸¸o¯ åæå ÿoª¸ø¹o¯
ÿoæo²e¸åå ªæø ¯øcopº¢®å
*
7 ³aó幸aø ®p¾ò®a ªæø ÿpå
oªa
¯å®cepa
8 ¥på
oª ªæø
— ¢æe¸ªepa
— ¯¸o¨oíº¸®ýåo¸a濸o¨o ¯å®cepa
Ecæå
¾ ¸e ÿoæ¿
μ
ºe¹ec¿ ¢æe¸ªepo¯,
¹o ¸a®po¼¹e ÿpå
oª ®p¾ò®o¼.
9 O¹ce® ªæø ce¹e
o¨o ò¸ºpa
(Påcº¸o®
)
MUM 44..: Ha¯o¹a¼¹e ®a¢eæ¿
¸a ªep²a¹eæ¿
MUM 46../48..: š¢epå¹e ce¹e
o¼ ò¸ºp
o¹ªeæe¸åe ªæø e¨o xpa¸e¸åø.
C¯ecå¹e濸aø ñaòa c ÿpå¸aªæe²-
¸oc¹ø¯å
10 C¯ecå¹e濸aø ñaòa
11 Kp¾ò®a
Hacaª®å
12
e¸ñå® ªæø ÿepe¯eòå
a¸åø
13
e¸ñå® ªæø
μ
¢å
a¸åø
14 Mecåæ¿¸aø ¸acaª®a c o¹®æo¸å¹eæe¯
¹ec¹a
¡æe¸ªep
15 ¥oªc¹a
®a
16 Ho²e
aø
c¹a
®a
17 šÿæo¹¸å¹e濸oe ®oæ¿ýo
18 C¹a®a¸ ¢æe¸ªepa
19 Kp¾ò®a
20
opo¸®a
* ¥på¸aªæe²¸oc¹å, ®o¹op¾e ¸e
xoªø¹
®o¯ÿæe®¹ ÿoc¹a
®å ÿpå¢opa, ¯o²¸o
ÿpåo¢pec¹å
¯a¨a
μ
å¸e åæå
cep
åc¸o¼
c溲¢e.
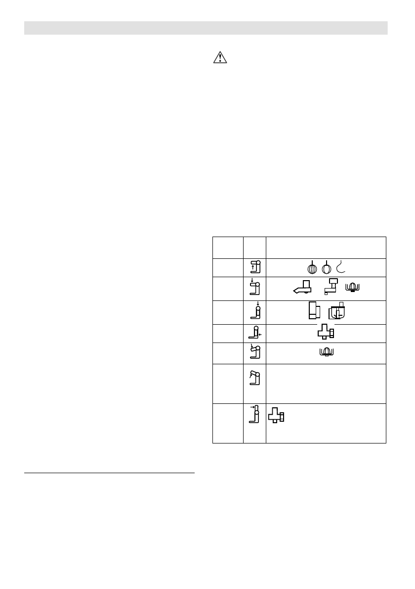
Pa¢oñåe ÿoæo²e¸åø
¸å¯a¸åe!
Kºxo¸¸¾¼ ®o¯¢a¼¸ ¯o²¸o
®æ÷ña¹¿
¹oæ¿®o ÿocæe ¹o¨o, ®a® ¸acaª®å/
ÿpå¸aªæe²¸oc¹å ¢¾æå ÿpå®peÿæe¸¾,
co¨æac¸o ÿpå
eªe¸¸o¼ ¸å²e ¹a¢æåýe,
® ÿpa
åæ¿¸o¯º ÿpå
oªº
ÿpa
åæ¿¸o¼
ÿo
μ
åýåå å ÿepe
eªe¸¾
pa¢oñee
ÿoæo²e¸åe.
¥o
opo¹¸¾¼ ®po¸ò¹e¼¸ ªoæ²e¸
íå®cåpo
a¹¿cø
®a²ªo¯ pa¢oñe¯
ÿoæo²e¸åå.
šc¹a¸o
®a
pa¢oñee ÿoæo²e¸åe
Påcº¸o®
Ha²¯å¹e ¸a ®¸oÿ®º pa
μ
¢æo®åpo
®å
å ¸añ¸å¹e ÿepe¯eóe¸åe ÿo
opo¹¸o¨o
®po¸ò¹e¼¸a.
¸eo¢xoªå¯o¯
a¯ pa¢oñe¯ ÿoæo²e-
¸åå ÿo
opo¹¸¾¼ ®po¸ò¹e¼¸ ªoæ²e¸
μ
aíå®cåpo
a¹¿cø.
ru
¥oæo-
²e¸åe
1
2
3
4
5
6
šc¹a¸o
®a/c¸ø¹åe
e¸ñå®o
ªæø c¯eòå
a¸åø å
μ
¢å
a-
¸åø å ¸acaª®å ªæø ÿepe¯e-
òå
a¸åø ¹ec¹a
7
©o¢a
æe¸åe ¢oæ¿òo¨o
®oæåñec¹
a ÿpeª¸a
μ
-
¸añe¸¸¾x ªæø ÿepe-
pa¢o¹®å ÿpoªº®¹o