Krona Nika 1M 600 Sensor White - Инструкция по эксплуатации

Krona Nika 1M 600 Sensor White

Вытяжка Krona Nika 1M 600 Sensor White - инструкция пользователя по применению, эксплуатации и установке на русском языке. Мы надеемся, она поможет вам решить возникшие у вас вопросы при эксплуатации техники.

Если остались дополнительные вопросы — свяжитесь с нами через контактную форму.

1 Страница 1
2 Страница 2
3 Страница 3
4 Страница 4
5 Страница 5
6 Страница 6
7 Страница 7
8 Страница 8
9 Страница 9
10 Страница 10
11 Страница 11
12 Страница 12
13 Страница 13
14 Страница 14
15 Страница 15
16 Страница 16
Страница: / 16

Содержание:

  • Страница 2 – RUS Инструкция по применению; Данный прибор изготовлен в мае 2014 года.
  • Страница 3 – ВЫТЯЖКИ КУХОННЫЕ; Уважаемый покупатель!; сертифицировано СЕ, T
  • Страница 4 – КОМПЛЕКТАЦИЯ
  • Страница 6 – МЕРЫ БЕЗОПАСНОСТИ
  • Страница 7 – ОПИСАНИЕ ВЫТЯЖКИ; Наружная часть вытяжки состоит из сле-; NIK A 1М sensor; Алюминиевый жироулавливающий
  • Страница 8 – УПРАВЛЕНИЕ РЕЖИМАМИ; Ваша вытяжка имеет 3 скорости вен-; Пульт управления вытяжкой; На лицевой панели вытяжки располо-
  • Страница 9 – ИНСТРУКЦИЯ ПО ПОЛЬЗОВАНИЮ
  • Страница 10 – Рекомендуем использовать вы-; Для внешней очистки окрашенных; Замена ламп и фильтров не входит; Для приобретения и замены ламп под-
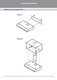
  • Страница 11 – ИНСТРУКЦИЯ ПО УСТАНОВКЕ
  • Страница 12 – Подключение к электросети
  • Страница 14 – ВОЗМОЖНЫЕ
  • Страница 15 – УТИЛИЗАЦИЯ; Отслужившие электрические и элек-; ИНфОРМАЦИЯ О СЕРТИфИК АЦИИ; Кухонные вытяжки, представленные
Загрузка инструкции

NIKA

RUS

Инструкция по применению

UK

Use and handling instructions

SPN

Instrucciones de uso у mantenimiento

GER

Gebrauchsanweisung und wartung

FRA

Mode d’emploi et d’entretien

ITA

Instruzioni per I’uso e la manutenzione

POR

Instrucoes de uso e manutencao

KRONAsteel I

КУХОННЫЕ ВЫТЯЖКИ

NIK A 1М 500 white sensor
NIK A 1М 600 white sensor
NIK A 1М 500 black sensor
NIK A 1М 600 black sensor

www.krona.ru

8 495 662 37 97

для Московского региона

8 800 700 37 97

для других регионов РФ

"Загрузка инструкции" означает, что нужно подождать пока файл загрузится и можно будет его читать онлайн. Некоторые инструкции очень большие и время их появления зависит от вашей скорости интернета.

Краткое содержание

Страница 2 - RUS Инструкция по применению; Данный прибор изготовлен в мае 2014 года.

RUS Инструкция по применению Дата изготовления прибора содержится в его серийном номере.Серийный номер прибора указан на внутренней этикетке, которая размещена на вытяжке. Расшифровка серийного номера. Данный прибор изготовлен в мае 2014 года.

Страница 3 - ВЫТЯЖКИ КУХОННЫЕ; Уважаемый покупатель!; сертифицировано СЕ, T

RUS Инструкция по применению ВЫТЯЖКИ КУХОННЫЕ 1 Уважаемый покупатель! Мы благодарны Вам за то, что Вы выбрали продукцию «KRONAsteel». Мы постарались сделать все, чтобы вы остались довольны нашим изделием. Ваше мнение о нашем продукте очень важно для нас. Мы будем признательны, если Вы пришлете свои ...

Страница 4 - КОМПЛЕКТАЦИЯ

RUS Инструкция по применению ВЫТЯЖКИ КУХОННЫЕ 2 RUS Инструкция по применению КОМПЛЕКТАЦИЯ Модель: NIK A 1М sensor Корпус вытяжки 1 Фланец c антивозвратным клапаном на 120 мм 1 Упаковка с комплектом крепежа вытяжки 1 Инструкция по применению 1 ТЕХНИЧЕСКИЕ ХАРАКТЕРИСТИКИ Модель: NIK A 1М sensor Габари...

Характеристики

Другие модели - Вытяжки Krona

Все вытяжки Krona