Krona Luci 500 Push Button Inox - Инструкция по эксплуатации

Krona Luci 500 Push Button Inox

Вытяжка Krona Luci 500 Push Button Inox - инструкция пользователя по применению, эксплуатации и установке на русском языке. Мы надеемся, она поможет вам решить возникшие у вас вопросы при эксплуатации техники.

Если остались дополнительные вопросы — свяжитесь с нами через контактную форму.

1 Страница 1
2 Страница 2
3 Страница 3
4 Страница 4
5 Страница 5
6 Страница 6
7 Страница 7
8 Страница 8
9 Страница 9
10 Страница 10
11 Страница 11
12 Страница 12
13 Страница 13
14 Страница 14
15 Страница 15
16 Страница 16
Страница: / 16

Содержание:

  • Страница 2 – RUS Инструкция по применению; Данный прибор изготовлен в феврале 2010 года.
  • Страница 3 – ВЫТЯЖКИ КУХОННЫЕ; Уважаемый покупатель!; сертифицировано СЕ, T
  • Страница 6 – МЕРЫ БЕЗОПАСНОСТИ
  • Страница 7 – ОПИСАНИЕ ВЫТЯЖКИ
  • Страница 8 – УПРАВЛЕНИЕ РЕЖИМАМИ
  • Страница 9 – Функция загрязнения
  • Страница 10 – В этом режиме на вытяжку должны; Рекомендуем использовать вы-; Для внешней очистки окрашенных
  • Страница 11 – Угольный фильтр следует менять 1 раз; Замена ламп и фильтров не входит
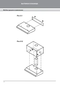
  • Страница 12 – ИНСТРУКЦИЯ ПО УСТАНОВКЕ; С этой целью следует разместить; Напоминаем, что высота; Ваша вытяжка может быть установле-
  • Страница 13 – Подключение к электросети.
  • Страница 15 – ВОЗМОЖНЫЕ
  • Страница 16 – УТИЛИЗАЦИЯ
Загрузка инструкции

LUCI

RUS

Инструкция по применению

UK

Use and handling instructions

SPN

Instrucciones de uso у mantenimiento

GER

Gebrauschsanweisung und wartung

FRA

Mode d’emploi et d’entretien

ITA

Instruzioni per I’uso e la manutenzione

POR

Instrucoes de uso e manutencao

KRONAsteel I

КУХОННЫЕ ВЫТЯЖКИ

LUCI 600 white push button
LUCI 600 black push button
LUCI 600 inox push button
LUCI 500 3P inox
LUCI 500 3P white
LUCI 500 3P metallic
LUCI 500 3P black
LUCI 500 3P brown
LUCI 600 3P inox
LUCI 600 3P ivory
LUCI 600 3P white
LUCI 600 3P metallic
LUCI 600 3P black
LUCI 600 3P brown
LUCI 500 white push button
LUCI 500 inox push button

www.krona.ru

8 495 662 37 97

для Московского региона

8 800 700 37 97

для других регионов РФ

"Загрузка инструкции" означает, что нужно подождать пока файл загрузится и можно будет его читать онлайн. Некоторые инструкции очень большие и время их появления зависит от вашей скорости интернета.

Краткое содержание

Страница 2 - RUS Инструкция по применению; Данный прибор изготовлен в феврале 2010 года.

RUS Инструкция по применению Дата изготовления прибора содержится в его серийном номере.Серийный номер прибора указан на внутренней этикетке, которая размещена на вытяжке. Расшифровка серийного номера. Данный прибор изготовлен в феврале 2010 года. Пример серийного номера:

Страница 3 - ВЫТЯЖКИ КУХОННЫЕ; Уважаемый покупатель!; сертифицировано СЕ, T

RUS Инструкция по применению ВЫТЯЖКИ КУХОННЫЕ 1 Уважаемый покупатель! Мы благодарны Вам за то, что Вы выбрали продукцию «KRONAsteel». Мы постарались сделать все, чтобы вы остались довольны нашим изделием. Ваше мнение о нашем продукте очень важно для нас. Мы будем признательны, если Вы пришлете свои ...

Страница 6 - МЕРЫ БЕЗОПАСНОСТИ

RUS Инструкция по применению ВЫТЯЖКИ КУХОННЫЕ 4 RUS Инструкция по применению МЕРЫ БЕЗОПАСНОСТИ Вытяжка подключается к электросети напряжением 220-240 В~, 50 Гц. Во избежание поражения электриче- ским током вытяжка должна включаться в розетку с заземлением. Данное изделие относится к классу 1 защиты ...

Характеристики

Другие модели - Вытяжки Krona

Все вытяжки Krona