Krona BRIANA 600 - Инструкция по эксплуатации

Krona BRIANA 600

Вытяжка Krona BRIANA 600 - инструкция пользователя по применению, эксплуатации и установке на русском языке. Мы надеемся, она поможет вам решить возникшие у вас вопросы при эксплуатации техники.

Если остались дополнительные вопросы — свяжитесь с нами через контактную форму.

1 Страница 1
2 Страница 2
3 Страница 3
4 Страница 4
5 Страница 5
6 Страница 6
7 Страница 7
8 Страница 8
9 Страница 9
10 Страница 10
11 Страница 11
12 Страница 12
13 Страница 13
14 Страница 14
15 Страница 15
16 Страница 16
Страница: / 16

Содержание:

  • Страница 2 – RUS Инструкция по применению; Данный прибор изготовлен в августе 2016 года.
  • Страница 3 – ВЫТЯЖКИ КУХОННЫЕ; Уважаемый покупатель!; сертифицировано СЕ, T
  • Страница 4 – КОМПЛЕКТАЦИЯ
  • Страница 5 – Внимание! Во избежание поломки; ПРАВО НА ГАРАНТИЙНОЕ; Гарантийный талон дает право на; ДЛЯ ПОЛЬЗОВАТЕЛЯ; Зачастую дети не осознают опасности
  • Страница 6 – МЕРЫ БЕЗОПАСНОСТИ
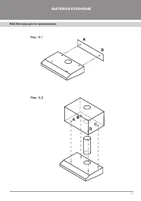
  • Страница 7 – Наружная часть вытяжки состоит из
  • Страница 8 – УПРАВЛЕНИЕ РЕЖИМАМИ; Ваша вытяжка имеет 3 скорости вен-; Пульт управления вытяжкой; На лицевой панели вытяжки находит-; Лампу освещения можно включать
  • Страница 9 – ИНСТРУКЦИЯ ПО ПОЛЬЗОВАНИЮ
  • Страница 10 – ОБСЛУЖИВАНИЕ И УХОД
  • Страница 11 – ИНСТРУКЦИЯ ПО УСТАНОВКЕ
  • Страница 12 – Подключение к электросети
  • Страница 14 – Центра технической поддержки
Загрузка инструкции

KRHD133
KRHD134
KRHD135
KRHD136

RUS

Инструкция по применению

UK

Use and handling instructions

SPN

Instrucciones de uso у mantenimiento

GER

Gebrauchsanweisung und wartung

FRA

Mode d’emploi et d’entretien

ITA

Instruzioni per I’uso e la manutenzione

POR

Instrucoes de uso e manutencao

KRONAsteel I

КУХОННЫЕ ВЫТЯЖКИ

www.krona.ru

8 495 797 85 46

для Московского региона

8 800 700 85 46

для других регионов РФ

"Загрузка инструкции" означает, что нужно подождать пока файл загрузится и можно будет его читать онлайн. Некоторые инструкции очень большие и время их появления зависит от вашей скорости интернета.

Краткое содержание

Страница 2 - RUS Инструкция по применению; Данный прибор изготовлен в августе 2016 года.

RUS Инструкция по применению Дата изготовления прибора содержится в его серийном номере.Серийный номер прибора указан на внутренней этикетке, которая размещена на вытяжке. Пример расшифровки серийного номера TS011608A0001: Данный прибор изготовлен в августе 2016 года.

Страница 3 - ВЫТЯЖКИ КУХОННЫЕ; Уважаемый покупатель!; сертифицировано СЕ, T

RUS Инструкция по применению RUS Инструкция по применению ВЫТЯЖКИ КУХОННЫЕ 1 Уважаемый покупатель! Мы благодарны Вам за то, что Вы выбрали продукцию «KRONAsteel». Мы постарались сделать все, чтобы вы остались довольны нашим изделием. Ваше мнение о нашем продукте очень важно для нас. Мы будем признат...

Страница 4 - КОМПЛЕКТАЦИЯ

RUS Инструкция по применению ВЫТЯЖКИ КУХОННЫЕ 2 КОМПЛЕКТАЦИЯ Модель: KRHD133/KRHD134/ KRHD135/KRHD136 Корпус вытяжки 1 Фланец c антивозвратным клапаном на 120 мм 1 Упаковка с комплектом крепежа вытяжки 1 Инструкция по применению 1 ТЕХНИЧЕСКИЕ ХАРАКТЕРИСТИКИ Модель: KRHD133/KRHD134/ KRHD135/KRHD136 Г...

Характеристики

Другие модели - Вытяжки Krona

Все вытяжки Krona