Котел ZOTA Pellet 20S - инструкция пользователя по применению, эксплуатации и установке на русском языке. Мы надеемся, она поможет вам решить возникшие у вас вопросы при эксплуатации техники.
Если остались вопросы, задайте их в комментариях после инструкции.
"Загружаем инструкцию", означает, что нужно подождать пока файл загрузится и можно будет его читать онлайн. Некоторые инструкции очень большие и время их появления зависит от вашей скорости интернета.

6
ZOTA Pellet
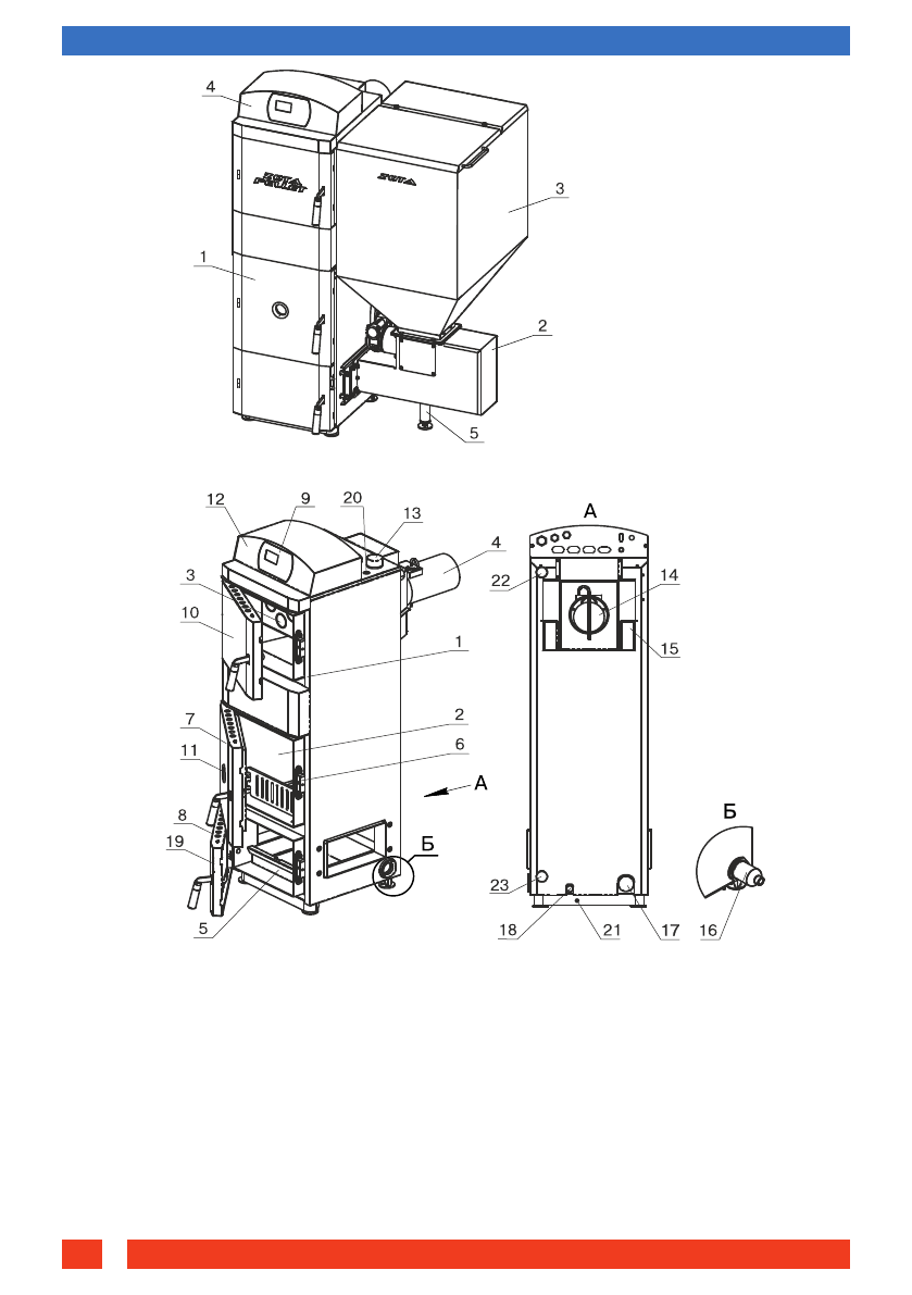
1 - Котел отопительный
2 - Пеллетная горелка с
приводом
3- Бункер
4 - Пульт управления
5 - Опора регулируемая
Рис.1 Котел пеллетный в сборе
Рис.2 Котел отопительный
1 - Корпус котла
2 - Топка
3- Газоход
4 - Дымовой патрубок
5 - Зольник
6 - Колосники
7 - Дверца загрузочная
8 - Дверца зольника
9 - Передняя панель
10- Дверца прочистная
11- Жаростойкое стекло
12- Пульт управления
13- Патрубок подающий
14- Заслонка дымохода
15- Крышка прочистная
16- Блок ТЭН (доп.комплект)
17- Патрубок обратный
18- Сливной патрубок
19- Заслонка воздушная
20- Гильза датчика ПУ
21- Болт заземления
22- Патрубок рециркуляции (подающий)
23- Патрубок рециркуляции (обратный)
Устройство и принцип работы котла





