Котел ZOTA MIX 50 КВт - инструкция пользователя по применению, эксплуатации и установке на русском языке. Мы надеемся, она поможет вам решить возникшие у вас вопросы при эксплуатации техники.
Если остались вопросы, задайте их в комментариях после инструкции.
"Загружаем инструкцию", означает, что нужно подождать пока файл загрузится и можно будет его читать онлайн. Некоторые инструкции очень большие и время их появления зависит от вашей скорости интернета.

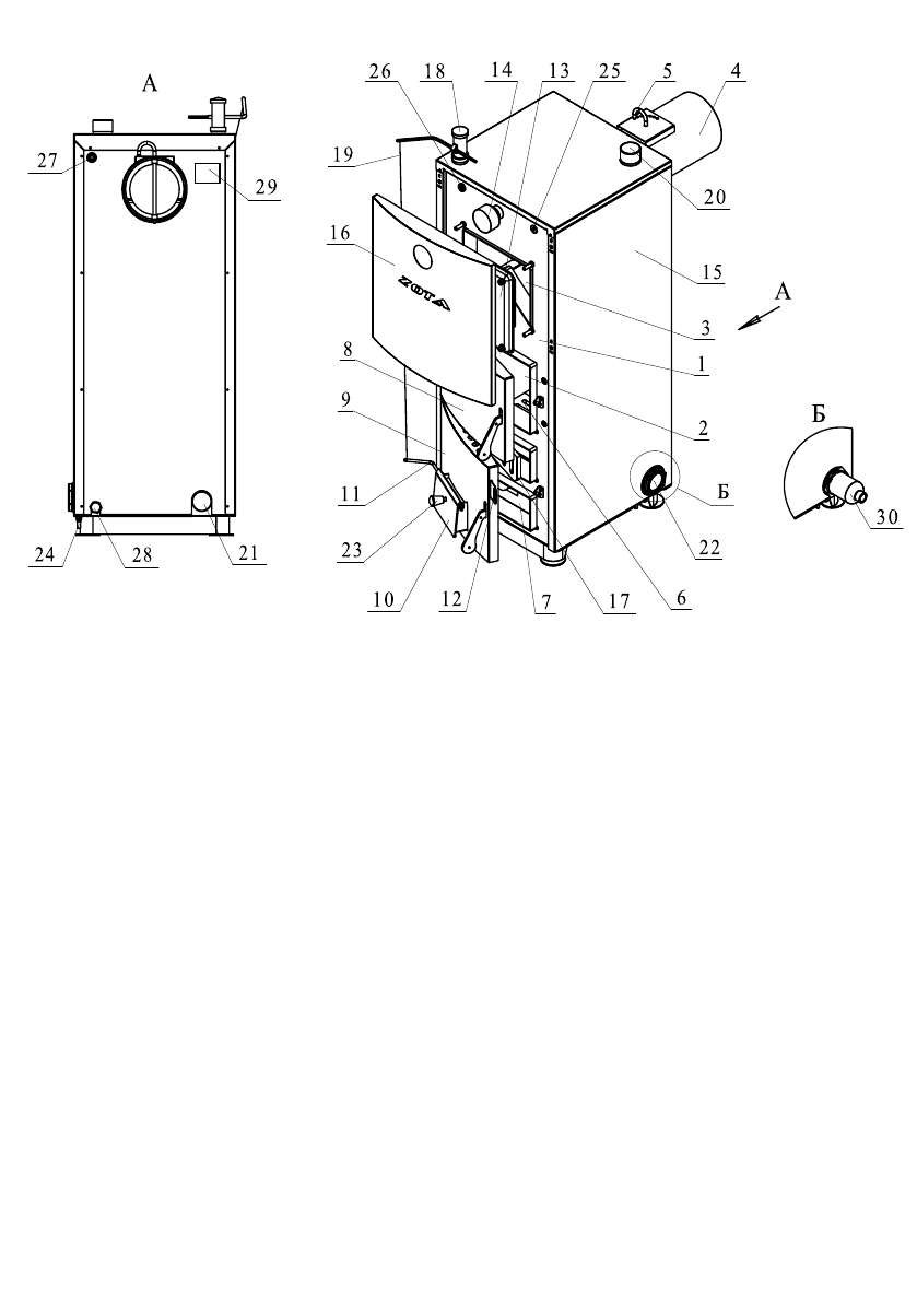
ñòð.8
1 - Коðпуñ коòла
2 - Òопка
3 - Ãазоход
4 - Äымовой паòðубок
5 - Заñлонка
6 - Колоñники
7 - Зольник
8 - Äвеðца загðузочная
9 - Äвеðца шуðовочно-
поддувальная,
10 - Äвеðца воздушная
11 - Рычаг
12 - Шибеð
13 - Кðышка оòðажаòеля
14 - Òеðмоманомеòð
15 - Кожух
16 - Кðышка пеðедняя
17 - Äвеðца шуðовочная
18 - Òягоðегуляòоð
19 - Цепочка
20 - Паòðубок подачи
21 - Паòðубок обðаòки
22 - Заглушка
23 - Ручка
ðегулиðовочная
24 - Áолò заземляющий
25 - Ãильза
для уñòановки
òеðмоогðаничиòеля
26 - Ãильза для
уñòановки даòчика
òемпеðаòуðы
27 - Ãильза для
уñòановки даòчика
пульòа упðавления
28 - Ñливной паòðубок
29 - Наклейка «номеð
коòла».
30 - Áлок ÒЭН
Рис. 1 Котлы КСТ - 20…50, КСТ - 20…50Э





