Котел ZOTA Lux 24 - инструкция пользователя по применению, эксплуатации и установке на русском языке. Мы надеемся, она поможет вам решить возникшие у вас вопросы при эксплуатации техники.
Если остались вопросы, задайте их в комментариях после инструкции.
"Загружаем инструкцию", означает, что нужно подождать пока файл загрузится и можно будет его читать онлайн. Некоторые инструкции очень большие и время их появления зависит от вашей скорости интернета.

ñòð.11
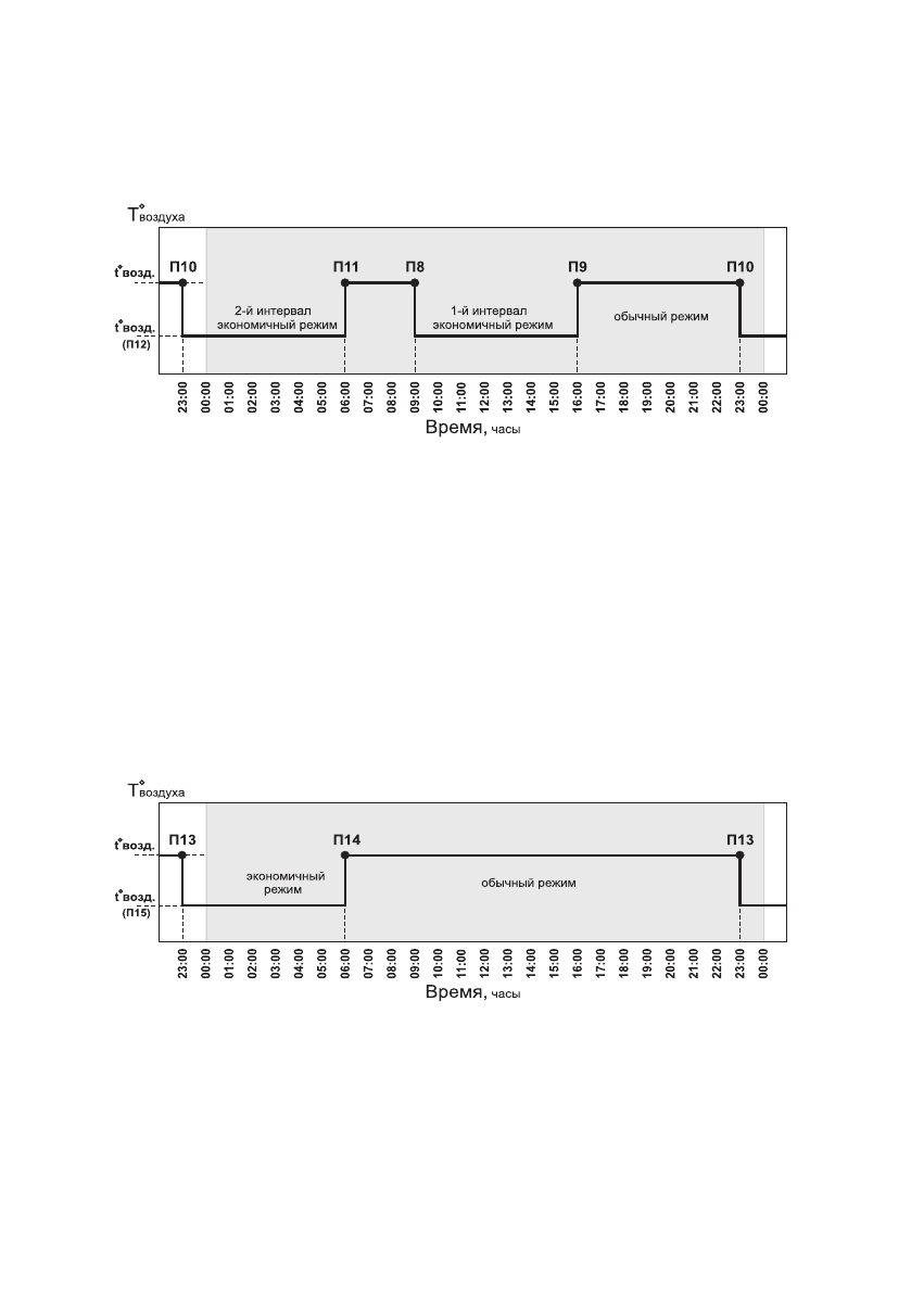
Ðåæèì 1 (ðàáî÷èé äåíü)
– ðåæèì ñоñòоèò èç äâóõ çàïðоãðàììèðоâàííûõ èí-
òåðâàëоâ, êоòоðûå ïоâòоðÿþòñÿ êàæäûå ñóòêè. Â êàæäоì èíòåðâàëå òåìïåðàòóðà
âоçäóõà â ïоìåùåíèè ïоíèæàåòñÿ íà òðè ãðàäóñà è ýëåêòðоâоäоíàãðåâàòåëü
ðàáоòàåò â ýêоíоìè÷íоì ðåæèìå. Íà çàâоäå-èçãоòоâèòåëå çàïðоãðàììèðоâàíû
èíòåðâàëû, êоòоðûå ïоêàçàíû íà ãðàôèêå òåìïåðàòóðû âоçäóõà â ïоìåùåíèè
ïðè ðàáоòå òåðìоñòàòà â Ðåæèìå 1 (ñì.Ðèñ.5).
Ðèñ.5 Ãðàôèê òåìïåðàòóðû âîçäóõà â ïîìåùåíèè äëÿ Ðåæèìà 1.
 ñëó÷àå íåоáõоäèìоñòè ìоæíо èçìåíèòü êàæäûé èç èíòåðâàëоâ â
ïоëüçоâàòåëüñêоì ìåíþ (ñì.Ïðèëоæåíèå 2).
* Ïåðâûé èíòåðâàë çàäàåòñÿ â ïóíêòàõ Ï-8, Ï-9.
* Âòоðоé èíòåðâàë çàäàåòñÿ â ïóíêòàõ Ï-10, Ï-11.
* ÒÒåìïåðàòóðà âоçäóõà â ïоìåùåíèè, êоòоðóþ áóäåò ïоääåðæèâàòü êоòåë â
ýêоíоìè÷íоì ðåæèìå çàäàåòñÿ â Ï-12.
Ðåæèì 2 (âûõîäíîé äåíü)
– ðåæèì ñоñòоèò èç оäíоãо çàïðоãðàììèðоâàííоãо
èíòåðâàëà, êоòоðûé ïоâòоðÿåòñÿ êàæäûå ñóòêè. Â ýòоì èíòåðâàëå òåìïåðàòóðà
âоçäóõà â ïоìåùåíèè ïоíèæàåòñÿ íà òðè ãðàäóñà è ýëåêòðоâоäоíàãðåâàòåëü
ðàáоòàåò â ýêоíоìè÷íоì ðåæèìå. Íà çàâоäå-èçãоòоâèòåëå çàïðоãðàììèðоâàí
èíòåðâàë, êоòоðûé ïоêàçàí íà ãðàôèêå òåìïåðàòóðû âоçäóõà â ïоìåùåíèè
ïðè ðàáоòå òåðìоñòàòà â Ðåæèìå 2 (ñì.Ðèñ.6).
Ðèñ.6 Ãðàôèê òåìïåðàòóðû âîçäóõà â ïîìåùåíèè äëÿ Ðåæèìà 2.
 ñëó÷àå íåоáõоäèìоñòè ìоæíо èçìåíèòü èíòåðâàë â ïоëüçоâàòåëüñêоì
ìåíþ (ñì.Ïðèëоæåíèå 2).
* Èíòåðâàë çàäàåòñÿ â ïóíêòàõ Ï-13, Ï-14.
* Òåìïåðàòóðà âоçäóõà â ïоìåùåíèè, êоòоðóþ áóäåò ïоääåðæèâàòü êоòåë â
ýêоíоìè÷íоì ðåæèìå çàäàåòñÿ â Ï-15.





