Котел ZOTA Енисей 18кВт EN4588140018 - инструкция пользователя по применению, эксплуатации и установке на русском языке. Мы надеемся, она поможет вам решить возникшие у вас вопросы при эксплуатации техники.
Если остались вопросы, задайте их в комментариях после инструкции.
"Загружаем инструкцию", означает, что нужно подождать пока файл загрузится и можно будет его читать онлайн. Некоторые инструкции очень большие и время их появления зависит от вашей скорости интернета.

стр. 11
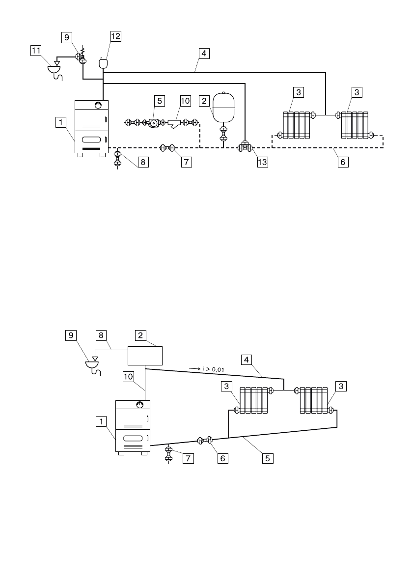
1 - Аппарат
2 - Расширительный бак открытого
типа
3 - Приборы отопительные
4 - Подающий трубопровод
5 - Циркуляционный насос
6 - Обратный трубопровод
7 - Краны системы отопления
Рис.4 Схема закрытой системы отопления
1 - Аппарат
2 - Расширительный бак открытого
типа
3 - Приборы отопительные
4 - Подающий трубопровод
5 - Обратный трубопровод
Рис.5 Схема открытой системы отопления
8 - Кран слива теплоносителя из
системы
9 - Предохранительный клапан
10 - Фильтр отстойник
11 - Слив в канализацию
12 - Автоматический
воздухоотводчик
13 - Термосмесительный клапан
6 - Кран системы отопления
7 - Кран слива теплоносителя из
системы
8 - Перелив
9 - Слив в канализацию
10 - Разгонный участок
Содержание
- 4 УВАЖАЕМЫЙ ПОКУПАТЕЛЬ!
- 6 влажности и температуры топлива.; Таблица 2; * Поставляется по отдельному заказу
- 9 Рис.1 Конструкция отопительного аппарата; На правой стенке корпуса аппарата в специальное отверстие можно
- 11 Рис.3 Варианты установки дымовой трубы
- 15 Таблица 4; мм; бездымное топливо
- 19 Ежегодно или по окончанию отопительного сезона:
- 23 Свидетельство о приемке и продаже; признан годным для эксплуатации.





