Котел ZOTA Енисей 14кВтd=120 EN - инструкция пользователя по применению, эксплуатации и установке на русском языке. Мы надеемся, она поможет вам решить возникшие у вас вопросы при эксплуатации техники.
Если остались вопросы, задайте их в комментариях после инструкции.
"Загружаем инструкцию", означает, что нужно подождать пока файл загрузится и можно будет его читать онлайн. Некоторые инструкции очень большие и время их появления зависит от вашей скорости интернета.

стр. 10
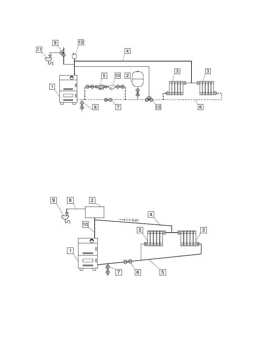
1 - Котел
2 - Бак расширительный закрытого типа
3 - Приборы отопительные
4 - Подающий трубопровод
5 - Циркуляционный насос
6 - Обратный трубопровод
7 - Краны системы отопления
Рис.4 Схема закрытой системы отопления
1 - Котел
2 - Бак расширительный открытого типа
3 - Приборы отопительные
4 - Подающий трубопровод
5 - Обратный трубопровод
Рис.5 Схема открытой системы отопления
8 - Кран слива теплоносителя из системы
9 - Предохранительный клапан
10 - Фильтр отстойник
11 - Слив в канализацию
12 - Автоматический воздухоотводчик
13 - Термосмесительный клапан
6 - Кран системы отопления
7 - Кран слива теплоносителя из системы
8 - Перелив
9 - Слив в канализацию
10 - Разгонный участок





