Котел Viadrus Hercules U22С-3 - инструкция пользователя по применению, эксплуатации и установке на русском языке. Мы надеемся, она поможет вам решить возникшие у вас вопросы при эксплуатации техники.
Если остались вопросы, задайте их в комментариях после инструкции.
"Загружаем инструкцию", означает, что нужно подождать пока файл загрузится и можно будет его читать онлайн. Некоторые инструкции очень большие и время их появления зависит от вашей скорости интернета.

10
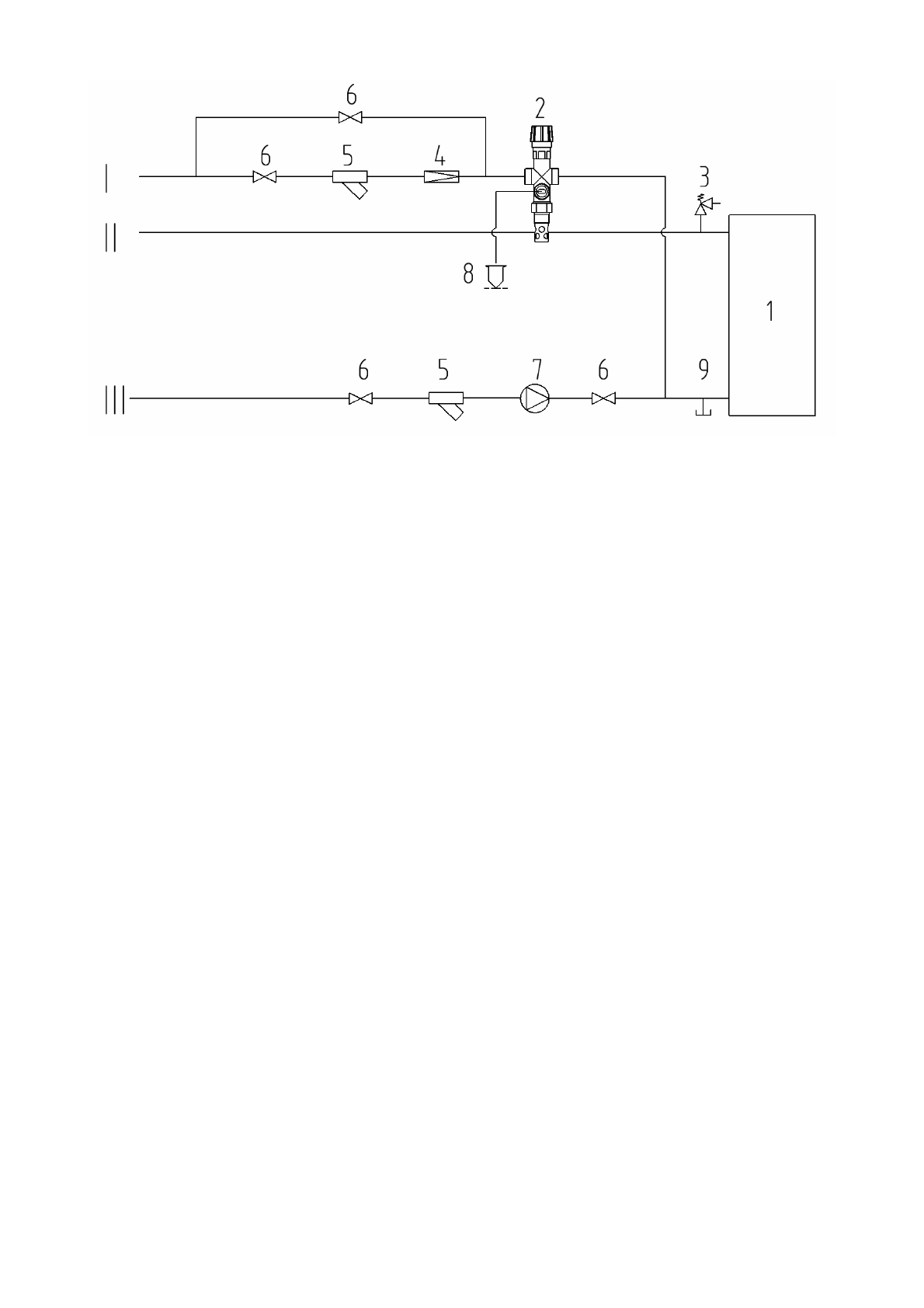
1 – K
e
2 –
xx
.
DBV 1 – 02
3 –
x
4 –
5 –
6 –
7 –
8 –
9 –
I – x
x
II –
x
III – x
. 6
x
xx
DBV 1 - 02
Tex
xx
DBV 1 – 02 (Regulus)
(
):
100 °C (+0° - 5 °C)
Ma
: 120
°C
Ma
.
: 400
a
Ma
.
: 600
a
x
U
p 100
a: 1,9
3
/
xx
DBV 1 – 02
.
x
,
.
-
x
.
.
!
x
.
xx
,
,
Č
SN 077401,
x
,
.
.
xx
x
,
x
.
x
x
,
x
.
x
,
3/4“ ,
,
,
.
„C“ (
.
. 5)
,
.
„A“
(
.
. 5)
. 6
x
,
x
.
x
x






