Котел Termica GRATA 18F 18 кВт - инструкция пользователя по применению, эксплуатации и установке на русском языке. Мы надеемся, она поможет вам решить возникшие у вас вопросы при эксплуатации техники.
Если остались вопросы, задайте их в комментариях после инструкции.
"Загружаем инструкцию", означает, что нужно подождать пока файл загрузится и можно будет его читать онлайн. Некоторые инструкции очень большие и время их появления зависит от вашей скорости интернета.

17
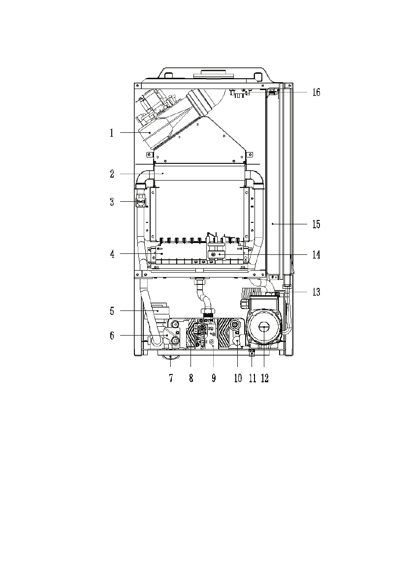
3.6. Внутреннее устройство изделия
рис.2
1. Вентилятор дымоотвода
9. Газовый клапан
2. Теплообменник
10. Правый гидроблок
3. Термостат перегрева
11. Сливной клапан
4. Горелка
12. Циркуляционный насос
5. Трехходовой клапан с приводом
13. Предохранительный клапан
6. Левый гидроблок
14. Электроды розжига/ионизации
7. Манометр
15. Расширительный бак
8. Теплообменник ГВС
16. Прессостат
Содержание
- 5 Проверка входного динамического давления газа
- 7 БЕЗОПАСНОСТЬ; • соблюдение всех приведённых в руководствах условий выполнения
- 9 предприятие газоснабжения.
- 10 Опасность получения травмы при транспортировке; • постоянно следите, чтобы подаваемый воздух на горение не был за-; Опасность для жизни вследствие модифицирования изде-; целостность и не удаляйте пломбы с компонентов.
- 11 ную безопасность изделия.; Опасность ошпаривания горячей водопроводной водой; листа для устранения неисправностей или повреждений
- 12 ДОКУМЕНТАЦИЯ; эксплуатации и монтажу, прилагаемых к компонентам системы!; ОПИСАНИЕ ИЗДЕЛИЯ; Маркировка изделия единым знаком обращения на рынке госу-
- 15 Таблица 1; GRATA
- 16 Габариты и присоединительные размеры аппарата; Таблица 2; Обозначение
- 19 Диаграмма характеристик циркуляционного насоса; • функция Anti-frost (при понижении температуры теплоносителя ≤1°C,
- 20 Таблица 3; Наименование кнопки
- 21 Интерфейс жидкокристаллического дисплея; Таблица 4; ние
- 24 Горизонтальная линия
- 28 Принципиальная электрическая схема котла
- 30 Установка коаксиальной системы для отвода дымовых га-; Если для использования с котлом была выбрана коаксиальная систе-
- 31 Фланец трубы дымоотвода; • конец трубы для выброса продуктов сгорания/забора воздуха для го-
- 32 Установка дополнительных удлиненний для отвода дымо-; В зависимости от фактического места установки котла можно стол-; Удлинение трубы дымоотвода
- 36 фактической длине трубы дымоотвода выберите вариант установки:; Установлено ли ограничительное кольцо; Схема установки ограничительного кольца:; ПРОБНЫЙ ПУСК ОБОРУДОВАНИЯ; лизированной сервисной организацией
- 37 Водородный показатель PH; • если жесткость исходной воды превышает 4 мг-экв/л, необходимо
- 39 Повторяйте вышеперечисленные этапы до тех пор, пока даление в
- 40 НАСТРОЙКА ПАРАМЕТРОВ КОТЛА; метр
- 41 ОСМОТР И ТЕХНИЧЕСКОЕ ОБСЛУЖИВАНИЕ; Техническое обслуживание (ТО) - важная составляющая обеспечения
- 43 и технического обслуживания, приведен в таблице 6:; Перечень операций
- 44 управления и снять переднюю крышку.
- 45 КОДЫ НЕИСПРАВНОСТЕЙ; Коды неисправностей и методы решения проблем приведены ниже; Коды
- 46 РУКОВОДСТВО ДЛЯ ПОЛЬЗОВАТЕЛЯ













