Котел RODA KRAFTER R MOD 60 УТ000007300 - инструкция пользователя по применению, эксплуатации и установке на русском языке. Мы надеемся, она поможет вам решить возникшие у вас вопросы при эксплуатации техники.
Если остались вопросы, задайте их в комментариях после инструкции.
"Загружаем инструкцию", означает, что нужно подождать пока файл загрузится и можно будет его читать онлайн. Некоторые инструкции очень большие и время их появления зависит от вашей скорости интернета.

24
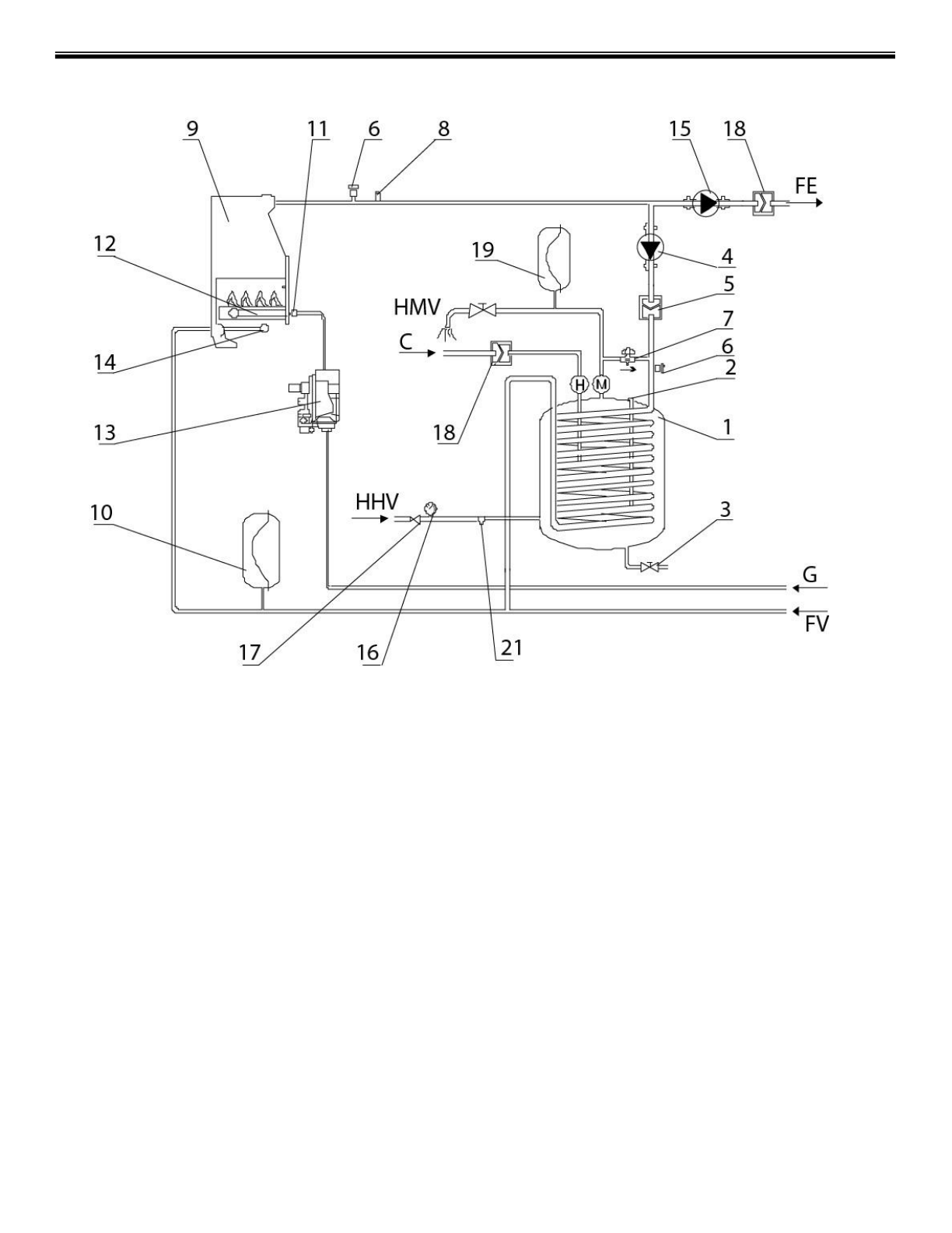
РЕКОМЕНДОВАННАЯ СХЕМА СОЕДИНЕНИЯ КОТЛА KRAFTER RMOD И БОЙЛЕРА
1 - Бойлер
2 - Магниевый анод
3 -Сливной кран
4 - Насос бойлера ГВС
5 - Обратный клапан
6 - Клапан удаления воздуха
7 - Кран подпитки системы отопления
8 - Предохранительный сбросной клапан на 3 бар
9 - Теплообменник котла
10 - Закрытый расширительный бак
11 – Газовый коллектор форсунок
12 - Газовая горелка
13 – Газовый клапан
14 - Сливной кран отопления
15 - Циркуляционный насос системы отопления
16 - Манометр
17 - Редуктор холодной воды
18 - Обратный клапан
19 - Расширительный бак горячего водоснабжения
21 - Комбинированный аварийный клапан на 6 бар
FE - Подача отопления
FV - Возврат отопления
G - Газопровод
HHV - Трубопровод холодной водопроводной воды
HМV - Трубопровод горячей санитарной воды
C - Трубопровод рециркуляции горячей воды.
Содержание
- 2 Содержание
- 3 ТЕХНИЧЕСКОЕ РЕГУЛИРОВАНИЕ
- 5 ОПИСАНИЕ ЭЛЕКТРОСИСТЕМЫ
- 6 ТЕХНИЧЕСКИЕ ХАРАКТЕРИСТИКИ RÖDA KRAFTER RMOD
- 7 ТЕХНИЧЕСКИЕ ХАРАКТЕРИСТИКИ RÖDA KRAFTER BMOD
- 12 ИНСТРУКЦИЯ ПО ОБСЛУЖИВАНИЮ; Панель управления; в зависимости от модели могут быть с автоматической
- 14 Режим отопления; Модуляции мощности
- 15 Защита от замерзания
- 20 Подключение электропитания; Заземление котла обязательно!; Подключение к дымоходу
- 22 ПРИНЦИПИАЛЬНАЯ СХЕМА РАБОТЫ KRAFTER RMOD
- 23 ПРИНЦИПИАЛЬНАЯ СХЕМА РАБОТЫ KRAFTER BMOD
- 24 РЕКОМЕНДОВАННАЯ СХЕМА СОЕДИНЕНИЯ КОТЛА KRAFTER RMOD И БОЙЛЕРА
- 26 МИКРОПЕРЕКЛЮЧАТЕЛИ ПЛАТЫ УПРАВЛЕНИЯ
- 27 ПРОГРАММИРОВАНИЕ ЭЛЕКТРОННОЙ ПЛАТЫ КОТЛА












